EasyManua.ls Logo

KRHÜNER 60023 - How to Assemble; Assembly Steps

KRHÜNER 60023
Print Icon
To Next Page IconTo Next Page
To Next Page IconTo Next Page
To Previous Page IconTo Previous Page
To Previous Page IconTo Previous Page
Loading...
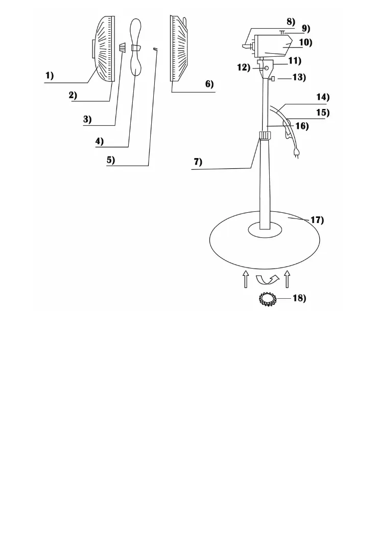
1. Front grille 2. Plasc rim 3. Blade cap
4. Fan blade 5. Screw 6. Back grille
7. Height adjustment knob 8. Motor sha 9. Oscillang buon
10. Motor housing 11. On/o box 12. Speed knob
13. Tilt adjustment screw 14. Thumbscrew 15. Power cord
16. Extension pipe 17. Stand 18. Plasc nut
HOW TO ASSEMBLE
1. Unscrew the plasc nut from the column, put the column into the base and ghten
the plasc nut. Extend the extension pipe fully by loosening the height adjustment knob.
2. Put the on/o box into the pipe and ghten the thumb screw.
3. Unscrew the blade cap and the plasc nut on the motor sha.
4. Set the back grill in the proper posion with the handle up.
5. Screw the back grill on the motor.
6. Install the blade onto the sha unl it reaches the retaining pin.
7. Screw the blade cap onto the motor sha to ghten the blade.

Related product manuals