EasyManua.ls Logo

Kroll T 30 - Method of Operation; Refrigeration SystéM; Principe de Fonctionnement Déshumidification; Schéma Circuit de

Kroll T 30
20 pages
Print Icon
To Next Page IconTo Next Page
To Next Page IconTo Next Page
To Previous Page IconTo Previous Page
To Previous Page IconTo Previous Page
Loading...
T 30
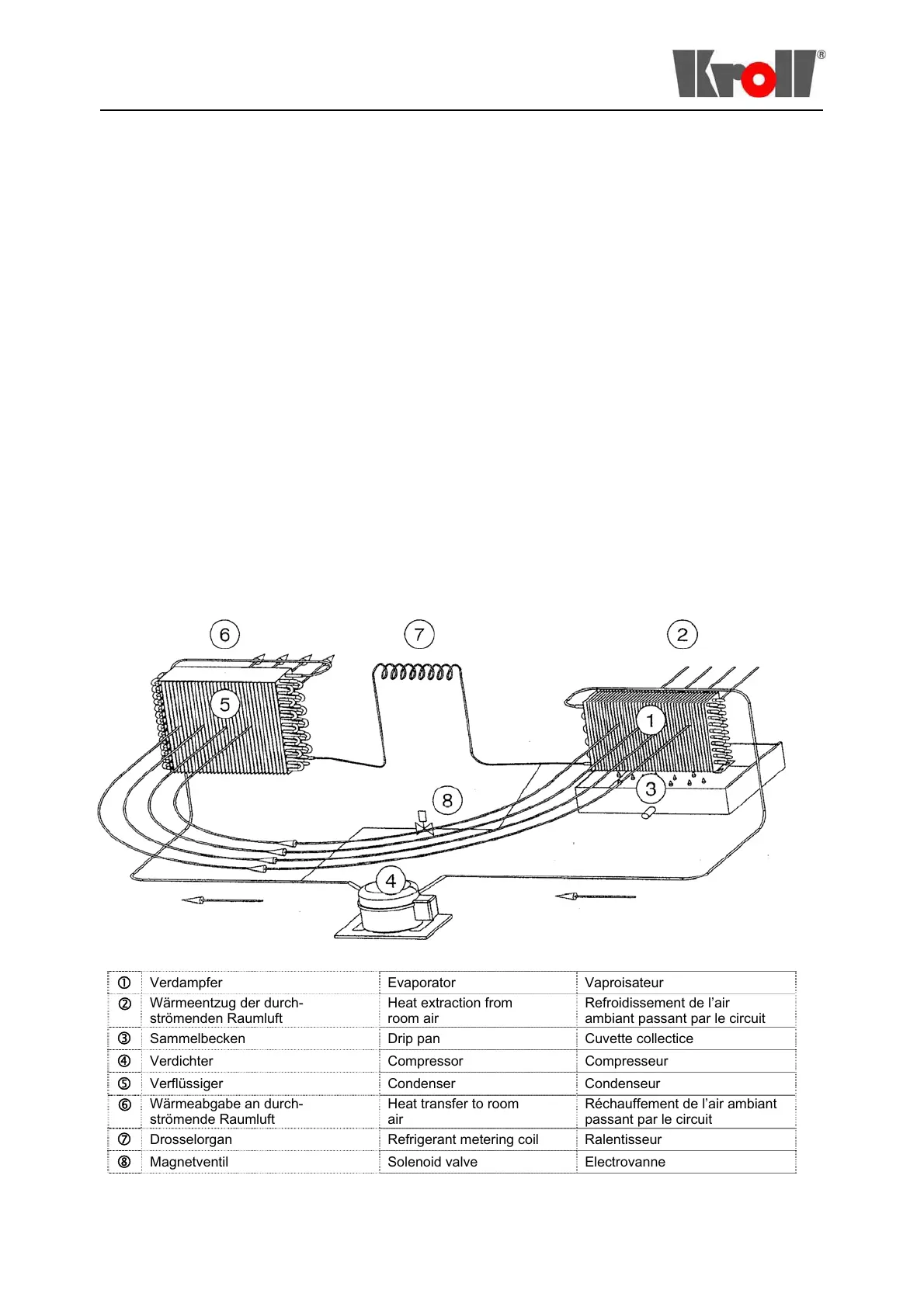
Funktion
Luftentfeuchter
Das Gerät arbeitet vollautomatisch.
Der Betriebszustand wird durch die
Leuchtdioden angezeigt.
Die angesaugte, feuchte Raumluft
durchströmt den Verdampfer und wird
abgekühlt. An den Kühlflächen des
Verdampfers kondensiert der in der
feuchten Raumluft enthaltene
Wasserdampf.
Die entstehenden Wassertropfen,
fallen in den Auffangbehälter. Beim
Durchströmen des Verflüssigers
wird die abgekühlte, getrocknete
Raumluft wieder erwärmt.
Bei richtiger Anwendung ist der
Energieverbrauch nur ca 30 %
gegenüber der Trocknung durch
Heizen.
Schema
Kältekreislauf
Method of operation
Dehumidifier
The device operates automatically.
Used mode has been shown by
indicators.
Moist air in the room is drawn into
the appliance and flows through the
evaporator, where it is cooled. Wa-
ter vapour in the air condenses on the
evaporator cooling surfaces and falls
as water droplets into the drip pan.
The cool, dry air is reheated as it
flows through the condenser
.
When used correctly the consump-
tion of energy is about 30% of that
used by drying through heating.
Diagram
Refrigeration system
Principe de fonctionnement
Déshumidification
L´appareil travile automatiqment.Le
mode de fonctionnement est indiqué
par les lampes-témoins.
L’air ambiant humide aspiré traver-
se le vaporisateur et il est refroidi.
La vapeur d’eau se trouvant dans l’air
ambiant humide est condensée sur
les parois réfrigérantes du va-
porisateur.
Des gouttes d’eau qui se forment
retombent dans le bac collecteur.
En traversant le condenseur, l’air
séché refroidi est réchauffé à
nouveau.
Si le déshumidificateur est utilisé
correctement, la consommation de
l’énergie n’est que de 30% de celle
qu’exige la déshumidification par
chauffage.
Schéma
Circuit de refroidissement
c
Verdampfer Evaporator Vaproisateur
d
Wärmeentzug der durch-
strömenden Raumluft
Heat extraction from
room air
Refroidissement de l’air
ambiant passant par le circuit
e
Sammelbecken Drip pan Cuvette collectice
f
Verdichter Compressor Compresseur
g
Verflüssiger Condenser Condenseur
h
Wärmeabgabe an durch-
strömende Raumluft
Heat transfer to room
air
Réchauffement de l’air ambiant
passant par le circuit
i
Drosselorgan Refrigerant metering coil Ralentisseur
j
Magnetventil Solenoid valve Electrovanne
5

Related product manuals