EasyManua.ls Logo

Kubota WG972-E2 - FUEL SYSTEM; GENERAL

Kubota WG972-E2
138 pages
Print Icon
To Next Page IconTo Next Page
To Next Page IconTo Next Page
To Previous Page IconTo Previous Page
To Previous Page IconTo Previous Page
Loading...
M-14
WG972-E2, DF972-E2, WSM
GASOLINE / LPG ENGINE
5. FUEL SYSTEM
[1] GENERAL
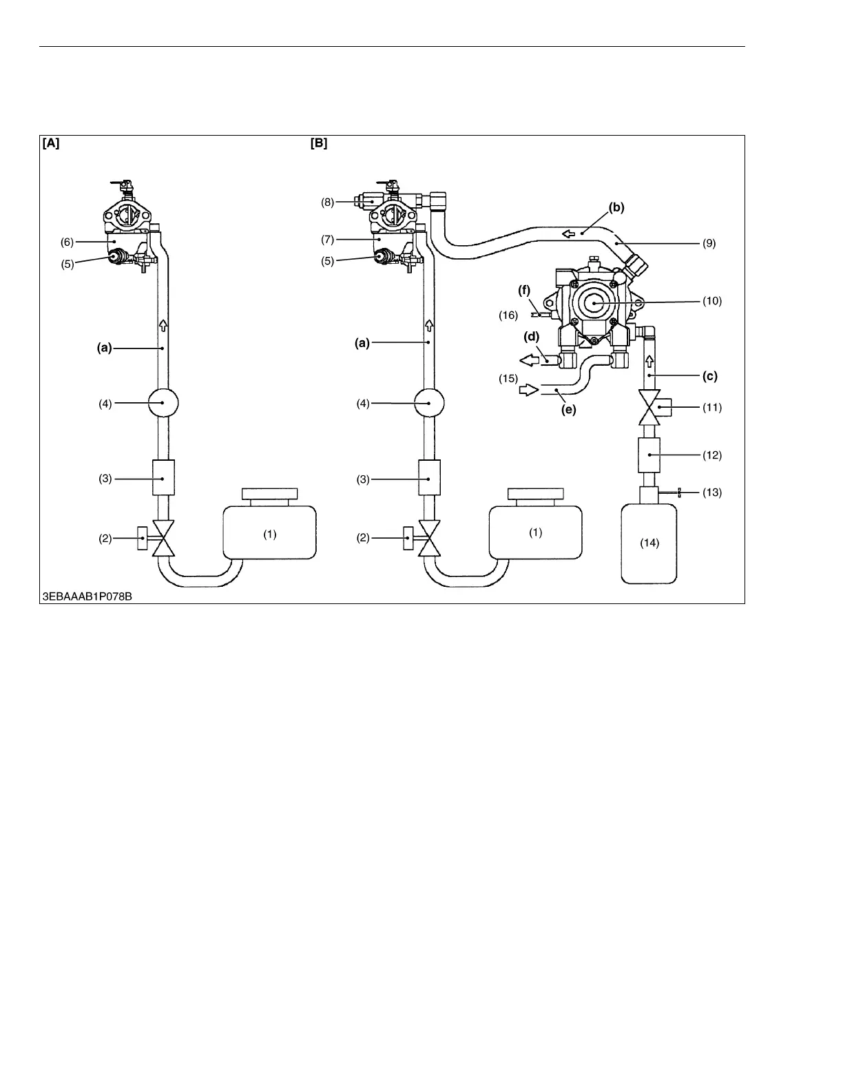
WG972-E2:
The fuel is fed from the fuel tank (1) through the fuel filter (3) to the carburetor (6) by the fuel feed pump (4).
DF972-E2:
This fuel system has 2 ways. Gasoline fuel is the same as WG972-E2.
For LPG fuel, the liquid fuel stored in the LPG tank (4) is sent to vaporizer (10) by pressure in the gaseous phase
in the tank through the fuel filter (12) and shut off valve (11).
The liquid fuel is evaporated in vaporizer and is sent to the DF Carburetor (7) as a gaseous fuel of gas pressure
near the atmospheric pressure. The DF carburetor (7) mixes the gas and air is supplied in the cylinder.
(1) Gasoline Tank*
(2) Gasoline Cock*
(3) Fuel Filter
(4) Fuel Feed Pump
(5) Gasoline Cut Off Solenoid
(6) Carburetor
(7) DF Carburetor
(8) LPG Cut Off Solenoid
(9) Vapor Hose*
(10) Vaporizer / Regulator
(11) LPG Shut Off Valve*
(12) LPG Filter*
(13) LPG Manual Valve*
(14) LPG Tank*
(15) Water Hose*
(16) Vacuum Hose*
(a) Gasoline Line
(b) Gaseous Propane Line
(c) Liquid Propane Line
(d) Hot Coolant Out Line
(e) Hot Coolant In Line
(f) Vacuum Line
[A] WG972-E2
[B] DF972-E2
Component Marked * Is Not
Provided by KUBOTA
KiSC issued 01, 2006 A

Table of Contents