EasyManua.ls Logo

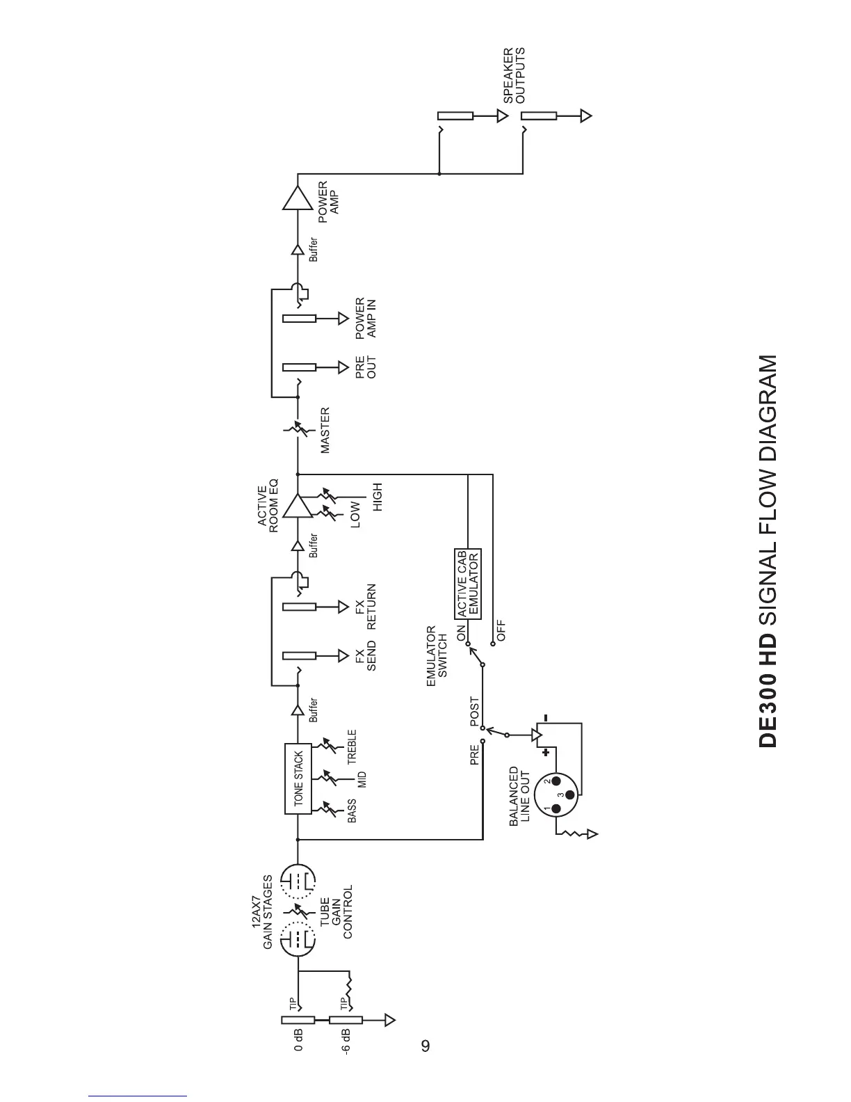
Kustom DE300 HD - Signal Flow Diagram

Kustom DE300 HD
12 pages
Print Icon
To Next Page IconTo Next Page
To Next Page IconTo Next Page
To Previous Page IconTo Previous Page
To Previous Page IconTo Previous Page
Loading...

Related product manuals