EasyManua.ls Logo

La Gard 3715 - 8130 ENTRY DEVICES MOUNTING TEMPLATE

Default Icon
13 pages
Print Icon
To Next Page IconTo Next Page
To Next Page IconTo Next Page
To Previous Page IconTo Previous Page
To Previous Page IconTo Previous Page
Loading...
(P/N)762.128RevBEN05/10•©copyright2009-2010 Kaba Mas LLC
page3
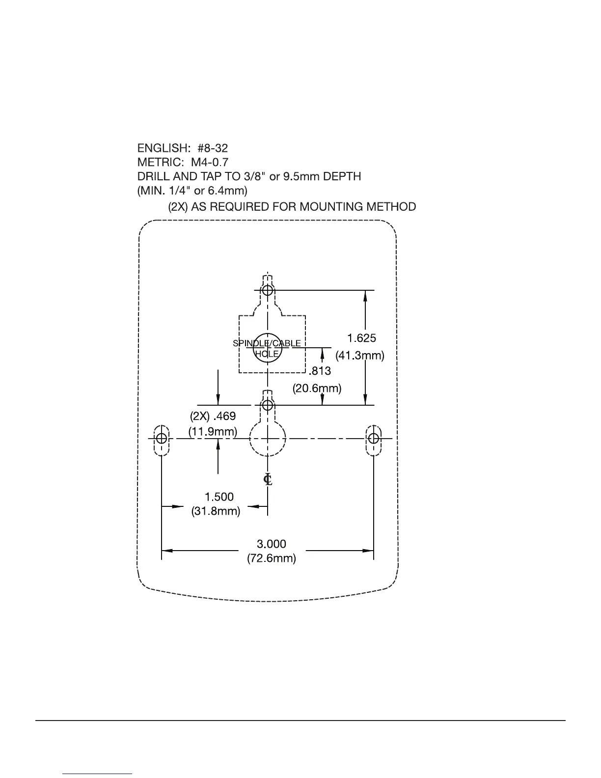
8130 ENTRY DEVICES MOUNTING TEMPLATE
DO NOT SCALE

Related product manuals