EasyManua.ls Logo

Labounty MSD Series - Page 47

Labounty MSD Series
52 pages
Print Icon
To Next Page IconTo Next Page
To Next Page IconTo Next Page
To Previous Page IconTo Previous Page
To Previous Page IconTo Previous Page
Loading...
MSD Legend Series Operation & Maintenance Manual | 47
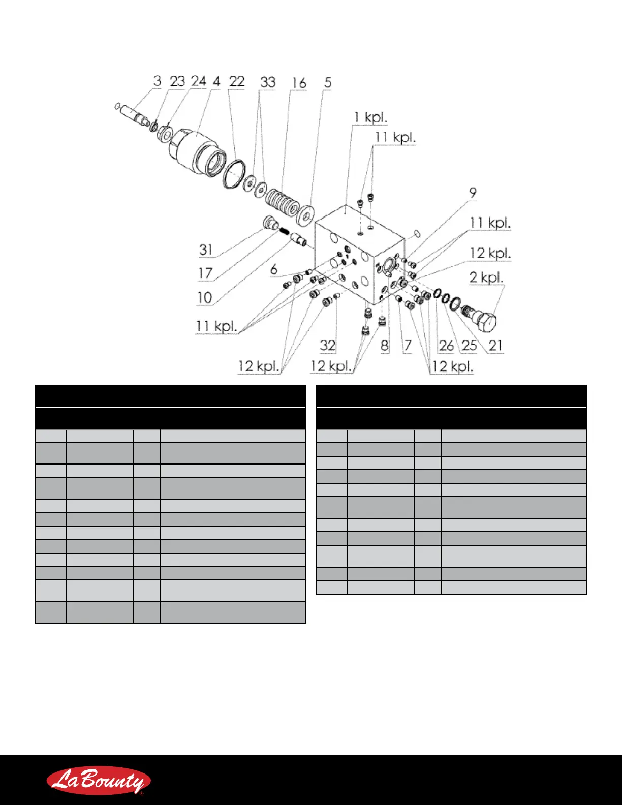
Pilot Valve Assembly
Pilot Valve Assembly
Item Part Number Qty Description
1 512316 1 Housing
2 512317 1 Valve Seat
Torque to 73 ft. lbs. (100 Nm)
3 511555 1 Thread Pin - M12 x 50
4 512318 1 Spring Cap
Torque to 162 ft. lbs. (220 Nm)
5 511558 1 Washer - D30 x 5
6 512319 1 Orifice - D1 M6 x 8
7 512320 2 Orifice - D1.2 M6 x 8
8 512321 1 Orifice - D0.5 M6 x 8
9 512322 1 Orifice - D1 M5 x 6
10 511562 1 Valve Seat - D10.1 x 23
11 512323 8 Cap Screw - M5
Torque to 1.5 ft. lbs. (2 Nm)
12 511514 10 Cap Screw - M8 x 1
Torque to 7.5 ft. lbs. (10 Nm)
Pilot Valve Assembly
Item Part Number Qty Description
16 512324 1 Spring
17 511565 1 Spring
21 511507 1 O-Ring - 15.4 x 2.1
22 512325 1 O-Ring - 36.2 x 3
23 511505 1 Thread Seal Ring - M12
24 511504 1 Seal Nut - M12
Torque to 22 ft. lbs. (30 Nm)
25 511508 1 Quad ring - 10.82 x 1.78
26 511509 1 Support Ring
31 511563 1 Cap Screw - M12 x 1.5
Torque to 18 ft. lbs. (25 Nm)
32 512326 1 Thread Pin - M6 x 8
33 511556 2 Washer - B7.4

Other manuals for Labounty MSD Series

Related product manuals