EasyManua.ls Logo

lamber 01FEKS - Page 9

lamber 01FEKS
33 pages
Print Icon
To Next Page IconTo Next Page
To Next Page IconTo Next Page
To Previous Page IconTo Previous Page
To Previous Page IconTo Previous Page
Loading...
12
OFF
A
B
Dis.1
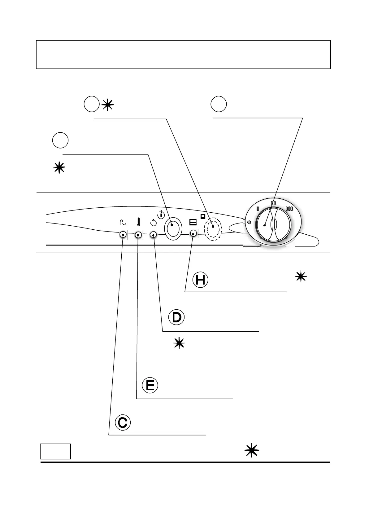
PANNELLO COMANDI EMPLOI CONTROLES
CONTROL PANEL STEUERTAFEL
.
.
OPTIONAL
Pulsante ciclo
Bouton cycle
Cycle pushbutton
Programmdrucktaste
R
Interruttore generale
Interrupteur général
Main switch
Hauptschalter
Selettore tempo lavaggio
Selecteur temps de lavage
Wash time selection
Programmwahlschalter
Lampada linea
Lampe indicatrice de ligne
Main switch lamp
Netzkontrollampe
Lampada ciclo
Lampe indicatrice de cycle
Cycle lamp
Programmkontrollampe
Lampada temperatura
Lampe témperature
Temperature lamp
Temperaturekontrollampe
Pompa di scarico
Pompe de vidange
Drain pumpe
Ablaufpumpe
Lampada pompa scarico
Lampe pompe de vidange
Drain pump
Ablaufpumpe Kontrollampe
Lampada addolcitore
Lampe adoucisseur
Water softener lamp
Kontrollampe für Reinigung
Depuratore
Adoucisseur
Water Softener
Reinigungsapparat

Related product manuals