EasyManua.ls Logo

lamber S510 - Wiring Diagram with Drain Pump

lamber S510
21 pages
Print Icon
To Next Page IconTo Next Page
To Next Page IconTo Next Page
To Previous Page IconTo Previous Page
To Previous Page IconTo Previous Page
Loading...
42
Interruttore generale
Finecorsa
Resistenza boiler
Resistenza vasca
Lampada spia linea
Lampada temperatura
Lampada spia livello e ciclo
Contattore resistenza boiler
Contattore finecorsa
Pressostato
Termostato boiler
Termostato vasca
Termostato di sicurezza
Motorino timer
Timer
Pompa lavaggio
Elettrovalvola carico
Pulsante ciclo
Interruttore pompa scarico
Pompa scarico
Lampada pompa scarico
Dosatore lavaggio
Filtro antidisturbo
Interrupteur général
Microinterrupteur
Résistance Surchauffeur
Résistance Cuve
Lampe de ligne
Lampe témperature
Lampe de cycle
Contacteur rés. surchauffeur
Contacteur Microinterrupteur
Pressostat
Thermostat Surchauffeur
Thermostat Cuve
Thermostat de sureté
Moteur Timer
Timer
Pompe de lavage
Electrovanne chargement
Bouton cycle
Interrup.pompe de vidange
Pompe de vidange
Interrupeteur pompe de vidange
Doseur produit lessiviel
Filtre ante-ennuil
IN
Fc
R1
R2
MT1
MT4
CP
CT1
CT2
CT3
M
T1-T4
PM
Ev1
PC
IPS
PS
LPPS
Dos
LS
LS2
LS4
Ad
IN
Fc
R1
R2
LS
LS2
LS4
MT1
MT4
CP
CT1
CT2
CT3
M
T1-T4
PM
Ev1
PC
IPS
PS
LPPS
Dos
Ad
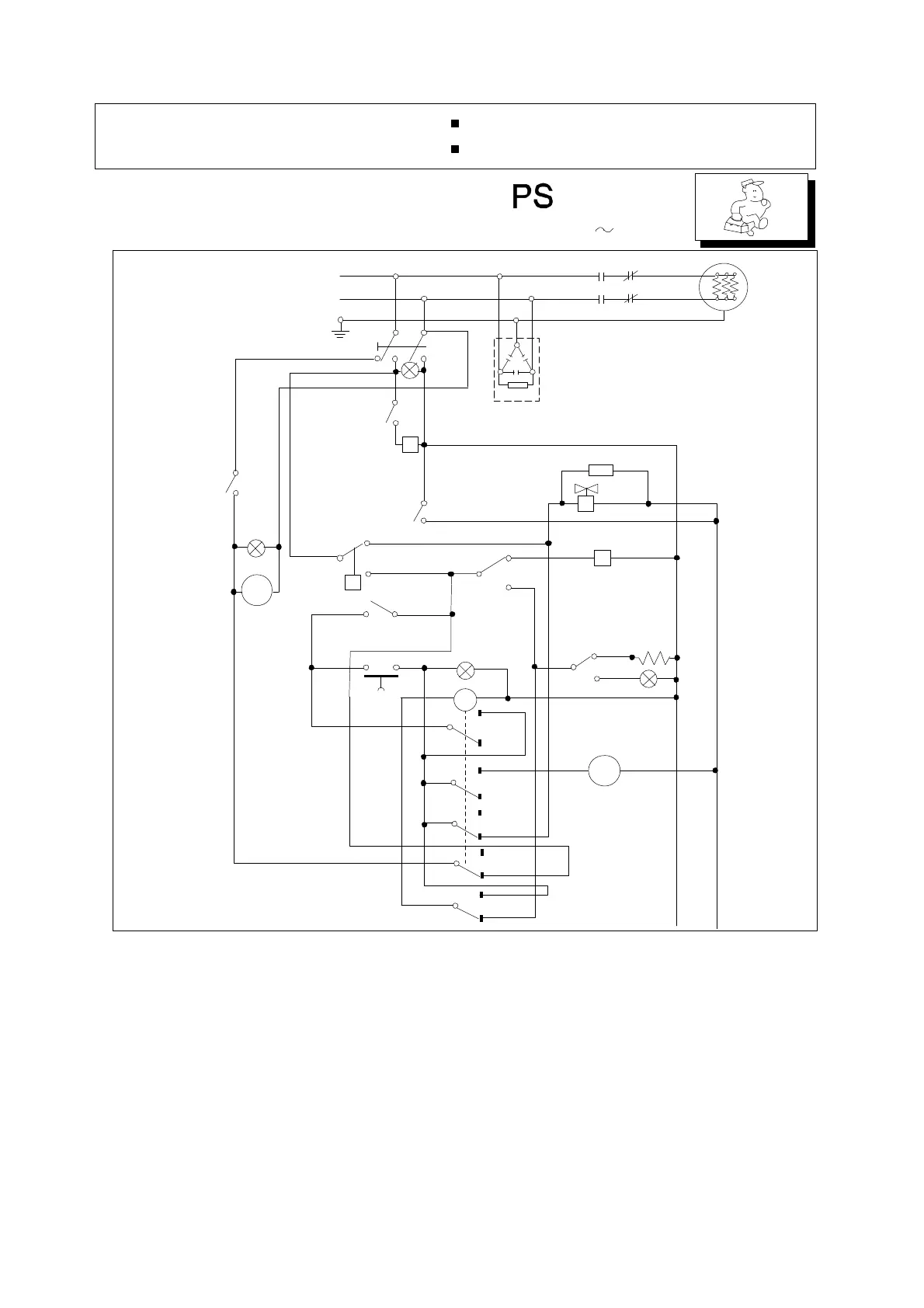
SCHEMA ELETTRICO
SCHALTSCHEMA
SCHEMA ELECTRIQUE
WIRING DIAGRAM
Main switch
Limit switch
Boiler elements
Tank elements
Main switch lamp
temperature elements lamp
Cycle lamp
Boiler elements contactor
Limit switch contactor
Pressure switch
Boiler thermostat
Tank thermostat
Safety thermostat
Timer motor
Timer
Electric pump
Loading solenoid valve
Cycle pushbutton
Drain pump switch
Drain pump
Drain pump lamp
Detergent pump
Suppressor
Hauptschalter
Endschalter
Boilerheizung
Tankheizung
Netzkontrollampe
Temperaturekontrollampe
Zykluskontrollampe
Schütz für Boilerheizung
Schaltrelais Fc
Druckwächter
Boilerthermostat
Tankthermostat
Schützthermostat
Timermotor
Timer
Pumpe
Elektrisches Wassereinlaufventil
Hauptschalter
Ablaufpumpe schalter
Ablaufpumpe
Ablaufpumpelampe
Waschspülmitteldosiergerät
Entstörfilter
T
R
N
MT4
CT3
MT1
R1
MT4
IPS
Fc
MT4
P
M
CT2
EV1
LS4
IN
LS
R2
T1
T2
PC
CT1
CP
LPPS
1
2
18
3
4
5
15
7
8
9
10
17
12
14
19
13
050F-QS-PS-R03-210605
PM
PS
MT1
Ad
230 V 50Hz
T3
T4
T5
Lavabicchieri-Lavevverres
Glasswashers-Gläserspüler
Con pompa scarico
avec pompe de vidange
with drain pumpe
mit Ablaufpumpe
LS2
6
DOS

Other manuals for lamber S510

Related product manuals