EasyManua.ls Logo

LANBO LB36BD - Product Structures; LW33 S Series Structure Diagram

Default Icon
31 pages
Print Icon
To Next Page IconTo Next Page
To Next Page IconTo Next Page
To Previous Page IconTo Previous Page
To Previous Page IconTo Previous Page
Loading...
7
2. Structures
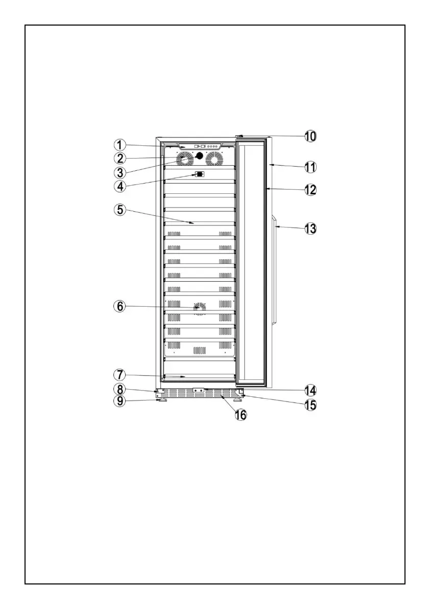
1.LW33S/LW52S/LW155S/LW177S/LW321S structure diagram
(1) Control panel (2) The fan of evaporator (3) Carbon filter (4) Sensor
(5) Full wooden shelf (6) Heating fan (7) Small wooden shelf (8) Prevent
fall device of the door (9) Adjustable feet (10) Upper hinge (11) Glass
door with lock (12) Door gasket (13) Handle (14) Lock hook (15) Lower
hinge (16)The front vent

Related product manuals