EasyManua.ls Logo

lap 172PG - Page 2

lap 172PG
2 pages
Print Icon
To Previous Page IconTo Previous Page
To Previous Page IconTo Previous Page
Loading...
Thank you for purchasing this light fitting. Please read the instructions carefully before use to ensure safe and satisfactory
operation of this product. Please retain these instructions for future reference.
Warning
Layout
Specification
Voltage: 240V 50Hz
Lamp: Max. 1 x 15W LED E27 GLS
IP rating: 44
Plan the desired layout of this fitting carefully,
ensuring the cables will reach the distance between
the junction box and the light fitting.
Avoid locating any cables in positions that would
cause a hazard. Position cables and junction boxes
(not supplied) away from areas where they may be
at risk from being cut, trapped or damaged.
Cables in walls must be protected using suitable
conduit or plastic trunking.
The mains supply cable must have a minimum cross
sectional area of 1.0mm
2.
This product has special protection against the
ingress of moisture and is IP44 rated.
Existing fittings must be completely removed before
installation of a new product. Before removing the existing
fitting, carefully note the position of each set of wires.
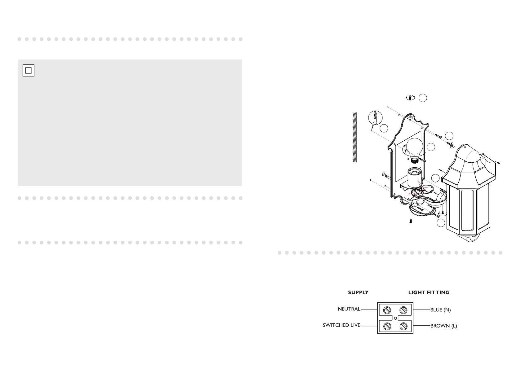
Undo the screw (1) at the top and front of the lantern
and remove the cover. Set them aside for refitting later.
Undo the screw (2) from the plastic base under the
lampholder to remove the plastic base and set them
aside for refit. Hold the rear plate in place and mark
the position of the holes. Ensure that the product is
level. Ensure the wall is capable of holding the weight
of the product. Take care to avoid
damaging any concealed wiring
and pipes. The correct fixings
should be used for brick,
cavity walls or plasterboard.
Pull supply wires through rubber
grommet on wall back then fix
the wall back to the wall using
screws (3) and plugs (4).
Wire as detailed below.
Refit the plastic cover over the terminal block and
secure in place using the screw.
Fit the bulb (5) (Never fit bulbs of a higher wattage
than those specified on the label as these may
cause over heating and damage the fitting).
Refit the screws to fit the lantern cover in place.
Replace fuse or circuit breaker and switch on.
Your light is now ready for use.
Installation
Check that...
You have correctly identified the house wires.
The connections are tight.
No loose strands have been left out of the
connection block.
Wiring
Having correctly identified the wiring from your existing
light fitting, pull the wire through the hole and connect
to the connection block inside the product in the
following way:
This product is Double Insulated and does
not require connection to an Earth circuit.
Please read these instructions carefully before
commencing any work.
This unit must be fitted by a competent and qualified
electrician.
Install in accordance with IEE Wiring regulations and
current Building Regulations.
To prevent electrocution switch off at mains supply
before installing or maintaining this fitting. Ensure
other persons cannot restore the electrical supply
without your knowledge. If you are in any doubt,
please consult a qualified electrician.
This light fitting should be connected to a fused
circuit.
If replacing an existing fitting, make a careful note
of the connections.
Always use the correct type and wattage bulb.
Never exceed the wattage stated.
When changing a bulb, always switch off at the
mains and allow the old bulb to cool down before
handling. Dispose of used bulbs carefully and
responsibly.
Waste electrical products should not be disposed of
with household waste. Please recycle where facilities
exist. Check with your local authority or retailer for
recycling advice.
This product is rated at IP44.
The entire unit gets hot whilst on for a period of time.
L
N
Max. 8M
1-2M
1.7M
1
3
4
5
3
2

Related product manuals