EasyManua.ls Logo

LAS 10317 - Sangles de Serrage Avec Cliquet

LAS 10317
Print Icon
To Next Page IconTo Next Page
To Next Page IconTo Next Page
To Previous Page IconTo Previous Page
To Previous Page IconTo Previous Page
Loading...
12
5.1 SANGLES DE SERRAGE AVEC CLIQUET
Ne posez jamais les crochets et les cliquets à main sur des bords.
Ne rallongez jamais le levier de serrage du cliquet à main pour augmenter les forces de serrage, sauf si cela est explicitement
autorisé.
Pour une xation sûre de la marchandise chargée, enroulez la bande au moins 1,5 fois autour du cliquet. Préserrez
manuellement la sangle de manière à ce que 3 enroulements de bande sur le cliquet à main susent pour serrer la
marchandise chargée.
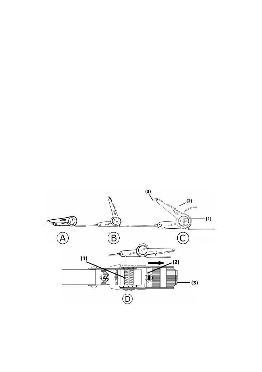
Posez la sangle soigneusement sur les marchandises chargées et insérez l‘extrémité libre de la sangle dans la fente (1).
En eectuant un mouvement de va-et-vient avec la poignée à cliquet (3), vous serrez alors la sangle. (voir g. A, B et C)
Pour sécuriser la marchandise à transporter, mettez la poignée à cliquet (3) en position initiale, g. A.
Pour ouvrir la sangle, tirez le blocage du cliquet (2) vers le haut et poussez la poignée à cliquet (3) vers l‘avant (g. D). Retirez
alors la sangle de la fente (1).
Fixation
Force d‘amarrage autorisée : 250 daN.
Ne posez jamais la sangle sur des bords ou coins vifs.
Les sangles d‘amarrage ne doivent pas être tordues et doivent reposer sur la marchandise sur toute leur largeur.
Il est interdit de placer des charges sur la sangle d‘amarrage.
La sangle ne doit jamais être posée sur une surface brûlante.
Les courroies de tension ne doivent être utilisées que dans les plages de température suivantes:
Polypropylène (PP) : -40°C à +80°C
Polyamid (PA): -40°C à +100°C
Polyester (PES) : -40°C à +120°C
Utilisez toujours 2 sangles que vous posez soit en mode croisé, soit en parallèle.
Les crochets d‘amarrage ne doivent pas être sollicités au niveau de leur pointe, sauf lorsqu‘il s‘agit d‘un crochet spécial adapté
à ce type d‘application.
An d‘empêcher tout décrochage d‘un crochet d‘amarrage non sécurisé de son point de xation sur la surface de
chargement, accrochez-le de l‘intérieur vers l‘extérieur.
Les souillures sur des sangles de serrage en polyamide ou en polyester peuvent être éliminées avec des solvants du
commerce. La sangle de serrage doit entièrement sécher. Si vous utilisez des solvants du commerce, respectez les
prescriptions en vigueur (p. ex. la che technique relative aux hydrocarbures chlorés ZH 1/194).