EasyManua.ls Logo

Laurus LCF60 - Installation and Preparation for Use; Instructions for the Installer; Appliance Installation Dimensions

Default Icon
Print Icon
To Next Page IconTo Next Page
To Next Page IconTo Next Page
To Previous Page IconTo Previous Page
To Previous Page IconTo Previous Page
Loading...
EN - 9
2. INSTALLATION AND
PREPARATION FOR USE
WARNING : This appliance must be
installed by an authorised service
person or qualified technician, according to
the instructions in this guide and in
compliance with the current local
regulations.
Incorrect installation may cause harm
and damage, for which the manufacturer
accepts no responsibility and the
warranty will not be valid.
Prior to installation, ensure that the local
distribution conditions (electricity voltage
and frequency) and the adjustments
of the appliance are compatible. The
adjustment conditions for this appliance
are stated on the label.
The laws, ordinances, directives and
standards in force in the country of use
are to be followed (safety regulations,
proper recycling in accordance with the
regulations, etc.).
2.1 inStruCtionS for the inStaller
General instructions
After removing the packaging material
from the appliance and its accessories,
ensure that the appliance is not
damaged. If you suspect any damage,
do not use it and contact an authorised
service person or qualified technician
immediately.
Make sure that there are no flammable
or combustible materials in the close
vicinity, such as curtains, oil, cloth etc.
which may catch fire.
The worktop and furniture surrounding
the appliance must be made of
materials resistant to temperatures
above 100°C.
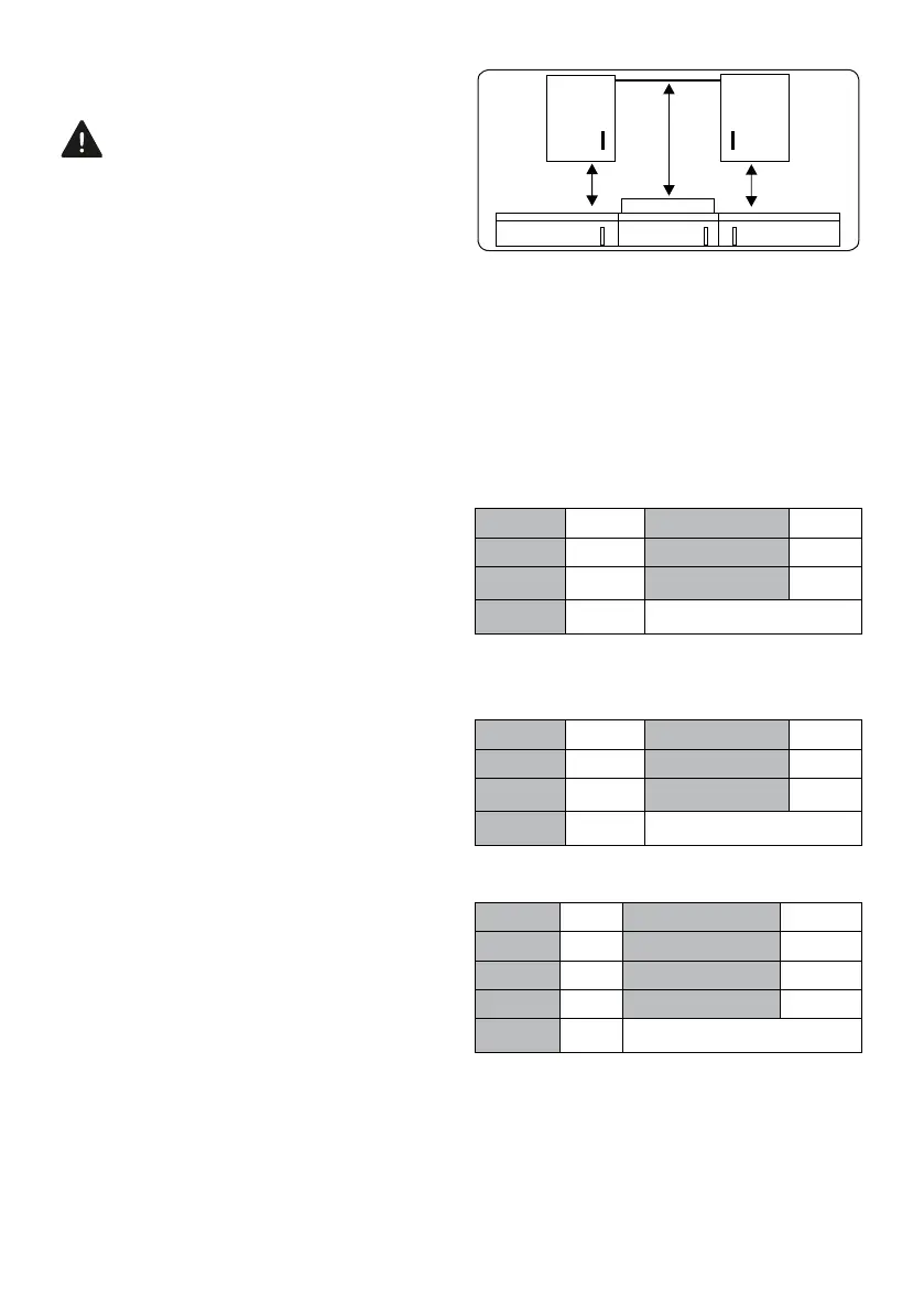
If a cooker hood or cupboard is to be
installed above the appliance, the safety
distance between cooktop and any
cupboard/cooker hood should be as
shown below.
HOB
Minimum
42 cm
Minimum
42 cm
Minimum
65 cm (with
hood)
Minimum 70
cm (without
hood)
The appliance should not be installed
directly above a dishwasher, fridge, freezer,
washing machine or clothes dryer.
2.2 inStallation of the applianCeS
The appliances are supplied with
installation kits and can be installed in a
worktop with the appropriate dimensions.
The dimensions for hob and oven
installation are given below.
Installation dimensions for hotplate hob
A1 (mm) 580 E1 (mm) 490
B1 (mm) 510 min. F1 (mm) 50
C1 (mm) 40 min. G1 (mm) 50
D1 (mm) 560
Installation dimensions for vitroceramic
hob
A1 (mm) 590 E1 (mm) 490
B1 (mm) 520 min. F1 (mm) 50
C1 (mm) 41 min. G1 (mm) 50
D1 (mm) 560
Installation dimensions for oven
A2 (mm) 557 E2 (mm) 574
B2 (mm) 550 min. F2 (mm) 560-580
C2 (mm) 595 min. G2 /J2 (mm) 555/5
D2 (mm) 575 H2 (mm) 600
I2(mm) 25

Table of Contents

Related product manuals