EasyManua.ls Logo

Laurus LIA600 - Installation und Vorbereitung für den Gebrauch; Hinweise für den Installateur; Einbauen des Kochfeldes

Default Icon
Print Icon
To Next Page IconTo Next Page
To Next Page IconTo Next Page
To Previous Page IconTo Previous Page
To Previous Page IconTo Previous Page
Loading...
DE – 11
2. Installation und Vorbereitung
für den Gebrauch
WARNUNG:Das Gerät muss von
einem autorisierten Servicemitarbeiter
oder einem qualifizierten Techniker
gemäß den Hinweisen in dieser
Gebrauchsanweisung und unter Einhaltung
der geltenden lokalen Vorschriften installiert
werden.
Eine unsachgemäße Installation kann
zu Personen- und Sachschäden führen,
für die der Hersteller keine Haftung
übernimmt und die nicht von der
Garantie abgedeckt sind.
Vergewissern Sie sich vor der
Installation des Geräts, dass die lokalen
Versorgungsbedingungen (Spannung
und Frequenz des Stromnetzes
und/oder Gasart und Gasdruck im
Gasversorgungsnetz) kompatibel zu
den Einstellungen des Gerätes ist.Die
Anschlusswerte für dieses Gerät sind
auf dem Typenschild angegeben.
Die im Einsatzland geltenden
Gesetze, Verordnungen, Richtlinien
und Normen sind einzuhalten
(Sicherheitsbestimmungen, sach- und
ordnungsgemäßes Recycling usw.).
2.1

Allgemeine Hinweise
Nachdem Sie die Verpackung von
dem Gerät und dem Zubehör entfernt
haben, vergewissern Sie sich, dass
keine Schäden vorhanden sind.
Wenn Sie einen Schaden vermuten,
verwenden Sie das Gerät nicht, und
wenden Sie sich umgehend an einen
autorisierten Servicemitarbeiter oder
einen qualifizierten Techniker.
Stellen Sie sicher, dass sich in der
direkten Nähe des Gerätes keine
entzündlichen oder brennbaren
Materialien wie Gardinen, Öl, Kleidung
usw. befinden, die in Brand geraten
könnten.
Die Arbeitsplatte und Möbel, die
das Gerät umgeben, müssen
aus Materialien gefertigt sein, die
Temperaturen von über 100°C
standhalten können.
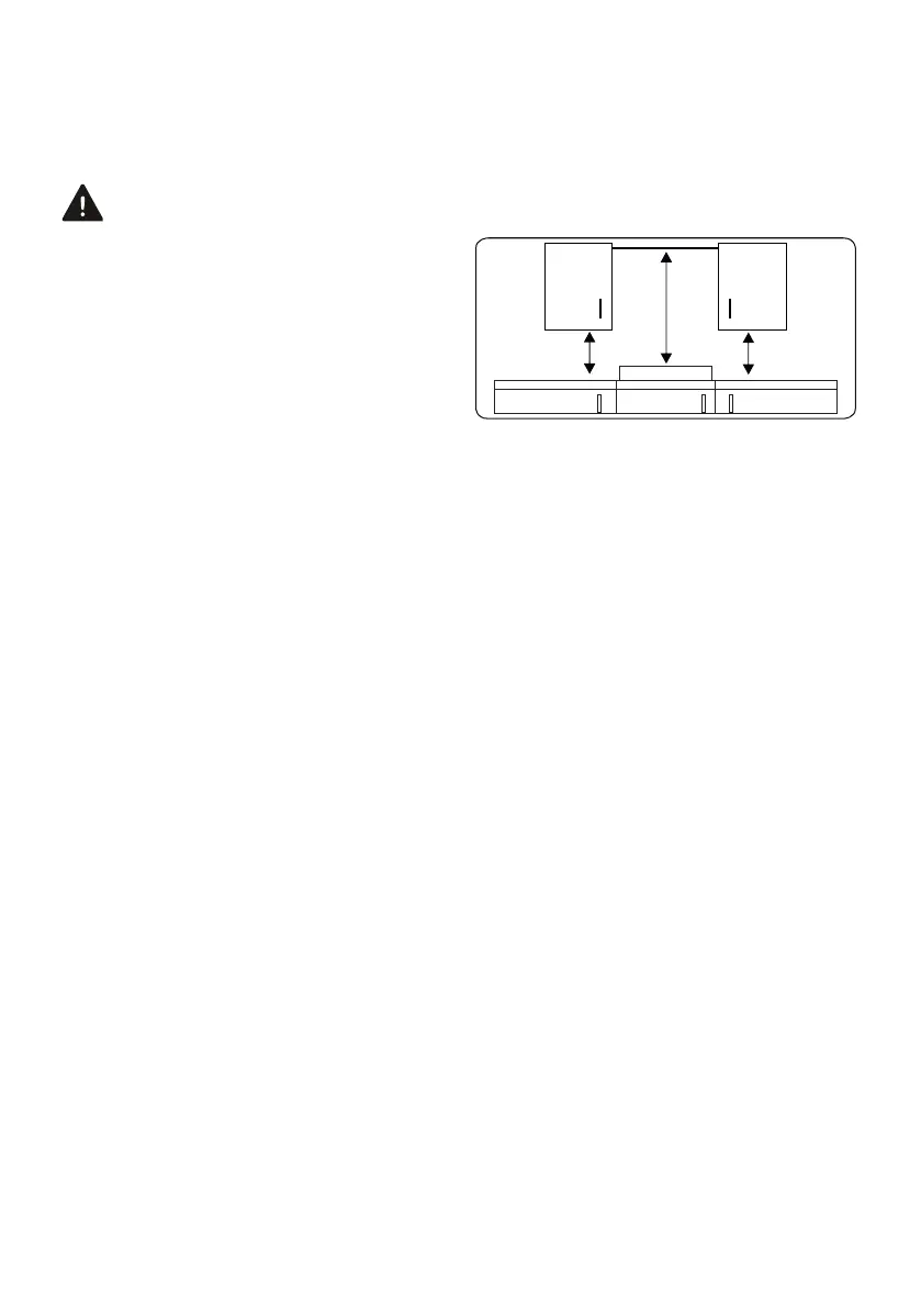
Wenn über dem Gerät eine
Dunstabzugshaube oder ein Schrank
montiert werden sollen, muss der
Sicherheitsabstand zwischen der
Kochfeldoberfläche und jeglichem
Schrank/jeglicher Dunstabzugshaube
den in der Abbildung unten aufgeführten
Werten entsprechen.
Kochfeld
Mindestens
42 cm
Mindestens
42 cm
Mindestens
65 cm (mit
Dunstabzugshaube)
Mindestens
70 cm (ohne
Dunstabzugshaube)
Das Gerät sollte nicht direkt über
einem Geschirrspüler, einem
Kühlschrank, einem Gefrierschrank,
einer Waschmaschine oder einem
Wäschetrockner installiert werden.
Wenn die Unterseite des Gerätes
per Hand zugänglich ist, muss die
Unterseite mit einer Vorrichtung aus
geeignetem Material abgeschirmt
werden, sodass kein Zugang zur
Unterseite des Gerätes besteht.
Wird das Kochfeld über einem Backofen
eingebaut, sollte der Backofen mit
einem Kühllüfter ausgestattet sein.
Sicherstellen, dass das Induktions-
Kochfeld gut belüftet ist und der
Lufteinlass nicht verstopft ist.
2.2

Das Gerät wird mit einem Einbaukit
geliefert, das eine Klebedichtung,
Befestigungsklammern und Schrauben
umfasst.
Den Ausschnitt gemäß den in der
Abbildung dargestellten Abmessungen
ausschneiden.Den Ausschnitt auf der
Arbeitsplatte so einmessen, dass nach
dem Einbauen des Kochfeldes die
folgenden Maßvorgaben erfüllt sind:

Table of Contents

Related product manuals