EasyManua.ls Logo

Laurus LIA600 - Installation de la Table de Cuisson; Installation et Préparation à Lutilisation; Instructions Destinées à Linstallateur

Default Icon
Print Icon
To Next Page IconTo Next Page
To Next Page IconTo Next Page
To Previous Page IconTo Previous Page
To Previous Page IconTo Previous Page
Loading...
FR - 11
2. INSTALLATION ET
PRÉPARATION À L’UTILISATION
AVERTISSEMENT : Cet appareil doit
être installé par un professionnel
agréé ou par un technicien qualifié,
conformément aux instructions de cette
notice et conformément aux normes
d’installation en vigueur.
Toute installation incorrecte invalide
la garantie et peut entraîner des
dommages ou des blessures pour
lesquels le fabricant ne peut être tenu
responsable.
Avant l’installation, s’assurer que les
conditions locales de la distribution
(tension et fréquence de l’électricité
et/ou nature du gaz et pression du
gaz) et les réglages de l’appareil sont
compatibles. Les conditions de réglage
de cet appareil figurent sur l’étiquette.
Les lois, réglementations, décrets
et normes en vigueur dans le pays
d’installation doivent être appliqués
(règles de sécurité, recyclage
conformément à la réglementation,
etc.).
2.1.


Instructions générales
Après avoir retiré les matériaux
d’emballage de l’appareil et de ses
accessoires, vérifier que l’appareil
n’est pas endommagé. Si l’appareil
est peut-être endommagé, ne pas
l’utiliser et contacter immédiatement un
professionnel agréé ou un technicien
qualifié.
Vérifier qu’aucun élément ou matériau
combustible ou inflammable, par
exemple un rideau, de l’huile, un
tissu, etc., ne se trouve à proximité
immédiate.
Le plan de travail et les meubles autour
de l’appareil doivent pouvoir supporter
une température supérieure à 100 °C.
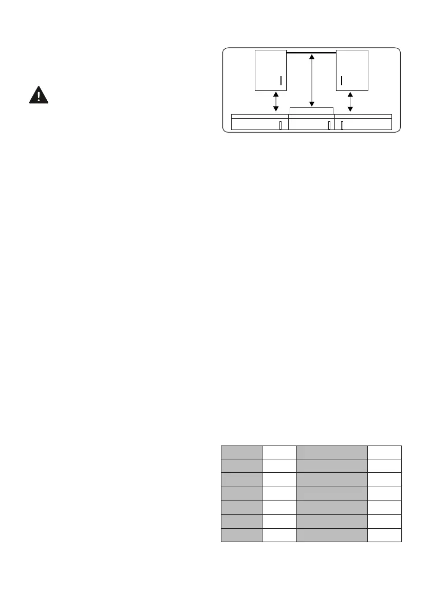
Si une hotte ou un placard doit être
installé au-dessus de l’appareil, la
distance de sécurité entre le plan de
cuisson et le placard ou la hotte doit
correspondre à celle présentée sur la
figure ci-dessous.
Table
de
cuisson
Minimum
42 cm
Minimum
42 cm
Minimum
65 cm (avec
hotte)
Minimum
70 cm (sans
hotte)
Cet appareil ne doit pas être installé
directement au-dessus d’un lave-
vaisselle, d’un réfrigérateur, d’un
congélateur, d’un lave-linge ou d’un
sèche-linge.
Si la base de l’appareil est accessible,
placer une protection faite d’un matériau
adapté sous la base de l’appareil,
en s’assurant qu’il n’est pas possible
d’accéder à la base de l’appareil.
Si la table de cuisson est installée au-
dessus d’un four, le four doit être équipé
d’un ventilateur.
Vérifier que la table de cuisson à
induction est bien ventilée et que les
arrivées et sorties de gaz ne sont pas
bloquées.
2.2.


L’appareil est livré avec un kit d’installation
comprenant une bande d’étanchéité
adhésive, des supports et des vis de
montage.
Découper les dimensions de l’ouverture
comme indiqué sur la figure. Repérer
l’ouverture sur le plan de travail afin
que, une fois la table de cuisson
installée, les exigences suivantes soient
respectées.
B (mm) 590 min. A (mm) 50
T (mm) 520 min. C (mm) 50
H (mm) 56 min. E (mm) 500
C1 (mm) 560 min. F (mm) 10
C2 (mm) 490 G (mm) 20
D (mm) 50 I (mm) 38
J (mm) 5

Table of Contents

Related product manuals