EasyManua.ls Logo

LBC LRO-2G5 - Page 32

Default Icon
48 pages
Print Icon
To Next Page IconTo Next Page
To Next Page IconTo Next Page
To Previous Page IconTo Previous Page
To Previous Page IconTo Previous Page
Loading...
Copyright 2016-2018 LBC Bakery Equipment Inc. Marysville WA USA
P a g e | 32
Water Supply /
approvisionnement en eau /
suministro de agua
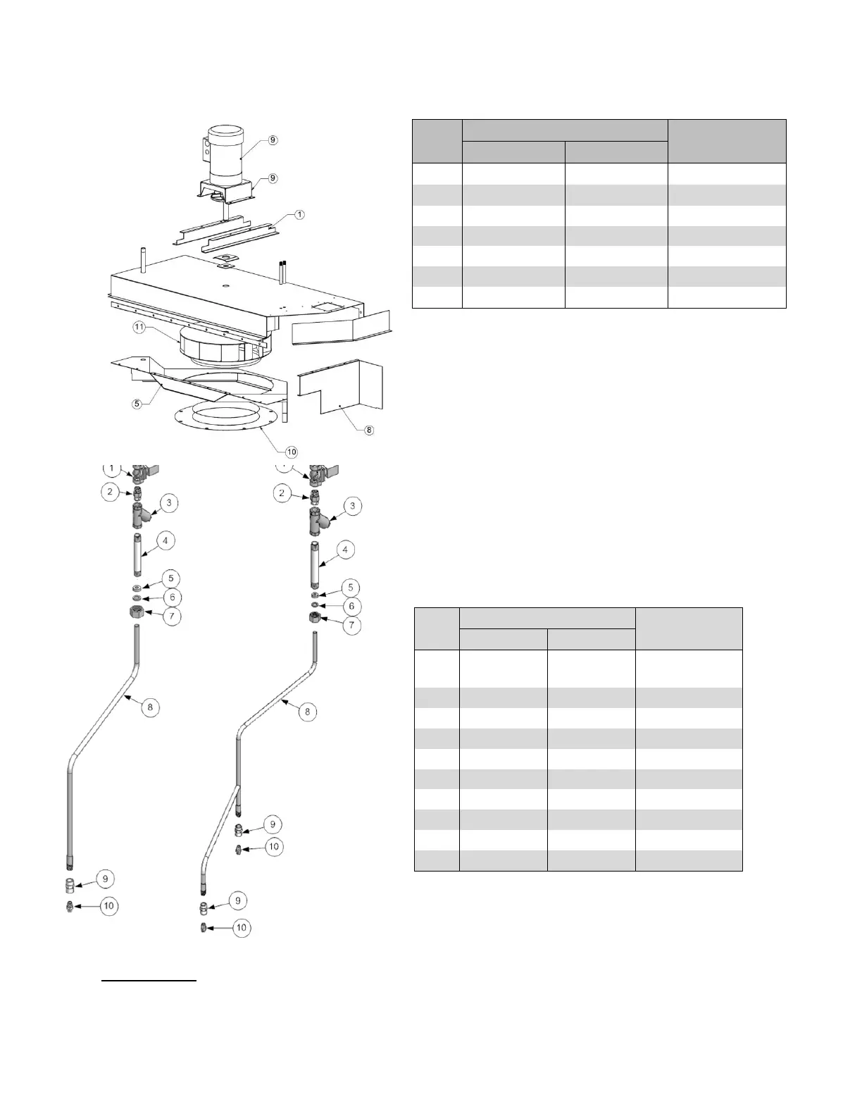
Item
Parts
Description
LRO-1__
LRO-2__
30200-59
30200-59
Motor, 3-Phase
30200-59-1
30200-59-1
Motor, 1-Phase
71500-14
71500-14
Heat Slinger
150-367
150-367
Motor Mount
150-368
150-368
Shaft Seal
71500-13
71500-15
Blower Wheel
71500-03
71500-05a
Inlet Ring
Item
Parts
Description
LRO-1__
LRO-2__
1
70403-03
70403-03
Solenoid
Valve
2
70302-55
70302-55
1/2 Close Nip
3
73701-04
73701-04
Strainer
4
70302-54-6
70302-54-6
1/2x6 Nipple
5
160-1370-3
160-1370-3
Flange
6
160-1370-4
160-1370-4
Gasket
7
160-1370-1
160-1370-1
Pipe Nut
8
160-1370-9
150-1370-2
Inlet Tube
9
70101-90
70101-90
1/4 Coupler
10
70101-77-1
70101-77-1
Spray Nozzle

Other manuals for LBC LRO-2G5

Related product manuals