EasyManua.ls Logo

LEAD FLUID YZ Series - Install YZ35 Pump Head

LEAD FLUID YZ Series
24 pages
Print Icon
To Next Page IconTo Next Page
To Next Page IconTo Next Page
To Previous Page IconTo Previous Page
To Previous Page IconTo Previous Page
Loading...
BAODING LEAD FLUID TECHNOLOGY CO.,LTD.
Mail
leifu@leadfluid.net WEB
www.leadfluid.net
6
YZ15/25 pump head assembly drawing
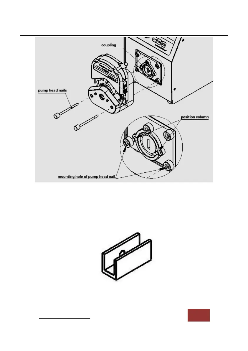
Install YZ35 pump head
Setting the shaft protective (the picture below) into the flat shaft end of YZ35
pump head.
shaft protective

Related product manuals