EasyManua.ls Logo

LEIF Technologies LEIF - Page 10

LEIF Technologies LEIF
20 pages
Print Icon
To Next Page IconTo Next Page
To Next Page IconTo Next Page
To Previous Page IconTo Previous Page
To Previous Page IconTo Previous Page
Loading...
LEIF GUIDE | 10
WWW.LEIFTECH.COM/GUIDE
If bottom two lights on the flight deck are flashing, the battery is
dead. If you believe you have a charged battery, power cycle the
battery by unplugging and plugging in the battery wires.
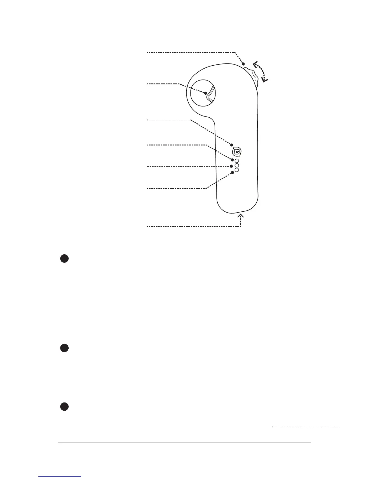
BLUETOOTH LIGHT
(BLUE COLOR)
BATTERY LIGHT
(GREEN COLOR)
CHARGE LIGHT
(GREEN COLOR)
USB CHARGE PORT
LEIF BUTTON
ENGAGE TRIGGER
ACCELERATION WHEEL
FORWARD
BRAKE
+
-
REMOTE
If the board accelerates or continues to roll after releasing the
trigger, then the top screw on the remote control is too tight,
causing the trigger to be sticky and not release. Loosen the top
screw on the remote control (near the thumbwheel) one turn. Test
by turning on the remote and confirming that the middle green light
stops flickering when the trigger is released. You should also hear
a click sound when pressing the trigger and another click sound
when releasing the trigger.
The Remote’s Battery Light is also a trigger button debugging
light. The Battery Light should have a slight flicker when the trigger
is pressed. If you press the trigger and the Battery Light stays
solid, then the trigger may be broken. If this occurs, please email
support@leiftechnologies.com.
!
!
!