EasyManua.ls Logo

LENCO PMX-350 - Page 16

LENCO PMX-350
60 pages
Print Icon
To Next Page IconTo Next Page
To Next Page IconTo Next Page
To Previous Page IconTo Previous Page
To Previous Page IconTo Previous Page
Loading...
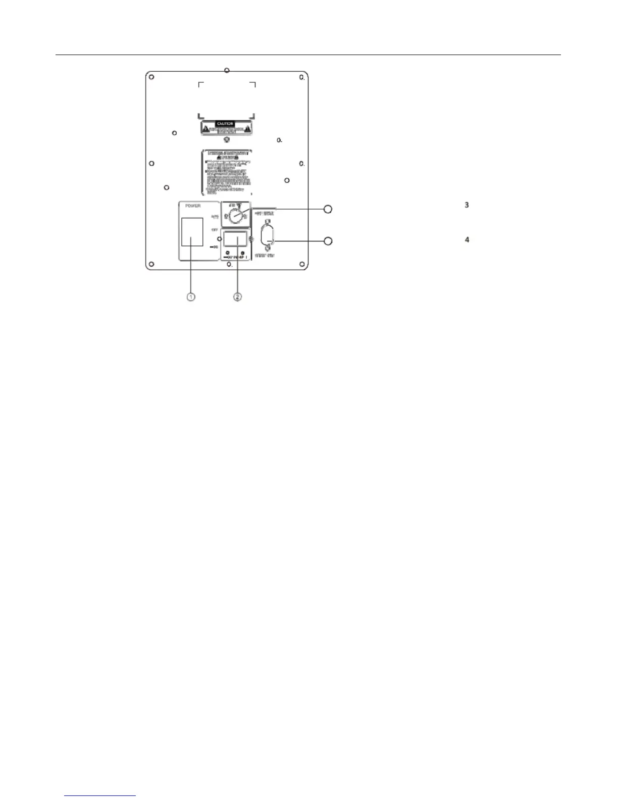
ACHTERPANEEL
16
1. Aan/uit-schakelaar
Schakelmodi DC INGANG, AC INGANG of uit.
Wanneer u de schakelaar op AC zet, werkt de speaker op 230V en zal de accu opgeladen worden.
Wanneer u de schakelaar op OFF zet, is er geen stroom en zal de accu niet opgeladen worden.
Wanneer u de schakelaar op DC zet, wordt de speaker aangedreven door de accu.
2. DC 12V INGANG
De speaker kan verbonden worden met de 12V DC accu van een auto.
3. FM-ANTENNE
4. AC INGANG AC 230V~, 50Hz

Related product manuals