EasyManua.ls Logo

LENCO PMX-350 - Page 40

LENCO PMX-350
60 pages
Print Icon
To Next Page IconTo Next Page
To Next Page IconTo Next Page
To Previous Page IconTo Previous Page
To Previous Page IconTo Previous Page
Loading...
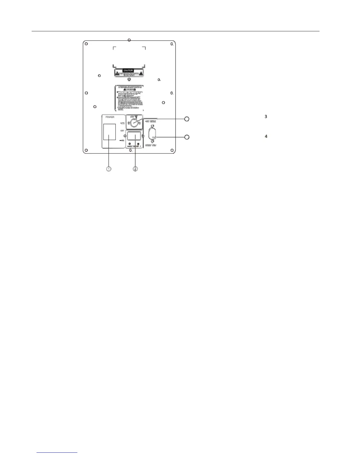
PANNEAU ARRIÈRE
40
1. Interrupteur marche/arrêt
Pour basculer entre les modes ENTRÉE CC, ENTRÉE CA ou DÉSACTIVÉ.
Quand l’enceinte est réglée sur CA, elle fonctionne sur 230 V et la batterie se chargera.
Quand l'appareil est réglé sur OFF, il est hors tension et la batterie ne se charge pas.
Quand il est réglé sur CC, l’enceinte est alimentée par batterie.
2. ENTRÉE CC 12 V
L’enceinte peut être raccordée à la batterie de 12 V CC d’une voiture.
3. ANTENNE FM
4. ENTRÉE CA : CA 230 V~, 50 Hz

Related product manuals