EasyManua.ls Logo

LENCO PMX-350 - Page 52

LENCO PMX-350
60 pages
Print Icon
To Next Page IconTo Next Page
To Next Page IconTo Next Page
To Previous Page IconTo Previous Page
To Previous Page IconTo Previous Page
Loading...
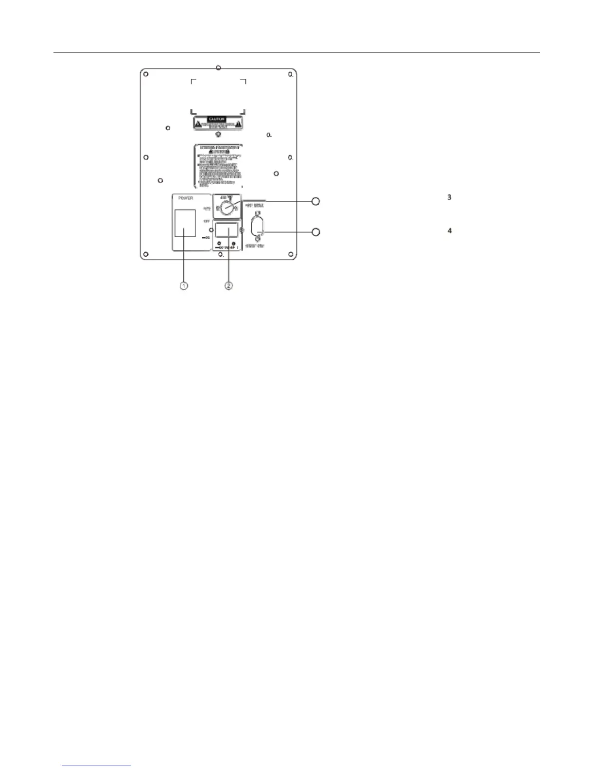
PANEL FRONTAL
52
1. Interruptor de encendido
Modos de cambio ENTRADA CC, ENTRADA CA u o.
Cuando se cambia al estado CA, el altavoz funciona a 230V y se cargará la batería.
Cuando se cambia a apagado, la alimentación está apagada y no hay carga de la batería.
Cuando se cambia a CC, el altavoz está alimentado por la batería.
2. ENTRADA CC DE 12V
El altavoz puede conectarse a la batería CC de 12V de un vehículo.
3. ANTENA FM
4. ENTRADA CA CA 230V~, 50Hz

Related product manuals