EasyManua.ls Logo

Lennox EL196UH110XE60C - Page 82

Lennox EL196UH110XE60C
89 pages
Print Icon
To Next Page IconTo Next Page
To Next Page IconTo Next Page
To Previous Page IconTo Previous Page
To Previous Page IconTo Previous Page
Loading...
9
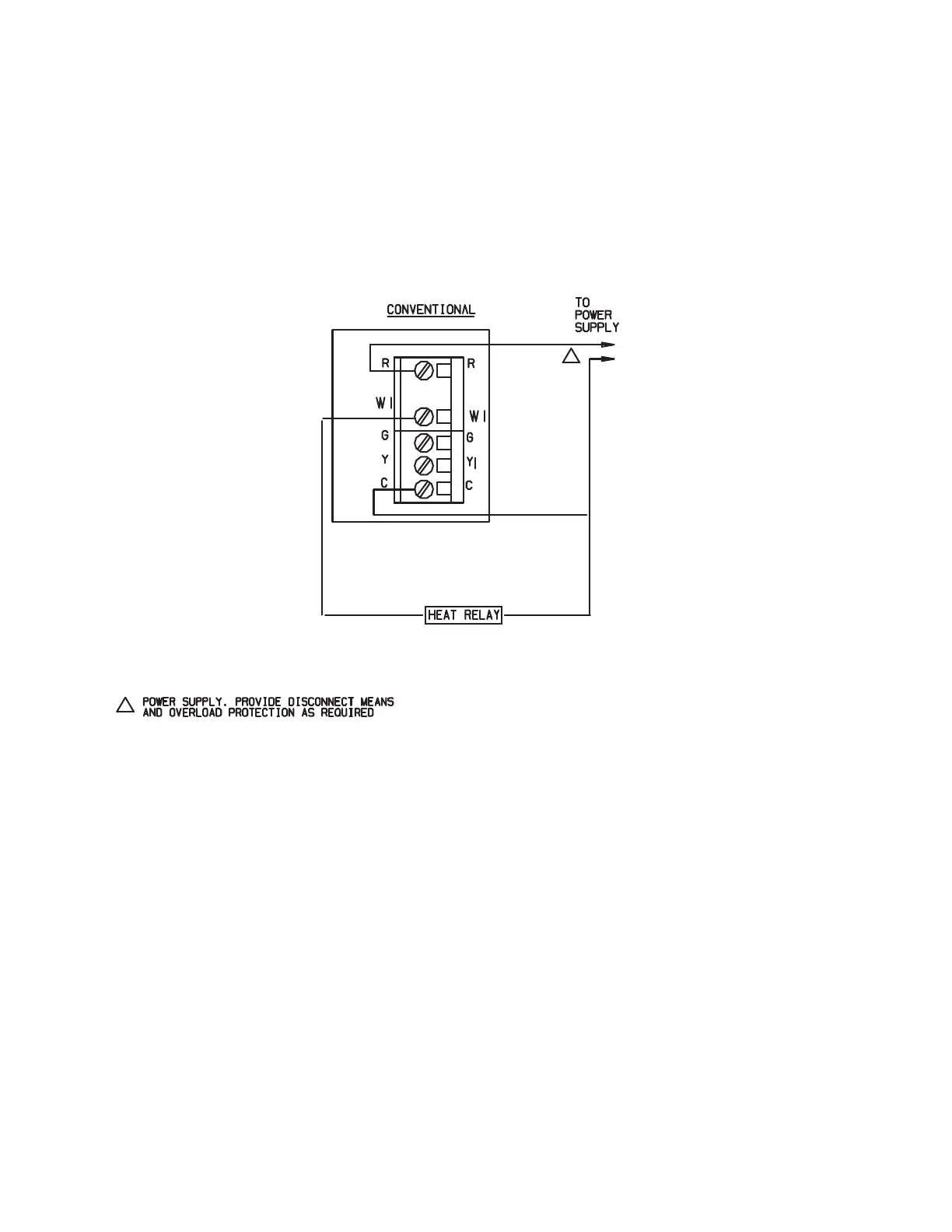
TYPICAL HEAT ONLY
SYSTEM
1
1

Other manuals for Lennox EL196UH110XE60C

Related product manuals