EasyManua.ls Logo

Lennox EL196UHE - Page 82

Lennox EL196UHE
89 pages
Print Icon
To Next Page IconTo Next Page
To Next Page IconTo Next Page
To Previous Page IconTo Previous Page
To Previous Page IconTo Previous Page
Loading...
9
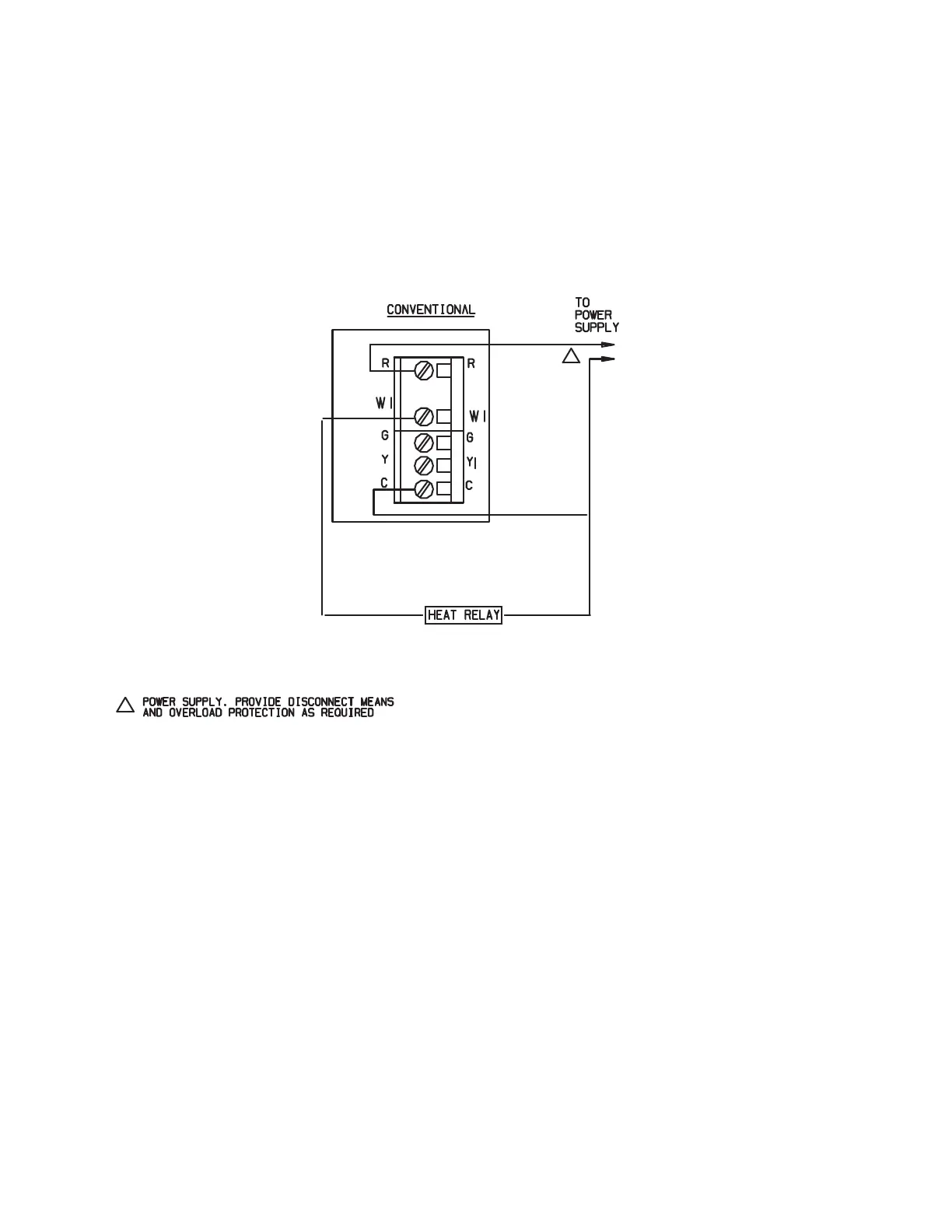
TYPICAL HEAT ONLY
SYSTEM
1
1

Related product manuals