EasyManua.ls Logo

Lennox ELS090S4S - Model Number Identification

Lennox ELS090S4S
25 pages
Print Icon
To Next Page IconTo Next Page
To Next Page IconTo Next Page
To Previous Page IconTo Previous Page
To Previous Page IconTo Previous Page
Loading...
Page 10
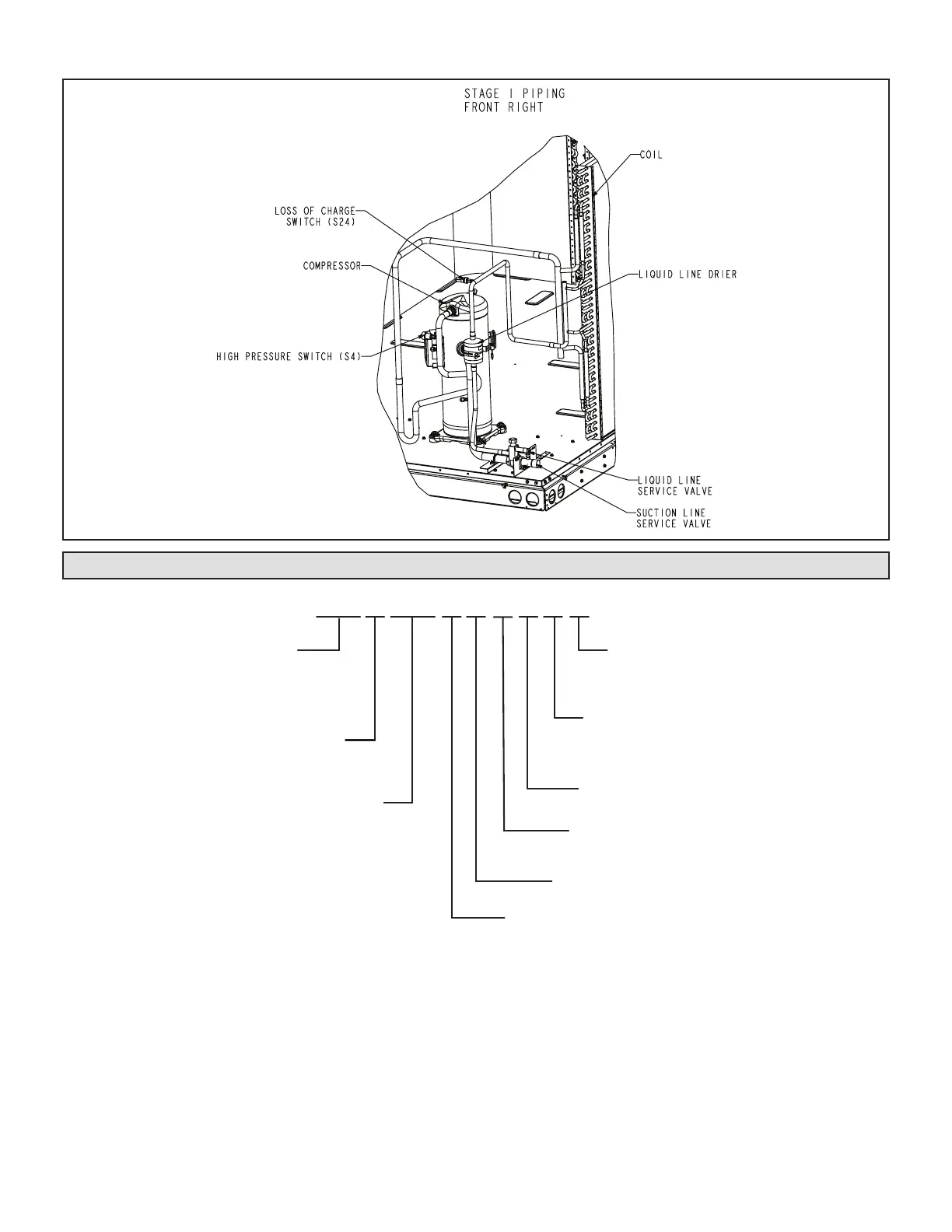
ELS240S4D – STAGE 1
Model Number Identication
ELSY1120 S S4 D
Brand/Family
EliteProduct Line
S = Split System Air Conditioner
Nominal Cooling Capacity -
Tons
072 = 6 Tons
090 = 7.5 Tons
120 = 10 Tons
150 = 12.5 Tons
180 = 15 Tons
240 = 20 Tons
Cooling Efficiency
S = Standard Efficiency
Minor Design Sequence
1 = 1st Revision
2 = 2nd Revision
3 = 3rd Revision
Voltage
Y = 208/230V3 phase60hz
G = 460V3 phase60hz
J = 575V3 phase60hz
M = 380/420V3 phase50hz
Refrigerant Type
4 = R-410A
Refrigerant Circuits
S = Single Circuit
D = Dual Circuits
Part Load Capability
S = Single Stage Compressor
T = Two Stage Compressor

Other manuals for Lennox ELS090S4S

Related product manuals