EasyManua.ls Logo

Lennox Enlight LGT180H4M - Systems Service Checks; Heating System Service Checks; Gas Piping and Pressure Testing; Manifold Pressure Check

Lennox Enlight LGT180H4M
106 pages
Print Icon
To Next Page IconTo Next Page
To Next Page IconTo Next Page
To Previous Page IconTo Previous Page
To Previous Page IconTo Previous Page
Loading...

V- SYSTEMS SERVICE CHECKS
A-Heating System Service Checks
-

       -
      


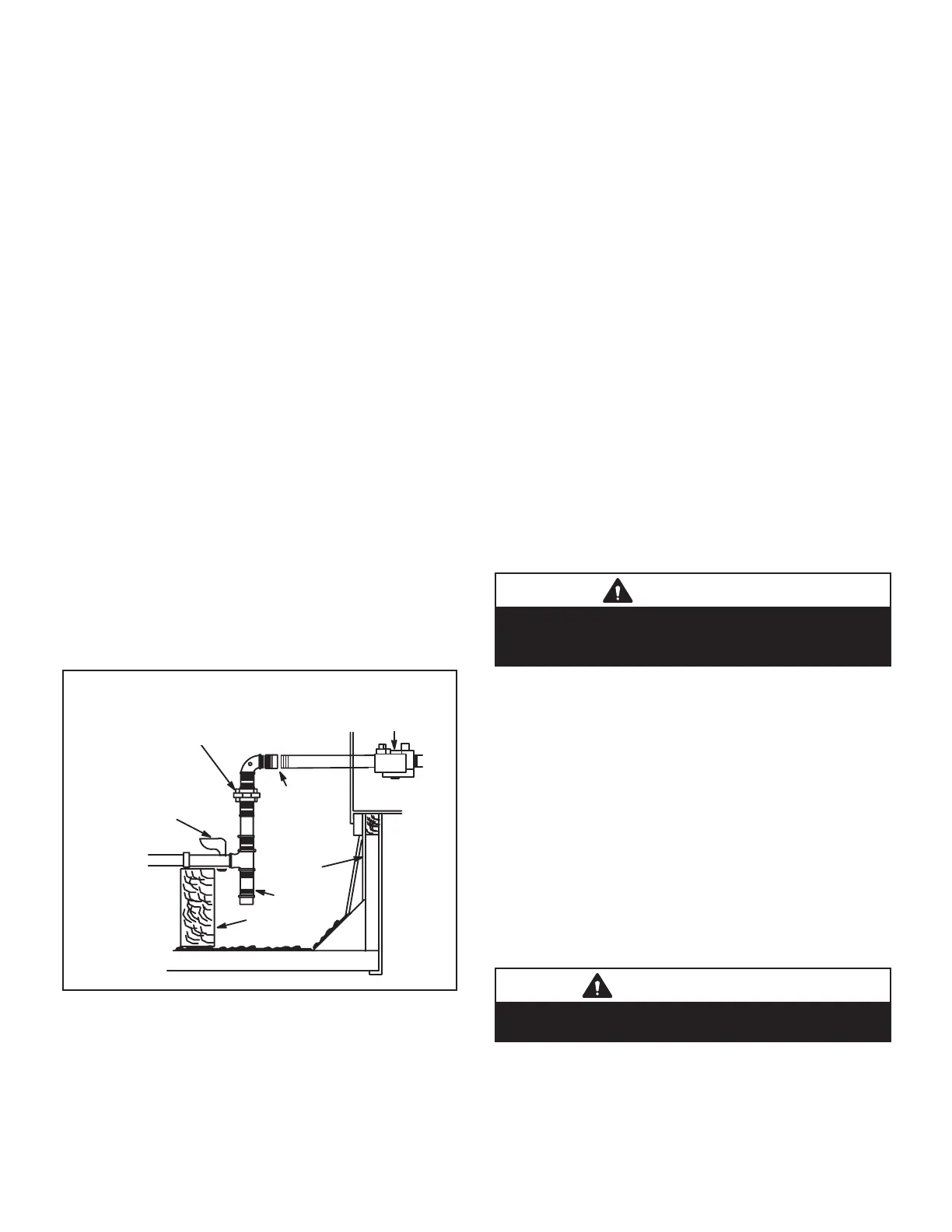
1-Gas Piping

  


2-Testing Gas Piping
NOTE-In case emergency shutdown is required, turn o
the main manual shut-o valve and disconnect the main
power to the unit. These controls should be properly la-
beled by the installer.
  





         -
       

-

UNIT
GROUND
JOINT UNION
MANUAL MAIN
SHUT-OFF VALVE
(REFER TO LOCAL CODES)
GAS PIPING
SUPPORT
DRIP LEG
ROOF
MOUNTING
FRAME
GAS PIPING COMPONENTS
REFER TO INSTALLATION INSTRUCTIONS
VALVE
CAP HERE
TO ISOLATE
VALVE WHEN
PRESSURE
TESTING
LINE
FIGURE 30
3-Testing Gas Supply Pressure


-

-

   -



      
-


         

4-Check and Adjust Manifold Pressure




         -





󰀨
󰀨
󰀨
CAUTION
    󰀨   
󰀨
pressure to the manometer.
Manifold Adjustment Procedure
1 - 


state.
2 -         

   
       


 
       

IMPORTANT
       


Related product manuals