EasyManua.ls Logo

Lennox Enlight LGT300S4M

Lennox Enlight LGT300S4M
106 pages
To Next Page IconTo Next Page
To Next Page IconTo Next Page
To Previous Page IconTo Previous Page
To Previous Page IconTo Previous Page
Loading...
๎˜ณ๎™„๎™Š๎™ˆ๎˜ƒ๎˜–๎˜˜
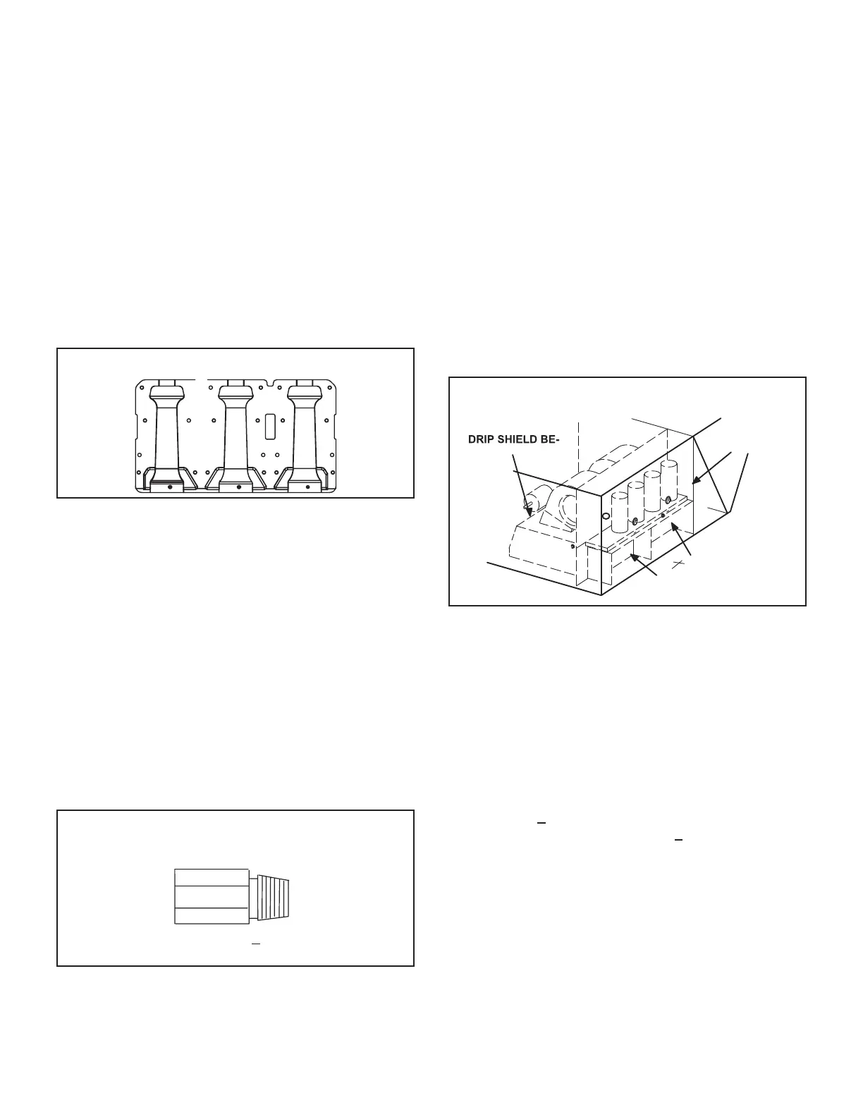
3-Burner Assembly (Figure 23)
๎˜ท๎™‹๎™ˆ๎˜ƒ๎™…๎™˜๎™•๎™‘๎™ˆ๎™•๎™–๎˜ƒ๎™„๎™•๎™ˆ๎˜ƒ๎™†๎™’๎™‘๎™—๎™•๎™’๎™๎™๎™ˆ๎™‡๎˜ƒ๎™…๎™œ๎˜ƒ๎™—๎™‹๎™ˆ๎˜ƒ๎™–๎™“๎™„๎™•๎™Ž๎˜ƒ๎™ˆ๎™๎™ˆ๎™†๎™—๎™•๎™’๎™‡๎™ˆ๎˜๎˜ƒ๎›€๎™„๎™๎™ˆ๎˜ƒ
๎™–๎™ˆ๎™‘๎™–๎™Œ๎™‘๎™Š๎˜ƒ๎™ˆ๎™๎™ˆ๎™†๎™—๎™•๎™’๎™‡๎™ˆ๎˜๎˜ƒ๎™Š๎™„๎™–๎˜ƒ๎™™๎™„๎™๎™™๎™ˆ๎˜ƒ๎™„๎™‘๎™‡๎˜ƒ๎™†๎™’๎™๎™…๎™˜๎™–๎™—๎™Œ๎™’๎™‘๎˜ƒ๎™„๎™Œ๎™•๎˜ƒ๎™…๎™๎™’๎™š๎™ˆ๎™•๎˜‘๎˜ƒ
๎˜ท๎™‹๎™ˆ๎˜ƒ ๎™–๎™“๎™„๎™•๎™Ž๎˜ƒ ๎™ˆ๎™๎™ˆ๎™†๎™—๎™•๎™’๎™‡๎™ˆ๎˜๎˜ƒ ๎›€๎™„๎™๎™ˆ๎˜ƒ ๎™–๎™ˆ๎™‘๎™–๎™Œ๎™‘๎™Š๎˜ƒ ๎™ˆ๎™๎™ˆ๎™†๎™—๎™•๎™’๎™‡๎™ˆ๎˜ƒ ๎™„๎™‘๎™‡๎˜ƒ ๎™Š๎™„๎™–๎˜ƒ
๎™™๎™„๎™๎™™๎™ˆ๎˜ƒ ๎™„๎™•๎™ˆ๎˜ƒ ๎™‡๎™Œ๎™•๎™ˆ๎™†๎™—๎™๎™œ๎˜ƒ ๎™†๎™’๎™‘๎™—๎™•๎™’๎™๎™๎™ˆ๎™‡๎˜ƒ ๎™…๎™œ๎˜ƒ ๎™Œ๎™Š๎™‘๎™Œ๎™—๎™Œ๎™’๎™‘๎˜ƒ ๎™†๎™’๎™‘๎™—๎™•๎™’๎™๎˜‘๎˜ƒ ๎˜ฌ๎™Š๎™‘๎™Œ๎™—๎™Œ๎™’๎™‘๎˜ƒ
๎™†๎™’๎™‘๎™—๎™•๎™’๎™๎˜ƒ ๎™„๎™‘๎™‡๎˜ƒ ๎™†๎™’๎™๎™…๎™˜๎™–๎™—๎™Œ๎™’๎™‘๎˜ƒ ๎™„๎™Œ๎™•๎˜ƒ ๎™…๎™๎™’๎™š๎™ˆ๎™•๎˜ƒ ๎™Œ๎™–๎˜ƒ ๎™†๎™’๎™‘๎™—๎™•๎™’๎™๎™๎™ˆ๎™‡๎˜ƒ ๎™…๎™œ๎˜ƒ ๎˜ธ๎™‘๎™Œ๎™—๎˜ƒ
๎˜ฆ๎™’๎™‘๎™—๎™•๎™’๎™๎™๎™ˆ๎™•๎˜ƒ๎˜ค๎˜˜๎˜˜๎˜‘
Burners
๎˜ค๎™๎™๎˜ƒ๎™˜๎™‘๎™Œ๎™—๎™–๎˜ƒ๎™˜๎™–๎™ˆ๎˜ƒ๎™†๎™๎™˜๎™–๎™—๎™ˆ๎™•๎˜ƒ๎™Œ๎™‘๎™–๎™‹๎™’๎™—๎˜ƒ๎™…๎™˜๎™•๎™‘๎™ˆ๎™•๎™–๎˜‘๎˜‘๎˜ƒ๎˜ฅ๎™˜๎™•๎™‘๎™ˆ๎™•๎™–๎˜ƒ ๎™„๎™•๎™ˆ๎˜ƒ ๎™‰๎™„๎™†๎™—๎™’๎™•๎™œ๎˜ƒ
๎™–๎™ˆ๎™—๎˜ƒ๎™„๎™‘๎™‡๎˜ƒ๎™‡๎™’๎˜ƒ๎™‘๎™’๎™—๎˜ƒ๎™•๎™ˆ๎™”๎™˜๎™Œ๎™•๎™ˆ๎˜ƒ๎™„๎™‡๎™๎™˜๎™–๎™—๎™๎™ˆ๎™‘๎™—๎˜‘๎˜ƒ๎˜ค๎˜ƒ๎™“๎™ˆ๎™ˆ๎™“๎˜ƒ๎™‹๎™’๎™๎™ˆ๎˜ƒ๎™š๎™Œ๎™—๎™‹๎˜ƒ๎™†๎™’๎™™๎™ˆ๎™•๎˜ƒ
๎™Œ๎™–๎˜ƒ๎™‰๎™˜๎™•๎™‘๎™Œ๎™–๎™‹๎™ˆ๎™‡๎˜ƒ๎™Œ๎™‘๎˜ƒ๎™—๎™‹๎™ˆ๎˜ƒ๎™‹๎™ˆ๎™„๎™—๎™Œ๎™‘๎™Š๎˜ƒ๎™„๎™†๎™†๎™ˆ๎™–๎™–๎˜ƒ๎™“๎™„๎™‘๎™ˆ๎™๎˜ƒ๎™‰๎™’๎™•๎˜ƒ๎›€๎™„๎™๎™ˆ๎˜ƒ๎™™๎™Œ๎™ˆ๎™š๎™Œ๎™‘๎™Š๎˜‘๎˜ƒ
๎˜ค๎™๎™š๎™„๎™œ๎™–๎˜ƒ ๎™’๎™“๎™ˆ๎™•๎™„๎™—๎™ˆ๎˜ƒ ๎™—๎™‹๎™ˆ๎˜ƒ ๎™˜๎™‘๎™Œ๎™—๎˜ƒ ๎™š๎™Œ๎™—๎™‹๎˜ƒ ๎™—๎™‹๎™ˆ๎˜ƒ ๎™„๎™†๎™†๎™ˆ๎™–๎™–๎˜ƒ ๎™“๎™„๎™‘๎™ˆ๎™๎˜ƒ ๎™Œ๎™‘๎˜ƒ ๎™“๎™๎™„๎™†๎™ˆ๎˜‘๎˜ƒ
๎˜ฅ๎™˜๎™•๎™‘๎™ˆ๎™•๎™–๎˜ƒ๎™†๎™„๎™‘๎˜ƒ๎™…๎™ˆ๎˜ƒ๎™•๎™ˆ๎™๎™’๎™™๎™ˆ๎™‡๎˜ƒ๎™‰๎™’๎™•๎˜ƒ๎™–๎™ˆ๎™•๎™™๎™Œ๎™†๎™ˆ๎˜‘๎˜ƒ๎˜ฅ๎™˜๎™•๎™‘๎™ˆ๎™•๎˜ƒ๎™๎™„๎™Œ๎™‘๎™—๎™ˆ๎™‘๎™„๎™‘๎™†๎™ˆ๎˜ƒ
๎™„๎™‘๎™‡๎˜ƒ๎™–๎™ˆ๎™•๎™™๎™Œ๎™†๎™ˆ๎˜ƒ๎™Œ๎™–๎˜ƒ๎™‡๎™ˆ๎™—๎™„๎™Œ๎™๎™ˆ๎™‡๎˜ƒ๎™Œ๎™‘๎˜ƒ๎™—๎™‹๎™ˆ๎˜ƒ๎˜ถ๎˜จ๎˜ต๎˜น๎˜ฌ๎˜ฆ๎˜จ๎˜ƒ๎˜ฆ๎˜ซ๎˜จ๎˜ฆ๎˜ฎ๎˜ถ๎˜ƒ๎™–๎™ˆ๎™†๎™—๎™Œ๎™’๎™‘๎˜ƒ
๎™’๎™‰๎˜ƒ๎™—๎™‹๎™Œ๎™–๎˜ƒ๎™๎™„๎™‘๎™˜๎™„๎™๎˜‘
TYPICAL GAS BURNER ASSEMBLY
FIGURE 23
๎˜ฒ๎™•๎™Œ๎šฟ๎™†๎™ˆ
๎˜จ๎™„๎™†๎™‹๎˜ƒ๎™…๎™˜๎™•๎™‘๎™ˆ๎™•๎˜ƒ๎™˜๎™–๎™ˆ๎™–๎˜ƒ๎™„๎™‘๎˜ƒ๎™’๎™•๎™Œ๎šฟ๎™†๎™ˆ๎˜ƒ๎˜‹๎šฟ๎™Š๎™˜๎™•๎™ˆ๎˜ƒ๎˜•๎˜—๎˜Œ๎˜ƒ๎™š๎™‹๎™Œ๎™†๎™‹๎˜ƒ๎™Œ๎™–๎˜ƒ๎™“๎™•๎™ˆ๎™†๎™Œ๎™–๎™ˆ๎™๎™œ๎˜ƒ
๎™๎™„๎™—๎™†๎™‹๎™ˆ๎™‡๎˜ƒ๎™—๎™’๎˜ƒ๎™—๎™‹๎™ˆ๎˜ƒ๎™…๎™˜๎™•๎™‘๎™ˆ๎™•๎˜ƒ๎™Œ๎™‘๎™“๎™˜๎™—๎˜‘๎˜ƒ๎˜ฌ๎™‘๎™–๎™—๎™„๎™๎™๎˜ƒ๎™’๎™‘๎™๎™œ๎˜ƒ๎™—๎™‹๎™ˆ๎˜ƒ๎™’๎™•๎™Œ๎šฟ๎™†๎™ˆ๎™–๎˜ƒ๎™š๎™Œ๎™—๎™‹๎˜ƒ
๎™—๎™‹๎™ˆ๎˜ƒ๎™–๎™„๎™๎™ˆ๎˜ƒ๎™—๎™‹๎™•๎™ˆ๎™„๎™‡๎™–๎˜‘๎˜ƒ๎˜ท๎™‹๎™ˆ๎˜ƒ๎™’๎™•๎™Œ๎šฟ๎™†๎™ˆ๎˜ƒ๎™Œ๎™–๎˜ƒ๎™—๎™‹๎™•๎™ˆ๎™„๎™‡๎™ˆ๎™‡๎˜ƒ๎™Œ๎™‘๎™—๎™’๎˜ƒ๎™—๎™‹๎™ˆ๎˜ƒ๎™…๎™˜๎™•๎™‘๎™ˆ๎™•๎˜ƒ
๎™๎™„๎™‘๎™Œ๎™‰๎™’๎™๎™‡๎˜‘๎˜ƒ๎˜ท๎™‹๎™ˆ๎˜ƒ๎™…๎™˜๎™•๎™‘๎™ˆ๎™•๎˜ƒ๎™Œ๎™–๎˜ƒ๎™–๎™˜๎™“๎™“๎™’๎™•๎™—๎™ˆ๎™‡๎˜ƒ๎™…๎™œ๎˜ƒ ๎™—๎™‹๎™ˆ๎˜ƒ ๎™’๎™•๎™Œ๎šฟ๎™†๎™ˆ๎˜ƒ๎™„๎™‘๎™‡๎˜ƒ๎™š๎™Œ๎™๎™๎˜ƒ
๎™ˆ๎™„๎™–๎™Œ๎™๎™œ๎˜ƒ๎™–๎™๎™Œ๎™‡๎™ˆ๎˜ƒ๎™’๓ฐ€จ๎˜ƒ๎™‰๎™’๎™•๎˜ƒ๎™–๎™ˆ๎™•๎™™๎™Œ๎™†๎™ˆ๎˜‘
NOTE-Do not use thread sealing compound on the ori๎šฟc-
es. Using thread sealing compound may plug the ori๎šฟces.
Natural gas ori๎šฟce size is on nameplate. The LP gas ori-
๎šฟce size is on the label provided in the LP kit.
NOTE- In primary and secondary high temperature limits
S10 and S99 the ignition circuits in both gas heat sections
one and two are immediately de-energized when termi-
nals 1-3 open and the indoor blower motor is immediately
energized when terminals 1-2 close. This is the primary
and secondary safety shut-down function of the unit.
ORIFICE WITH
PIPE THREADS
Tighten to 6.25 + .5 ft.lbs.
Do not over-tighten.
FIGURE 24
4-Primary High Temperature Limits S10 & S99
๎˜ถ๎˜”๎˜“๎˜ƒ๎™Œ๎™–๎˜ƒ๎™—๎™‹๎™ˆ๎˜ƒ๎™“๎™•๎™Œ๎™๎™„๎™•๎™œ๎˜ƒ๎™‹๎™Œ๎™Š๎™‹๎˜ƒ๎™—๎™ˆ๎™๎™“๎™ˆ๎™•๎™„๎™—๎™˜๎™•๎™ˆ๎˜ƒ๎™๎™Œ๎™๎™Œ๎™—๎˜ƒ๎™‰๎™’๎™•๎˜ƒ๎™Š๎™„๎™–๎˜ƒ๎™‹๎™ˆ๎™„๎™—๎˜ƒ๎™–๎™ˆ๎™†-
๎™—๎™Œ๎™’๎™‘๎˜ƒ๎™’๎™‘๎™ˆ๎˜ƒ๎™„๎™‘๎™‡๎˜ƒ๎˜ถ๎˜œ๎˜œ๎˜ƒ๎™Œ๎™–๎˜ƒ๎™—๎™‹๎™ˆ๎˜ƒ๎™“๎™•๎™Œ๎™๎™„๎™•๎™œ๎˜ƒ๎™‹๎™Œ๎™Š๎™‹๎˜ƒ๎™—๎™ˆ๎™๎™“๎™ˆ๎™•๎™„๎™—๎™˜๎™•๎™ˆ๎˜ƒ๎™๎™Œ๎™๎™Œ๎™—๎˜ƒ๎™‰๎™’๎™•๎˜ƒ
๎™Š๎™„๎™–๎˜ƒ๎™‹๎™ˆ๎™„๎™—๎˜ƒ๎™–๎™ˆ๎™†๎™—๎™Œ๎™’๎™‘๎˜ƒ๎™—๎™š๎™’๎˜‘
๎˜ฌ๎™‘๎˜ƒ๎˜ฏ๎˜ช๎˜ท๎˜”๎˜˜๎˜™๎˜’๎˜–๎˜“๎˜“๎˜ƒ๎™˜๎™‘๎™Œ๎™—๎™–๎˜๎˜ƒ๎˜ถ๎˜”๎˜“๎˜ƒ๎™„๎™‘๎™‡๎˜ƒ๎˜ถ๎˜œ๎˜œ๎˜ƒ๎™„๎™•๎™ˆ๎˜ƒ๎™๎™’๎™†๎™„๎™—๎™ˆ๎™‡๎˜ƒ๎™’๎™‘๎˜ƒ๎™—๎™‹๎™ˆ๎˜ƒ๎™‡๎™•๎™Œ๎™“๎˜ƒ
๎™–๎™‹๎™Œ๎™ˆ๎™๎™‡๎˜ƒ๎™…๎™ˆ๎™‹๎™Œ๎™‘๎™‡๎˜ƒ๎™—๎™‹๎™ˆ๎˜ƒ๎™…๎™๎™’๎™š๎™ˆ๎™•๎˜ƒ๎™‹๎™’๎™˜๎™–๎™Œ๎™‘๎™Š๎˜‘๎˜ƒ๎˜ฌ๎™‘๎˜ƒ๎™—๎™‹๎™Œ๎™–๎˜ƒ๎™๎™’๎™†๎™„๎™—๎™Œ๎™’๎™‘๎˜ƒ๎˜ถ๎˜”๎˜“๎˜ƒ๎™„๎™‘๎™‡๎˜ƒ
๎˜ถ๎˜œ๎˜œ๎˜ƒ๎™„๎™๎™–๎™’๎˜ƒ๎™–๎™ˆ๎™•๎™™๎™ˆ๎˜ƒ๎™„๎™–๎˜ƒ๎™–๎™ˆ๎™†๎™’๎™‘๎™‡๎™„๎™•๎™œ๎˜ƒ๎™๎™Œ๎™๎™Œ๎™—๎™–๎˜‘๎˜ƒ๎˜ถ๎™ˆ๎™ˆ๎˜ƒ๎šฟ๎™Š๎™˜๎™•๎™ˆ๎˜ƒ๎˜•๎˜˜๎˜‘
๎˜ณ๎™•๎™Œ๎™๎™„๎™•๎™œ๎˜ƒ๎™๎™Œ๎™๎™Œ๎™—๎˜ƒ๎˜ถ๎˜”๎˜“๎˜ƒ๎™Œ๎™–๎˜ƒ๎™š๎™Œ๎™•๎™ˆ๎™‡๎˜ƒ๎™—๎™’๎˜ƒ๎™—๎™‹๎™ˆ๎˜ƒ๎˜ธ๎™‘๎™Œ๎™—๎˜ƒ๎˜ฆ๎™’๎™‘๎™—๎™•๎™’๎™๎™๎™ˆ๎™•๎˜ƒ๎˜ค๎˜˜๎˜˜๎˜ƒ๎™š๎™‹๎™Œ๎™†๎™‹๎˜ƒ
๎™ˆ๎™‘๎™ˆ๎™•๎™Š๎™Œ๎™๎™ˆ๎™–๎˜ƒ๎™…๎™˜๎™•๎™‘๎™ˆ๎™•๎˜ƒ๎˜”๎˜ƒ๎™†๎™’๎™‘๎™—๎™•๎™’๎™๎˜ƒ๎˜‹๎˜ค๎˜–๎˜Œ๎˜๎˜ƒ๎™š๎™‹๎™Œ๎™๎™ˆ๎˜ƒ๎™“๎™•๎™Œ๎™๎™„๎™•๎™œ๎˜ƒ๎™๎™Œ๎™๎™Œ๎™—๎˜ƒ๎˜ถ๎˜œ๎˜œ๎˜ƒ๎™Œ๎™–๎˜ƒ
๎™š๎™Œ๎™•๎™ˆ๎™‡๎˜ƒ๎™—๎™’๎˜ƒ๎™—๎™‹๎™ˆ๎˜ƒ๎˜ค๎˜˜๎˜˜๎˜ƒ๎˜ธ๎™‘๎™Œ๎™—๎˜ƒ๎˜ฆ๎™’๎™‘๎™—๎™•๎™’๎™๎™๎™ˆ๎™•๎˜ƒ๎™š๎™‹๎™Œ๎™†๎™‹๎˜ƒ๎™ˆ๎™‘๎™ˆ๎™•๎™Š๎™Œ๎™๎™ˆ๎™–๎˜ƒ๎™…๎™˜๎™•๎™‘๎™ˆ๎™•๎˜ƒ๎˜•๎˜ƒ
๎™†๎™’๎™‘๎™—๎™•๎™’๎™๎˜ƒ ๎˜‹๎˜ค๎˜”๎˜•๎˜Œ๎˜‘๎˜ƒ ๎˜ฌ๎™—๎™–๎˜ƒ ๎˜ฑ๎˜‘๎˜ฆ๎˜‘๎˜ƒ ๎™†๎™’๎™‘๎™—๎™„๎™†๎™—๎™–๎˜ƒ ๎™’๎™“๎™ˆ๎™‘๎˜ƒ ๎™—๎™’๎˜ƒ ๎™‡๎™ˆ๎˜๎™ˆ๎™‘๎™ˆ๎™•๎™Š๎™Œ๎™๎™ˆ๎˜ƒ ๎™—๎™‹๎™ˆ๎˜ƒ
๎™Œ๎™Š๎™‘๎™Œ๎™—๎™Œ๎™’๎™‘๎˜ƒ๎™†๎™’๎™‘๎™—๎™•๎™’๎™๎˜ƒ๎™š๎™‹๎™ˆ๎™‘๎˜ƒ๎™ˆ๎™›๎™†๎™ˆ๎™–๎™–๎™Œ๎™™๎™ˆ๎˜ƒ๎™—๎™ˆ๎™๎™“๎™ˆ๎™•๎™„๎™—๎™˜๎™•๎™ˆ๎˜ƒ๎™Œ๎™–๎˜ƒ๎™•๎™ˆ๎™„๎™†๎™‹๎™ˆ๎™‡๎˜ƒ๎™Œ๎™‘๎˜ƒ
๎™—๎™‹๎™ˆ๎˜ƒ๎™…๎™๎™’๎™š๎™ˆ๎™•๎˜ƒ๎™†๎™’๎™๎™“๎™„๎™•๎™—๎™๎™ˆ๎™‘๎™—๎˜‘๎˜ƒ๎˜ค๎™—๎˜ƒ๎™—๎™‹๎™ˆ๎˜ƒ๎™–๎™„๎™๎™ˆ๎˜ƒ๎™—๎™Œ๎™๎™ˆ๎˜๎˜ƒ๎™—๎™‹๎™ˆ๎˜ƒ๎˜ฑ๎˜‘๎˜ฒ๎˜‘๎˜ƒ๎™†๎™’๎™‘-
๎™—๎™„๎™†๎™—๎™–๎˜ƒ๎™’๎™‰๎˜ƒ๎˜ถ๎˜”๎˜“๎˜ƒ๎™„๎™‘๎™‡๎˜ƒ๎˜ถ๎˜œ๎˜œ๎˜ƒ๎™†๎™๎™’๎™–๎™ˆ๎˜ƒ๎™ˆ๎™‘๎™ˆ๎™•๎™Š๎™Œ๎™๎™Œ๎™‘๎™Š๎˜ƒ๎™—๎™‹๎™ˆ๎˜ƒ๎™…๎™๎™’๎™š๎™ˆ๎™•๎˜ƒ๎™•๎™ˆ๎™๎™„๎™œ๎˜ƒ๎™†๎™’๎™Œ๎™๎˜ƒ
๎˜ฎ๎˜–๎˜ƒ๎™—๎™‹๎™•๎™’๎™˜๎™Š๎™‹๎˜ƒ๎™†๎™’๎™‘๎™—๎™•๎™’๎™๎˜ƒ๎˜ค๎˜˜๎˜˜๎˜‘๎˜ƒ๎˜ฌ๎™‰๎˜ƒ๎™ˆ๎™Œ๎™—๎™‹๎™ˆ๎™•๎˜ƒ๎™๎™Œ๎™๎™Œ๎™—๎˜ƒ๎™—๎™•๎™Œ๎™“๎™–๎˜ƒ๎™—๎™‹๎™ˆ๎˜ƒ๎™…๎™๎™’๎™š๎™ˆ๎™•๎˜ƒ๎™š๎™Œ๎™๎™๎˜ƒ
๎™…๎™ˆ๎˜ƒ๎™ˆ๎™‘๎™ˆ๎™•๎™Š๎™Œ๎™๎™ˆ๎™‡๎˜‘๎˜ƒ๎˜ฏ๎™Œ๎™๎™Œ๎™—๎™–๎˜ƒ ๎™–๎™ˆ๎™—๎™—๎™Œ๎™‘๎™Š๎™–๎˜ƒ ๎™„๎™•๎™ˆ๎˜ƒ ๎™‰๎™„๎™†๎™—๎™’๎™•๎™œ๎˜ƒ ๎™–๎™ˆ๎™—๎˜ƒ๎™„๎™‘๎™‡๎˜ƒ๎™†๎™„๎™‘๎™‘๎™’๎™—๎˜ƒ
๎™…๎™ˆ๎˜ƒ๎™„๎™‡๎™๎™˜๎™–๎™—๎™ˆ๎™‡๎˜‘๎˜ƒ๎˜ฌ๎™‰๎˜ƒ๎™๎™Œ๎™๎™Œ๎™—๎˜ƒ๎™๎™˜๎™–๎™—๎˜ƒ๎™…๎™ˆ๎˜ƒ๎™•๎™ˆ๎™“๎™๎™„๎™†๎™ˆ๎™‡๎˜ƒ๎™–๎™„๎™๎™ˆ๎˜ƒ๎™—๎™œ๎™“๎™ˆ๎˜ƒ๎™„๎™‘๎™‡๎˜ƒ๎™–๎™ˆ๎™—๎˜ƒ
๎™“๎™’๎™Œ๎™‘๎™—๎˜ƒ๎™๎™˜๎™–๎™—๎˜ƒ๎™…๎™ˆ๎˜ƒ๎™˜๎™–๎™ˆ๎™‡๎˜‘๎˜ƒ๎˜ถ๎™ˆ๎™ˆ๎˜ƒ๎˜ต๎™ˆ๎™“๎™„๎™Œ๎™•๎˜ƒ๎˜ณ๎™„๎™•๎™—๎™–๎˜ƒ๎˜ซ๎™„๎™‘๎™‡๎™…๎™’๎™’๎™Ž๎˜‘
S10 and S99 Location
CONDENSER
DIVIDER
PANEL
S10 AND S99 ON
HIND BLOWER
HOUSING
GAS HEAT
SECTION 1
GAS HEAT
SECTION 2
FIGURE 25
5-Flame Rollout Limits S47, S69
๎˜ฉ๎™๎™„๎™๎™ˆ๎˜ƒ๎™•๎™’๎™๎™๎™’๎™˜๎™—๎˜ƒ๎™๎™Œ๎™๎™Œ๎™—๎™–๎˜ƒ๎˜ถ๎˜—๎˜š๎˜ƒ๎™’๎™‘๎˜ƒ๎šฟ๎™•๎™–๎™—๎˜ƒ๎™‹๎™ˆ๎™„๎™—๎˜ƒ๎™–๎™ˆ๎™†๎™—๎™Œ๎™’๎™‘๎˜ƒ๎™„๎™‘๎™‡๎˜ƒ๎˜ถ๎˜™๎˜œ๎˜ƒ๎™’๎™‘๎˜ƒ
๎™–๎™ˆ๎™†๎™’๎™‘๎™‡๎˜ƒ ๎™‹๎™ˆ๎™„๎™—๎˜ƒ ๎™–๎™ˆ๎™†๎™—๎™Œ๎™’๎™‘๎˜ƒ ๎™„๎™•๎™ˆ๎˜ƒ ๎˜ถ๎˜ณ๎˜ถ๎˜ท๎˜ƒ ๎˜ฑ๎˜‘๎˜ฆ๎˜‘๎˜ƒ ๎™‹๎™Œ๎™Š๎™‹๎˜ƒ ๎™—๎™ˆ๎™๎™“๎™ˆ๎™•๎™„๎™—๎™˜๎™•๎™ˆ๎˜ƒ
๎™๎™Œ๎™๎™Œ๎™—๎™–๎˜ƒ๎™๎™’๎™†๎™„๎™—๎™ˆ๎™‡๎˜ƒ๎™๎™˜๎™–๎™—๎˜ƒ๎™„๎™…๎™’๎™™๎™ˆ๎˜ƒ๎™—๎™‹๎™ˆ๎˜ƒ๎™…๎™˜๎™•๎™‘๎™ˆ๎™•๎˜ƒ๎™„๎™Œ๎™•๎˜ƒ๎™Œ๎™‘๎™—๎™„๎™Ž๎™ˆ๎˜ƒ๎™’๎™“๎™ˆ๎™‘๎™Œ๎™‘๎™Š๎˜ƒ๎™Œ๎™‘๎˜ƒ
๎™—๎™‹๎™ˆ๎˜ƒ ๎™…๎™˜๎™•๎™‘๎™ˆ๎™•๎˜ƒ ๎™ˆ๎™‘๎™†๎™๎™’๎™–๎™˜๎™•๎™ˆ๎™–๎˜ƒ๎˜‹๎™–๎™ˆ๎™ˆ๎˜ƒ ๎šฟ๎™Š๎™˜๎™•๎™ˆ๎˜•๎˜•๎˜Œ๎˜‘๎˜ƒ ๎˜ฅ๎™’๎™—๎™‹๎˜ƒ ๎™–๎™š๎™Œ๎™—๎™†๎™‹๎™ˆ๎™–๎˜ƒ ๎™„๎™•๎™ˆ๎˜ƒ
๎™š๎™Œ๎™•๎™ˆ๎™‡๎˜ƒ๎™—๎™’๎˜ƒ๎™—๎™‹๎™ˆ๎˜ƒ๎˜ค๎˜˜๎˜˜๎˜ƒ๎˜ธ๎™‘๎™Œ๎™—๎˜ƒ๎˜ฆ๎™’๎™‘๎™—๎™•๎™’๎™๎™๎™ˆ๎™•๎˜‘๎˜ƒ๎˜บ๎™‹๎™ˆ๎™‘๎˜ƒ๎˜ถ๎˜—๎˜š๎˜ƒ๎™’๎™•๎˜ƒ๎˜ถ๎˜™๎˜œ๎˜ƒ๎™–๎™ˆ๎™‘๎™–๎™ˆ๎™–๎˜ƒ
๎›€๎™„๎™๎™ˆ๎˜ƒ๎™•๎™’๎™๎™๎™’๎™˜๎™—๎˜ƒ๎˜‹๎™Œ๎™‘๎™‡๎™Œ๎™†๎™„๎™—๎™Œ๎™‘๎™Š๎˜ƒ๎™„๎˜ƒ๎™…๎™๎™’๎™†๎™Ž๎™„๎™Š๎™ˆ๎˜ƒ๎™Œ๎™‘๎˜ƒ๎™—๎™‹๎™ˆ๎˜ƒ๎™†๎™’๎™๎™…๎™˜๎™–๎™—๎™Œ๎™’๎™‘๎˜ƒ๎™„๎™Œ๎™•๎˜ƒ
๎™“๎™„๎™–๎™–๎™„๎™Š๎™ˆ๎™–๎˜Œ๎˜๎˜ƒ๎™—๎™‹๎™ˆ๎˜ƒ๎™†๎™’๎™•๎™•๎™ˆ๎™–๎™“๎™’๎™‘๎™‡๎™Œ๎™‘๎™Š๎˜ƒ๎›€๎™„๎™๎™ˆ๎˜ƒ๎™•๎™’๎™๎™๎™’๎™˜๎™—๎˜ƒ๎™๎™Œ๎™๎™Œ๎™—๎˜ƒ๎™—๎™•๎™Œ๎™“๎™–๎˜ƒ๎™„๎™‘๎™‡๎˜ƒ
๎™—๎™‹๎™ˆ๎˜ƒ๎™Œ๎™Š๎™‘๎™Œ๎™—๎™Œ๎™’๎™‘๎˜ƒ๎™†๎™’๎™‘๎™—๎™•๎™’๎™๎˜ƒ๎™Œ๎™๎™๎™ˆ๎™‡๎™Œ๎™„๎™—๎™ˆ๎™๎™œ๎˜ƒ๎™†๎™๎™’๎™–๎™ˆ๎™–๎˜ƒ๎™—๎™‹๎™ˆ๎˜ƒ๎™Š๎™„๎™–๎˜ƒ๎™™๎™„๎™๎™™๎™ˆ๎˜‘๎˜ƒ๎˜ฏ๎™Œ๎™๎™Œ๎™—๎˜ƒ
๎˜ถ๎˜—๎˜š๎˜ƒ๎™„๎™‘๎™‡๎˜ƒ๎˜ถ๎˜™๎˜œ๎˜ƒ๎™Œ๎™‘๎˜ƒ๎™–๎™—๎™„๎™‘๎™‡๎™„๎™•๎™‡๎˜ƒ๎™‹๎™ˆ๎™„๎™—๎˜ƒ๎™˜๎™‘๎™Œ๎™—๎™–๎˜ƒ๎™„๎™•๎™ˆ๎˜ƒ๎™‰๎™„๎™†๎™—๎™’๎™•๎™œ๎˜ƒ๎™“๎™•๎™ˆ๎™–๎™ˆ๎™—๎˜ƒ๎™—๎™’๎˜ƒ
๎™’๎™“๎™ˆ๎™‘๎˜ƒ๎™„๎™—๎˜ƒ๎˜•๎˜œ๎˜“๎˜ƒ๎˜ฉ๎˜ƒ+๎˜ƒ๎˜”๎˜•๎˜ƒ๎˜ฉ๎˜ƒ๎™’๎™‘๎˜ƒ๎™„๎˜ƒ๎™—๎™ˆ๎™๎™“๎™ˆ๎™•๎™„๎™—๎™˜๎™•๎™ˆ๎˜ƒ๎™•๎™Œ๎™–๎™ˆ๎˜๎˜ƒ๎™š๎™‹๎™Œ๎™๎™ˆ๎˜ƒ๎™’๎™‘๎˜ƒ๎™‹๎™Œ๎™Š๎™‹๎˜ƒ
๎™‹๎™ˆ๎™„๎™—๎˜ƒ๎™˜๎™‘๎™Œ๎™—๎™–๎˜ƒ๎™…๎™’๎™—๎™‹๎˜ƒ๎™๎™Œ๎™๎™Œ๎™—๎™–๎˜ƒ๎™’๎™“๎™ˆ๎™‘๎˜ƒ๎™„๎™—๎˜ƒ๎˜•๎˜š๎˜“๎˜ƒ๎˜ฉ๎˜ƒ+ 12 F on a tempera-
๎™—๎™˜๎™•๎™ˆ๎˜ƒ๎™•๎™Œ๎™–๎™ˆ๎˜‘๎˜ƒ๎˜ค๎™๎™๎˜ƒ๎›€๎™„๎™๎™ˆ๎˜ƒ๎™•๎™’๎™๎™๎™’๎™˜๎™—๎˜ƒ๎™๎™Œ๎™๎™Œ๎™—๎™–๎˜ƒ๎™„๎™•๎™ˆ๎˜ƒ๎™๎™„๎™‘๎™˜๎™„๎™๎˜ƒ๎™•๎™ˆ๎™–๎™ˆ๎™—๎˜‘
6-Combustion Air Prove Switches S18, S45
๎˜ณ๎™•๎™’๎™™๎™ˆ๎˜ƒ๎™–๎™š๎™Œ๎™—๎™†๎™‹๎™ˆ๎™–๎˜ƒ๎˜ถ๎˜”๎˜›๎˜ƒ๎˜‹๎šฟ๎™•๎™–๎™—๎˜ƒ๎™‹๎™ˆ๎™„๎™—๎˜ƒ๎™–๎™ˆ๎™†๎™—๎™Œ๎™’๎™‘๎˜Œ๎˜ƒ๎™„๎™‘๎™‡๎˜ƒ๎˜ถ๎˜—๎˜˜๎˜ƒ๎˜‹๎™–๎™ˆ๎™†๎™’๎™‘๎™‡๎˜ƒ
๎™‹๎™ˆ๎™„๎™—๎˜ƒ๎™–๎™ˆ๎™†๎™—๎™Œ๎™’๎™‘๎˜Œ๎˜ƒ๎™„๎™•๎™ˆ๎˜ƒ๎™๎™’๎™†๎™„๎™—๎™ˆ๎™‡๎˜ƒ๎™Œ๎™‘๎˜ƒ๎™—๎™‹๎™ˆ๎˜ƒ๎™†๎™’๎™๎™“๎™•๎™ˆ๎™–๎™–๎™’๎™•๎˜ƒ๎™†๎™’๎™๎™“๎™„๎™•๎™—๎™๎™ˆ๎™‘๎™—๎˜‘๎˜ƒ
๎˜จ๎™„๎™†๎™‹๎˜ƒ ๎™‹๎™„๎™–๎˜ƒ ๎™Œ๎™—๎™–๎˜ƒ ๎™’๎™š๎™‘๎˜ƒ ๎™†๎™’๎™‘๎™—๎™•๎™’๎™๎˜ƒ ๎™…๎™’๎™›๎˜‘๎˜ƒ ๎˜ฅ๎™’๎™—๎™‹๎˜ƒ ๎™„๎™•๎™ˆ๎˜ƒ ๎™Œ๎™‡๎™ˆ๎™‘๎™—๎™Œ๎™†๎™„๎™๎˜ƒ ๎˜ถ๎˜ณ๎˜ถ๎˜ท๎˜ƒ
๎˜ฑ๎˜‘๎˜ฒ๎˜‘๎˜ƒ๎™–๎™š๎™Œ๎™—๎™†๎™‹๎™ˆ๎™–๎˜ƒ๎™„๎™‘๎™‡๎˜ƒ๎™๎™’๎™‘๎™Œ๎™—๎™’๎™•๎˜ƒ๎™†๎™’๎™๎™…๎™˜๎™–๎™—๎™Œ๎™’๎™‘๎˜ƒ ๎™„๎™Œ๎™•๎˜ƒ ๎™Œ๎™‘๎™‡๎™˜๎™†๎™ˆ๎™•๎˜ƒ ๎™’๎™“๎™ˆ๎™•-
๎™„๎™—๎™Œ๎™’๎™‘๎˜‘๎˜ƒ๎˜ถ๎™š๎™Œ๎™—๎™†๎™‹๎˜ƒ๎˜ถ๎˜”๎˜›๎˜ƒ๎™„๎™‘๎™‡๎˜ƒ๎˜ถ๎˜—๎˜˜๎˜ƒ๎™„๎™•๎™ˆ๎˜ƒ๎™š๎™Œ๎™•๎™ˆ๎™‡๎˜ƒ๎™—๎™’๎˜ƒ๎™—๎™‹๎™ˆ๎˜ƒ๎˜ค๎˜˜๎˜˜๎˜ƒ๎˜ธ๎™‘๎™Œ๎™—๎˜ƒ๎˜ฆ๎™’๎™‘-
๎™—๎™•๎™’๎™๎™๎™ˆ๎™•๎˜‘

Related product manuals