EasyManua.ls Logo

Lennox LCC300H2 - Gas Heat

Lennox LCC300H2
76 pages
Print Icon
To Next Page IconTo Next Page
To Next Page IconTo Next Page
To Previous Page IconTo Previous Page
To Previous Page IconTo Previous Page
Loading...
Page 69
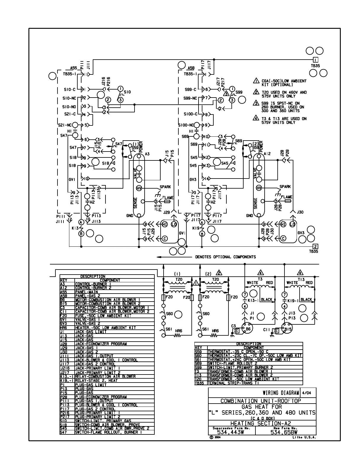
GAS HEAT FOR LGA/LGC248/300/360
8
9
7
11
14
12
1
2
3
4
7
5
9
15
15
13
10
10
13
4
2
15
6
5
15

Related product manuals