EasyManua.ls Logo

Lenze EVS9321EP - Page 282

Lenze EVS9321EP
334 pages
To Next Page IconTo Next Page
To Next Page IconTo Next Page
To Previous Page IconTo Previous Page
To Previous Page IconTo Previous Page
Loading...
Function library
Function blocks
3.5.59 Switching points (SP)
3−254
l
EDSVS9332P−EXT DE 2.0
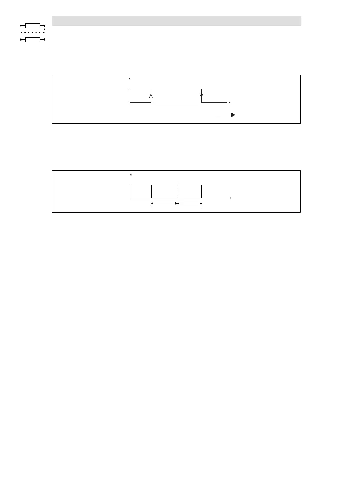
Switch−on and switch−off positions depend on the travel direction:
S P x - S T A T x
S P x - L - I N
I N x - 1
H I G H
L O W
I N x - 2
T r a v e l d i r e c t i o n
( O N ) ( O F F )
Fig. 3−202 Definition of a switch−on and switch−off position according to the travel direction
Mode 2: Centre point with switching range
C1645 = set 1 (SP1)
C1655 = set 1 (SP2)
SPx-L-IN
SPx-STATx
HIGH
LOW
INx-1
INx-2 INx-2
Fig. 3−203 Centre point with switching range
l INx−1 determines the centre point.
l INx−2 determines the switching range around the centre point.
3.5.59.2 Hysteresis
This function is available only for the FB SP2.
Purpose
Avoids indefined switching of the output signals (in standstill the drive is located exactly on a
switching point).
Function
l The hysteresis is entered via C1658.
The setting is effective for SP2−STAT1 ... SP2−STAT8.

Table of Contents

Related product manuals