EasyManua.ls Logo

Lenze EVS9322EP - Page 77

Lenze EVS9322EP
334 pages
Print Icon
To Next Page IconTo Next Page
To Next Page IconTo Next Page
To Previous Page IconTo Previous Page
To Previous Page IconTo Previous Page
Loading...
Function library
Positioning control
3.4.8 Homing
3−49
l
EDSVS9332P−EXT DE 2.0
3.4.8.4 Homing modes 0 and 1
Purpose
l Simple homing in all positioning modes (C1210 = 0, 1, 2).
l The homing switch (POS−REF−MARK) must be in direction of the movement.
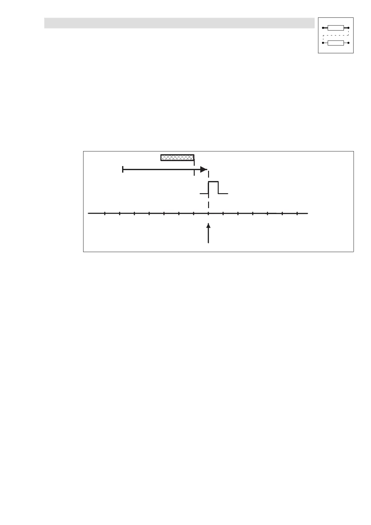
Move to reference point via homing switch
Mode 0: Traversing direction to positive end of travel range limit switch
Set C1213 = 0.
Homing switch (POS-REF-MARK)
Zero pulse/zero position
Home position
Direction
9300pos052
Fig. 3−16 Move to reference point via homing switch
Function sequence
l Move to the reference point with homing speed (C1242) towards positive end of travel range
limit switch overtravelling the homing switch.
l The reference point is at the first zero pulse / zero position of the position encoder after leaving
the homing switch.
The drive can be on the homing switch before homing.
Mode 1: Traversing direction to negative end of travel range limit switch
Set C1213 = 1.
Function sequence
l Like mode 0, but the drive traverses in negative direction to travel range limit switch.

Table of Contents

Related product manuals