EasyManua.ls Logo

Lenze EVS9325EP - Delay Elements (DIGDEL)

Lenze EVS9325EP
334 pages
Print Icon
To Next Page IconTo Next Page
To Next Page IconTo Next Page
To Previous Page IconTo Previous Page
To Previous Page IconTo Previous Page
Loading...
Function library
Function blocks
3.5.31 Delay elements (DIGDEL)
3−182
l
EDSVS9332P−EXT DE 2.0
3.5.31 Delay elements (DIGDEL)
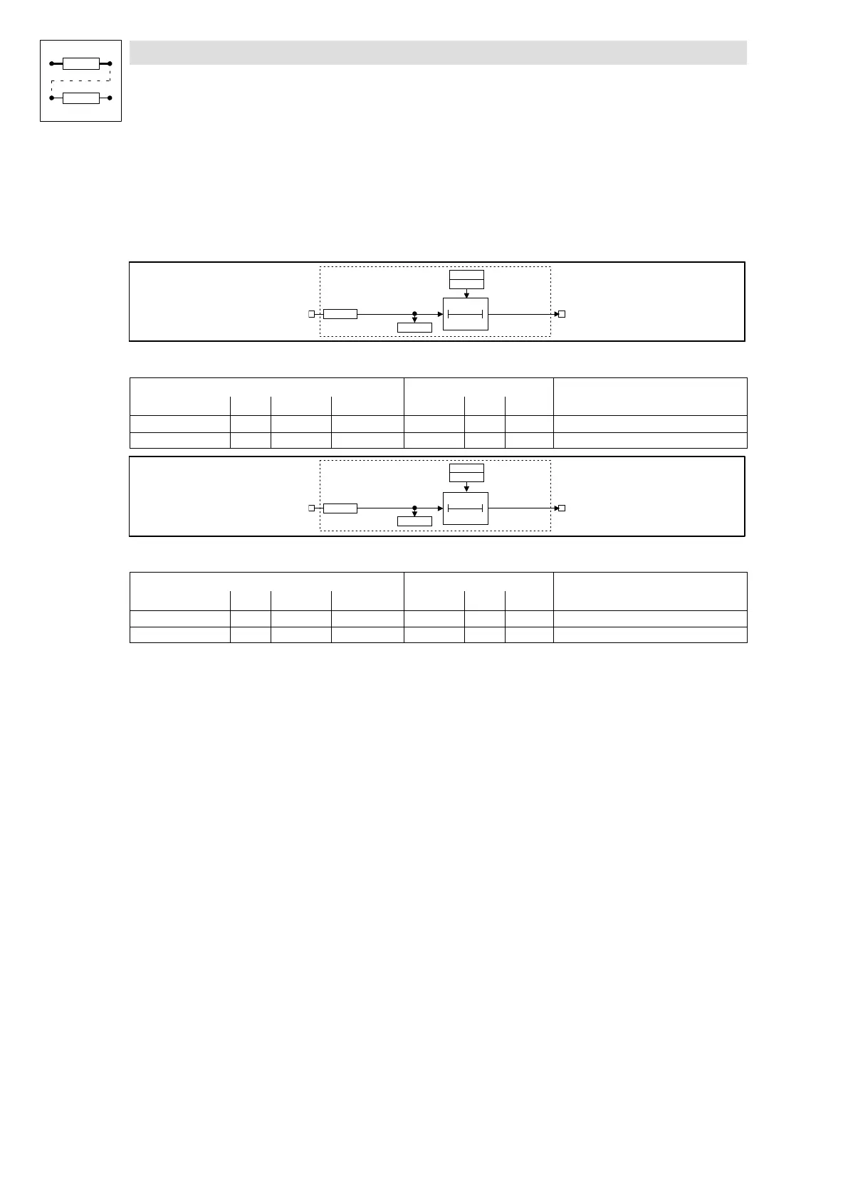
Purpose
This function is used to delay digital signals. This function can be used for the control of functions
or the generation of status information.
t
0
DIGDEL1-IN
C0724
DIGDEL1-OUT
DIGDEL1
C0721
C0720
C0723
Fig. 3−130 Delay element (DIGDEL1)
Signal
Source Note
Name Type DIS DIS format CFG List Lenze
DIGDEL1−IN d C0724 bin C0723 2 1000
DIGDEL1−OUT d
t
0
DIGDEL2-IN
C0729
DIGDEL2-OUT
DIGDEL2
C0726
C0725
C0728
Fig. 3−131 Delay element (DIGDEL2)
Signal
Source Note
Name Type DIS DIS format CFG List Lenze
DIGDEL2−IN d C0729 bin C0728 2 1000
DIGDEL−OUT d
Function
You can select the following functions under C0720 (DIGDEL1) and C0725 (DIGDEL2):
l On−delay
l Off−delay
l General delay

Table of Contents

Related product manuals