EasyManua.ls Logo

LF Bros E Series - Power Supply; Fuel Supply; Installation

LF Bros E Series
28 pages
Print Icon
To Next Page IconTo Next Page
To Next Page IconTo Next Page
To Previous Page IconTo Previous Page
To Previous Page IconTo Previous Page
Loading...
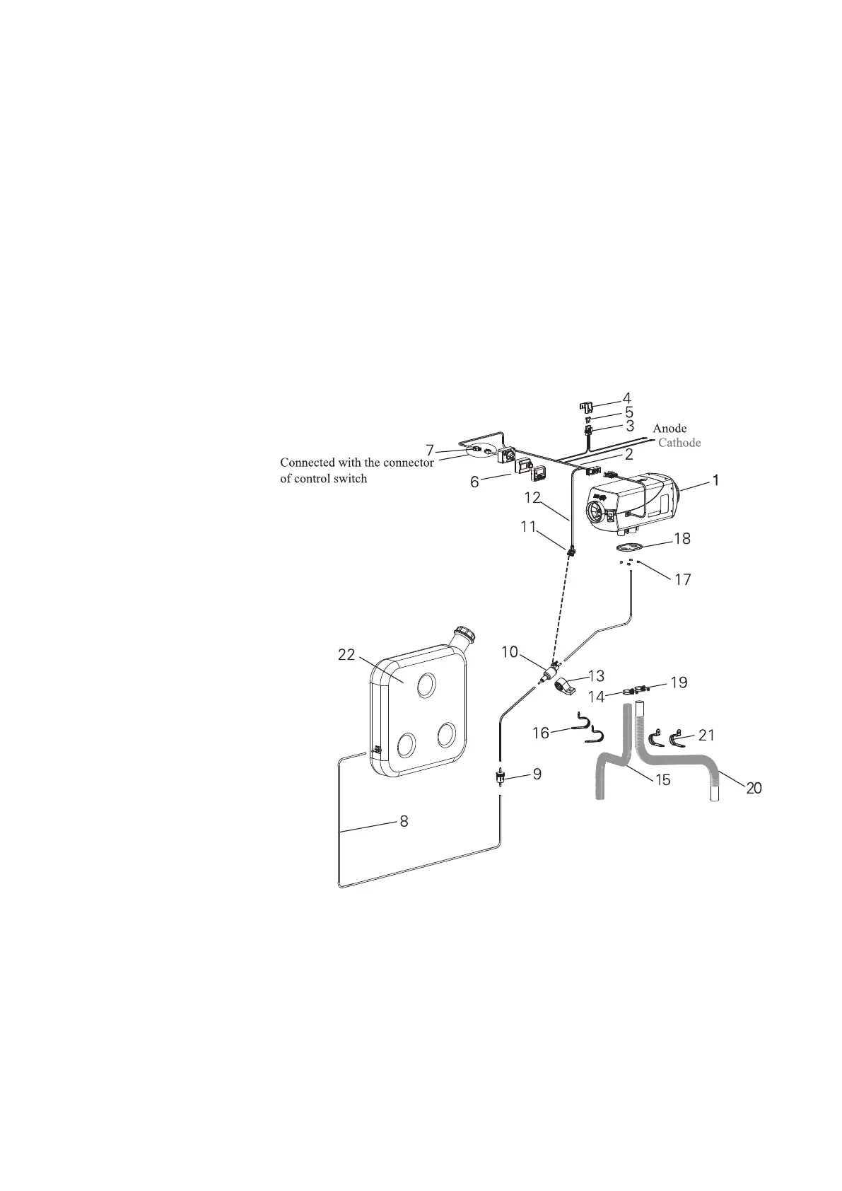
Fig. 5 Installation
3.5 Power Supply
?B$)>/
?')'1'2
?)>
3.6 Fuel Supply
)'$?$'$?)>0'?')
?'G)>
4 Installation
?$'))>
0>')>
> +
> &
> 0'
> 0$:
> ')
"> 6
!> 6)I4
%> 0
4> 0
> 0
> 0
> '
> 0
> *
> *
"> *:
!> &"
%> K
4> 9::
> 9:
> 9::
> 0
':?)??)'))?)$
$)')?-)>
??)?$?>
%(%