EasyManua.ls Logo

LG A2UW166FA1 - Page 81

LG A2UW166FA1
268 pages
Print Icon
To Next Page IconTo Next Page
To Next Page IconTo Next Page
To Previous Page IconTo Previous Page
To Previous Page IconTo Previous Page
Loading...
Service Manual 81
Installation
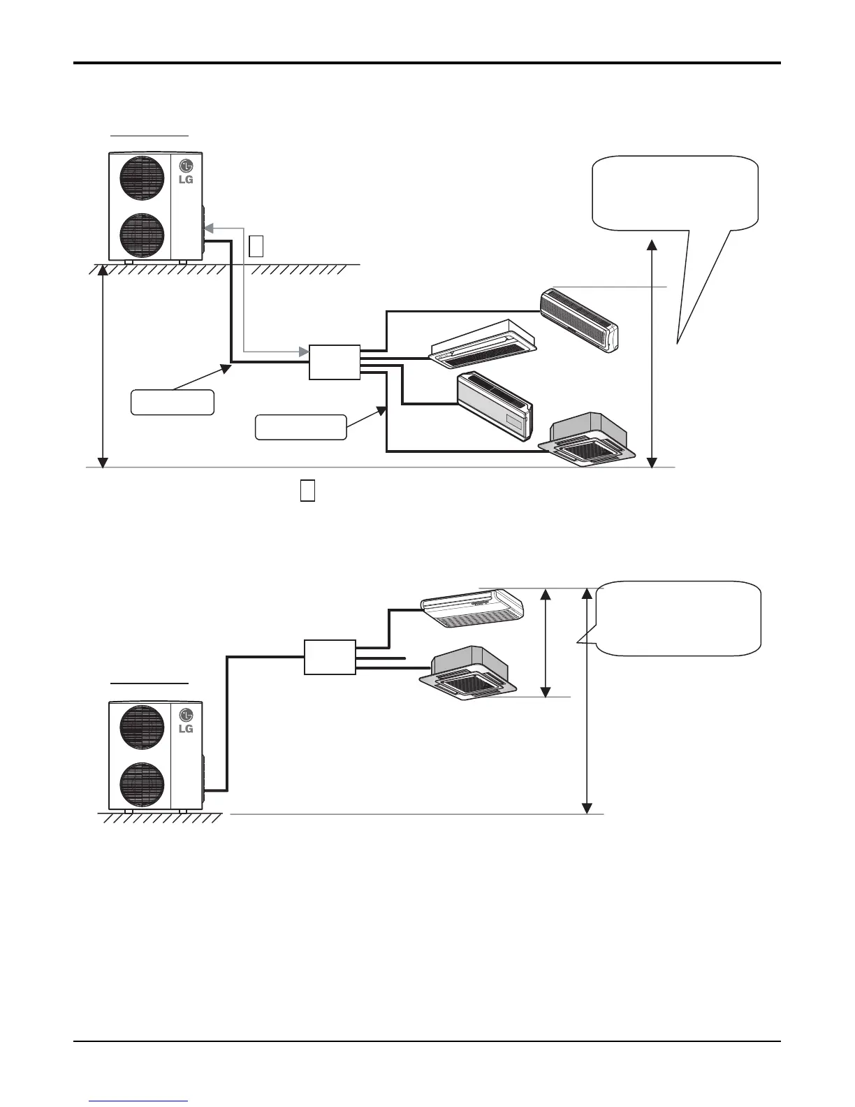
Distributor Type(A4UW306FA1)
L
1
L
2
L
3
L
4
15m
Installation of the outdoor unit
in an upper position
7.5m
A
Outdoor Unit
15m
7.5m
Installation of the outdoor unit
in a lower position
Total main piping length : 15m( )
Total branch piping length : 50m(
L
1
+L
2
+ L
3
+L
4
)
Each branch piping length : 15m(L
1
,L
2
,L
3
,L
4
)
Total system piping length : 65m(15+50)
A
Place the BD unit and
indoor units within a
level distance of 7.5m
from each other.
Main piping
Branch piping
Place the BD unit and
indoor units within a
level distance of 7.5m
from each other.
Outdoor Unit
BD Unit
BD Unit
R

Table of Contents

Other manuals for LG A2UW166FA1

Related product manuals