EasyManua.ls Logo

LG B09TS - Автоматичний Перезапуск Кондиціонера Повітря; Використання Функції Вибору Режиму

LG B09TS
232 pages
Print Icon
To Next Page IconTo Next Page
To Next Page IconTo Next Page
To Previous Page IconTo Previous Page
To Previous Page IconTo Previous Page
Loading...
17
UK
Автоматичний перезапуск
кондиціонера повітря
Коли кондиціонер повітря вмикається після збою
електроживлення, ця функція відновлює
попередні налаштування.
Вимкнення функції автоматичного
перезапуску
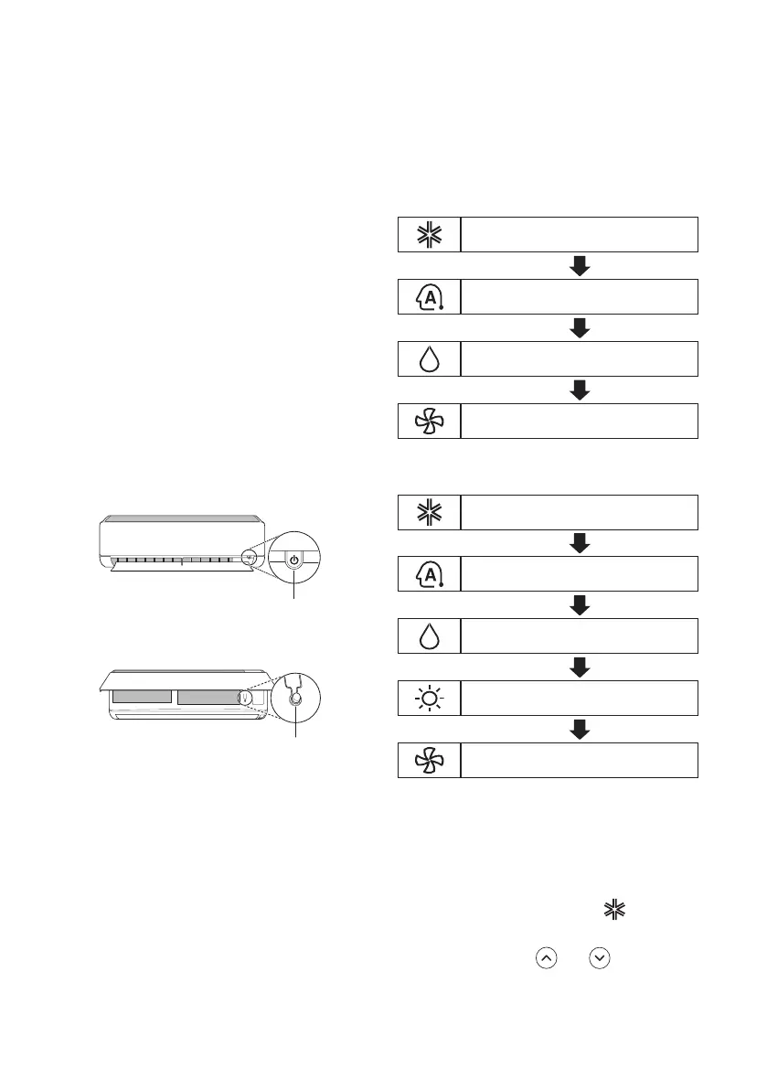
1
Відкрийте передню кришку ип2) або
горизонтальну заслінку ип1).
2
Натисніть кнопку ON/OFF та утримуйте її
протягом 6 секунд. З блока двічі пролунає
звуковий сигнал, і лампа двічі блимне по
4 рази.
Щоб знову ввімкнути цю функцію, натисніть
кнопку ON/OFF та утримуйте її протягом
6 секунд. З блока двічі пролунає звуковий
сигнал, і лампа блимне 4 рази.
Тип1
ON/OFF
Тип2
ON/OFF
ПРИМІТКА
Ця характеристика може відрізнятися залежно
від типу моделі.
Якщо натиснути кнопку ON/OFF та утримувати
її 3–5 секунд, а не 6 секунд, пристрій перейде
в режим тестової роботи. У тестовому режимі
пристрій випускає сильний потік охолодженого
повітря протягом 18 хвилин, а потім його
налаштування змінюються на заводські.
Використання функції вибору
режиму
Цей режим дає змогу вибрати потрібну функцію.
Модель тільки з функцією
охолодження
Режим охолодження
Режим автоматичної роботи
(штучний інтелект)
Режим осушування повітря
Режим вентилятора
Моделі з функціями охолодження
й обігріву
Режим охолодження
Режим автоматичного чергування
функцій
Режим осушування повітря
Режим обігріву
Режим вентилятора
Режим охолодження
1
Увімкніть пристрій.
2
Натисніть кнопку MODE необхідну кількість
разів, щоб вибрати режим охолодження.
На дисплеї відобразиться .
3
Натисніть кнопку або , щоб задати
потрібну температуру.

Table of Contents

Related product manuals