EasyManua.ls Logo

LG B09TS - Ауа Кондиционерін Автоматты Түрде Қайта Іске Қосу; Режим Функциясын Пайдалану

LG B09TS
232 pages
Print Icon
To Next Page IconTo Next Page
To Next Page IconTo Next Page
To Previous Page IconTo Previous Page
To Previous Page IconTo Previous Page
Loading...
17
KK
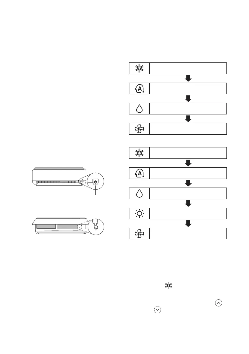
Ауа кондиционерін автоматты
түрде қайта іске қосу
Электр қуаты өшірілгеннен кейін ауа
кондиционері қосылған кезде бұл функция
алдыңғы параметрлерді қайта қалпына келтіреді.
Автоматты түрде қайта іске
қосуды ажырату
1
Алдыңғы қақпақты (2-түрі) немесе көлденең
дефлекторды (1-түрі) ашыңыз.
2
ON/OFF түймесін 6 секунд басып тұрыңыз,
содан кейін құрылғы екі рет дыбыс
шығарады және шам қатарынан 4 рет
жыпылықтайды.
Функцияны қайта қосу үшін ON/OFF
түймесін 6 секундтай басып тұрыңыз.
Құрылғы екі рет дыбыс шығарады және
шам 4 жыпылықтайды.
1-түрі
ON/OFF
2-түрі
ON/OFF
ЕСКЕРТПЕ
Мүмкіндік модельдің түріне байланысты әр
түрлі болуы мүмкін.
Егер ON/OFF түймесін 6 секунд басудың
орнына 3 5 секундтай басып тұрсаңыз,
құрылғы жұмыс істеуді тексеруге ауысады.
Жұмыс істеуді тексеру кезінде құрылғы 18
минуттай өте салқын ауа шығарып кейін әдепкі
зауыттық параметрге оралады.
Режим функциясын пайдалану
Бұл функция қалаған функцияны таңдауға
мүмкіндік береді.
Тек салқындату моделі
«Салқындату» режимі
«Автоматты түрде жұмыс істеу»
(AI) режимі
«Ылғалсыздандыру» режимі
«Желдеткіш» режимі
Салқындату және жылыту моделі
«Салқындату» режимі
«Авто ауыстыру» режимі
«Ылғалсыздандыру» режимі
«Жылыту» режимі
«Желдеткіш» режимі
«Салқындату» режимі
1
Құрылғыны қосыңыз.
2
«Салқындату» режимін таңдау үшін MODE
түймесін қайталап басыңыз.
Дисплейде белгішесі көрсетіледі.
3
Қалаған температураны орнату үшін
немесе түймесін басыңыз.

Table of Contents

Related product manuals