EasyManua.ls Logo

LG GR-B197DVCA - Page 113

LG GR-B197DVCA
119 pages
Print Icon
To Next Page IconTo Next Page
To Next Page IconTo Next Page
To Previous Page IconTo Previous Page
To Previous Page IconTo Previous Page
Loading...
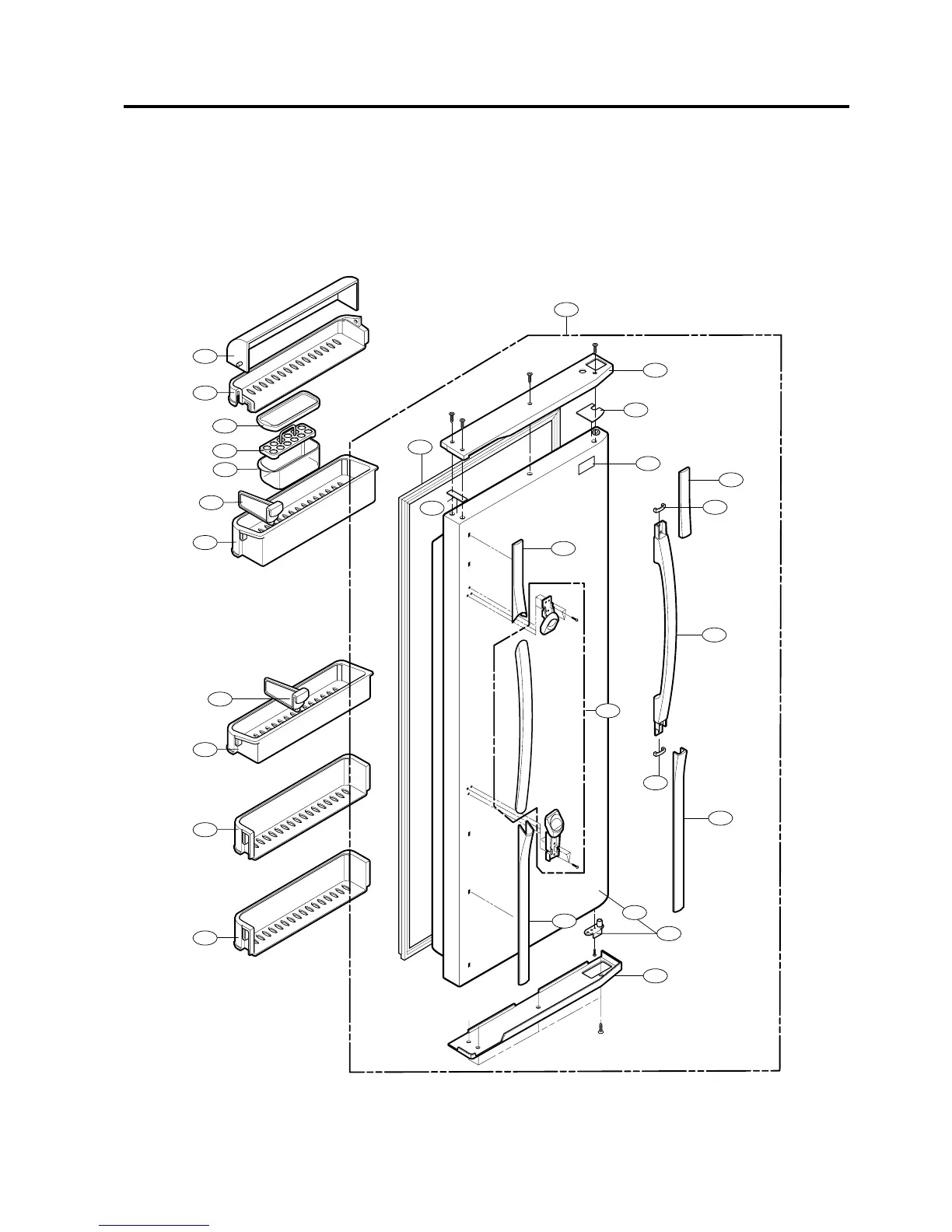
Ref No. : GR-L247, GR-L207, GR-B247, GR-B207, GR-B197
REFRIGERATOR DOOR PART
* : Optional part
EXPLODED VIEW
- 113 -
233A
232A
240C
240C
240A
240A
147A
231A
230A
234A
243A
243A
241B
241A
147B
*
147C
*
236A
*
206B
*
206D
*
206F
*
205C
*
205B
*
205D
*
205C
*
205A
*
205B
205A
205F

Related product manuals