EasyManua.ls Logo

LG LFXS24663 Series - Pantalla de LED; Uso del Refrigerador

LG LFXS24663 Series
92 pages
To Next Page IconTo Next Page
To Next Page IconTo Next Page
To Previous Page IconTo Previous Page
To Previous Page IconTo Previous Page
Loading...
62
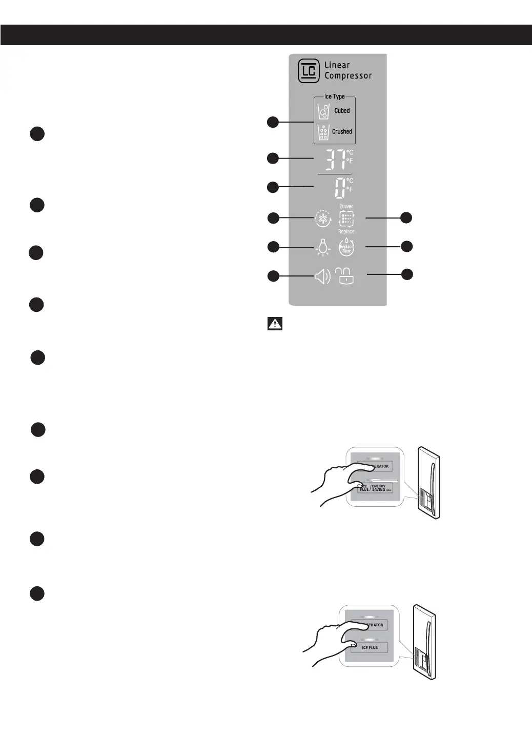
PANTALLA DE LED
La pantalla de LEDs muestra mensajes sobre
los ajustes de temperatura, las opciones del
dispensador, el filtro de agua, la alarma de la
puerta y los estados de bloqueo.
INDICADORES DE SELECCIÓN DEL
DISPENSADOR
Muestra la selección de hielo triturado, agua,
o cubitos que se servirá cuando se presione el
interruptor.
**
TEMPERATURA DEL CONGELADOR
Indica la temperatura establecida del congelador
en Celsius o Fahrenheit.
**
TEMPERATURA DEL REFRIGERADOR
Indica la temperatura establecida del refrigerador
en Celsius o Fahrenheit.
*
ICE PLUS
Al pulsar el botón ICE PLUS la pantalla indicará
que la función seleccionada ha sido activada.
INDICADOR DE LUZ DEL DISPENSADOR
Si pulsa el botón LIGHT, la pantalla mostrará la
función seleccionada. Cuando la luz del dispen-
sador está encendida, este indicador aparecerá
en el panel de visualización.
INDICADOR DE ALARMA DE PUERTA
Este indicador señala que se ha activado la
alarma de advertencia de apertura de puerta.
BOTÓN FILTRO DE AIRE
(en algunos modelos)
Este indicador muestra que el modo Filtro de
Aire está activado.
ESTADO DEL FILTRO DE AGUA
Este indicador muestra el estado actual del filtro
de agua. Ver Reconfiguración del indicador del
filtro.
ESTADO DE BLOQUEADO
Este indicador muestra que el estado actual de
las funciones del panel de control se encuentra
configurado en LOCK (bloqueado).
PRECAUCIÓN
1
2
3
4
5
6
8
*7
9
USO DEL REFRIGERADOR
2
3
4
5
6
8
7
9
1
Configuración del modo de demostración y su
cancelación
ţ$POMBQVFSUBEFMGSJHPS¬żDPBCJFSUBNBOUFOHBQVMTBEP
el botón REFRIGERATOR y el botón ICE PLUS durante
más de 5 segundos para entrar en el modo de demos-
tración. (La pantalla mostrara la palabra “OFF” apagado).
ţ3FBMJDFFMNJTNPQSPDFEJNJFOUPQBSBDBODFMBSFMNPEP
EFEFNPTUSBDJ²Oţ$POFMNPEPEFEFNPTUSBDJ²OFMMBT
funciones de refrigeración estaran desactivadas.
ţ$POMBQVFSUBEFMGSJHPS¬żDPBCJFSUBNBOUFOHBQVMTBEP
el botón REFRIGERATOR y el botón ICE PLUS presionar
tres veces para entrar en el modo de demostración. (La
pantalla mostrara la palabra “OFF” apagado).
ţ3FBMJDFFMNJTNPQSPDFEJNJFOUPQBSBDBODFMBSFMNPEP
de demostración.

Table of Contents

Related product manuals