EasyManua.ls Logo

LG LX-E330A - Page 22

LG LX-E330A
36 pages
Print Icon
To Next Page IconTo Next Page
To Next Page IconTo Next Page
To Previous Page IconTo Previous Page
To Previous Page IconTo Previous Page
Loading...
- 2-37 -
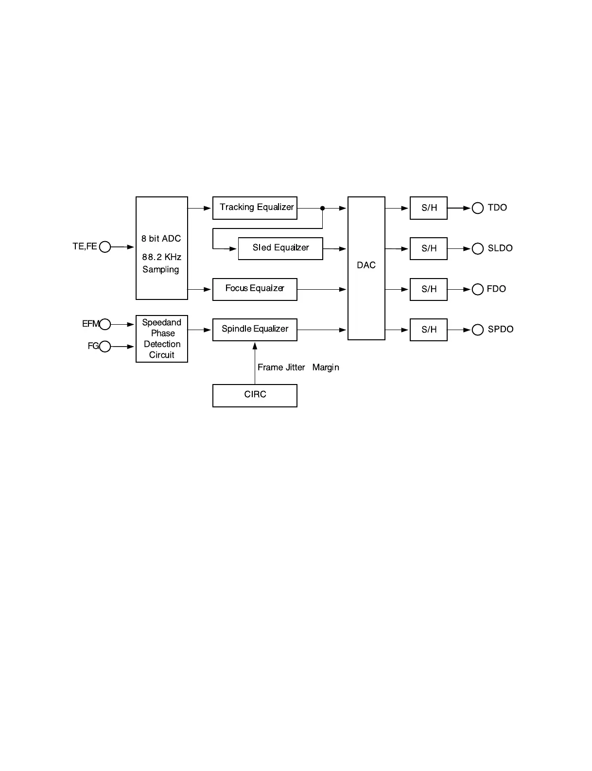
LC78646E (IC801)
Digital Servo Block Diagrams
• Overview
The focus servo circuit performs analog/digital conversion on FE(the focus error signal), while the tracking
and sled servo circuits do so on TE(the tracking error signal), then they each pass that result through an
equalizer, perform digital/analog conversion, and output it, At the spindle servo, based on the EFM signal
during CLV control or the FG signal during CAV control, the calculated value passes through an equalizer,
undergoes digital/analog conversion, and is output.