EasyManua.ls Logo

LG M2550D - No Picture Troubleshooting

LG M2550D
31 pages
To Next Page IconTo Next Page
To Next Page IconTo Next Page
To Previous Page IconTo Previous Page
To Previous Page IconTo Previous Page
Loading...
Copyright ©2011 LG Electronics. Inc. All right reserved.
Only for training and service purposes
LGE Internal Use Only
- 16 -
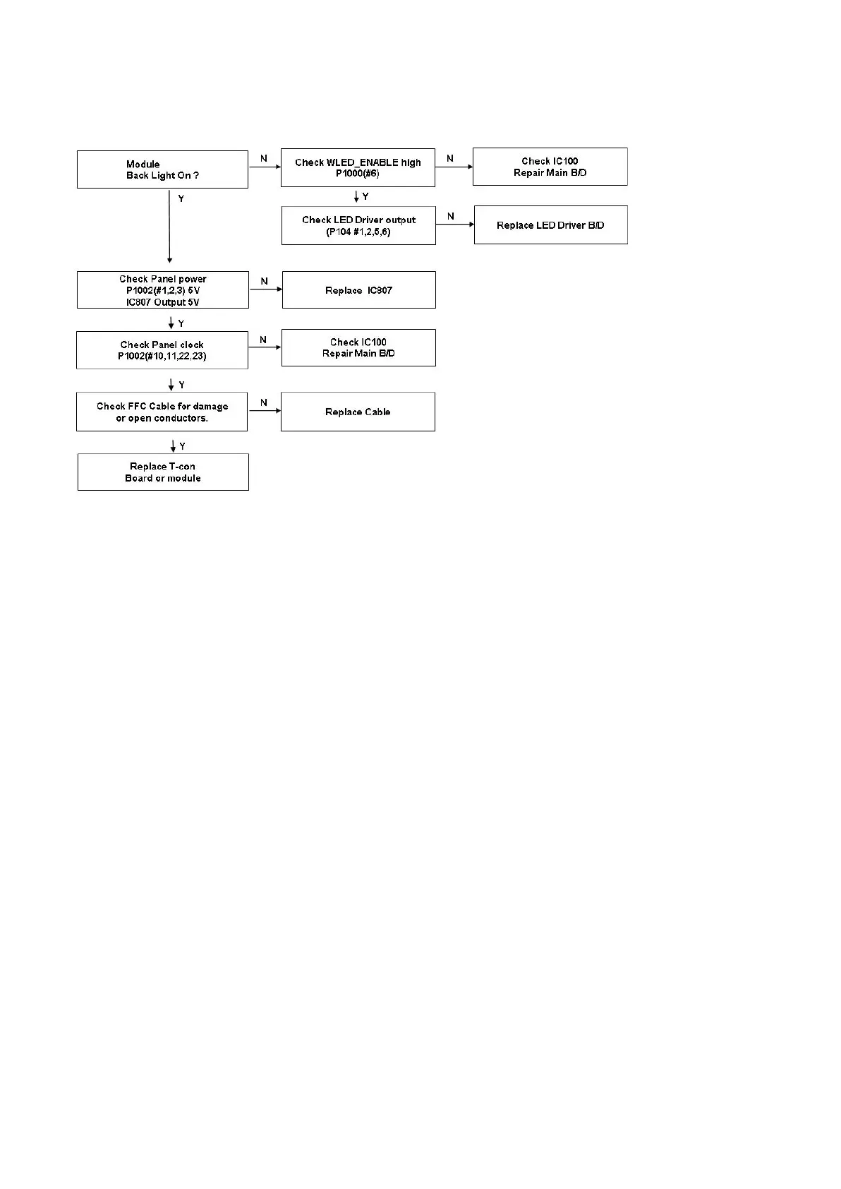
2. No Picture Trouble Shooting

Other manuals for LG M2550D

Related product manuals