EasyManua.ls Logo

LG WT1701C - Control Panel Features

LG WT1701C
80 pages
Print Icon
To Next Page IconTo Next Page
To Next Page IconTo Next Page
To Previous Page IconTo Previous Page
To Previous Page IconTo Previous Page
Loading...
17
ENGLISH
HOW TO USE
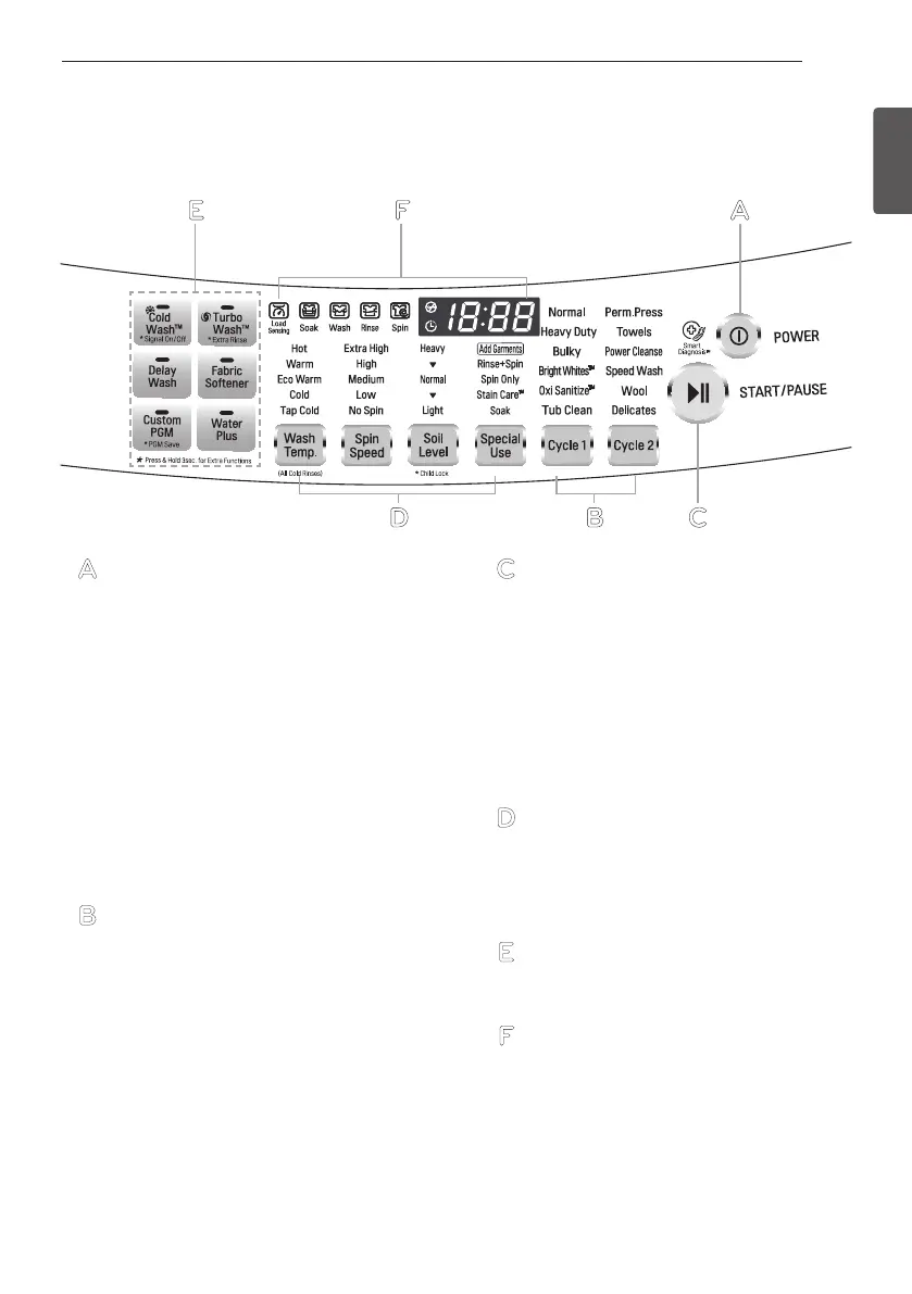
CONTROL PANEL FEATURES
A
POWER (ON/OFF) BUTTON
Press to turn the washer ON. Press
again to turn the washer OFF. Pressing
the POWER button during a cycle will
cancel that cycle and any load settings
will be lost. The lid will unlock after a
brief pause.
NOTE: If there is any water remaining
in the tub after the washer shuts off, it
will drain following a five minute delay.
The washer can be restarted any time
before the drain begins. However, once
the water begins to drain, all functions
will be suspended until the water has
been completely drained and the washer
shuts off.
B
CYCLE SELECTOR BUTTON
Press the Cycle Button repeatedly until
the desired cycle is selected. Once the
desired cycle has been selected, the
standard presets will appear in the dis-
play. These settings can be adjusted
using the cycle setting buttons anytime
before starting the cycle.
NOTE: To protect your clothing, not all
settings are available on all cycle selec-
tions.
C
START/PAUSE BUTTON
Press this button to start the selected
cycle. If the washer is running, use this
button to pause the cycle without losing
the current settings.
NOTE: If you do not press the START/
PAUSE button within five minutes of se-
lecting a cycle, the washer automatically
turns OFF and all cycle settings are lost.
Any water remaining in the tub will drain
after a five minute delay.
D
CYCLE MODIFIER BUTTONS
Use these buttons to adjust the settings
for the selected cycle. The setting lights
above the buttons illuminate to show the
current selection.
E
SPECIAL CYCLE AND OPTION BUTTONS
These buttons allow you to select special
cycles or options.
F
TIME AND STATUS DISPLAY
The display shows the cycle status and
estimated time remaining.
HOW TO USE
CB
E F A
D

Related product manuals