EasyManua.ls Logo

Lifetime 90230 - Page 44

Lifetime 90230
57 pages
Print Icon
To Next Page IconTo Next Page
To Next Page IconTo Next Page
To Previous Page IconTo Previous Page
To Previous Page IconTo Previous Page
Loading...
44
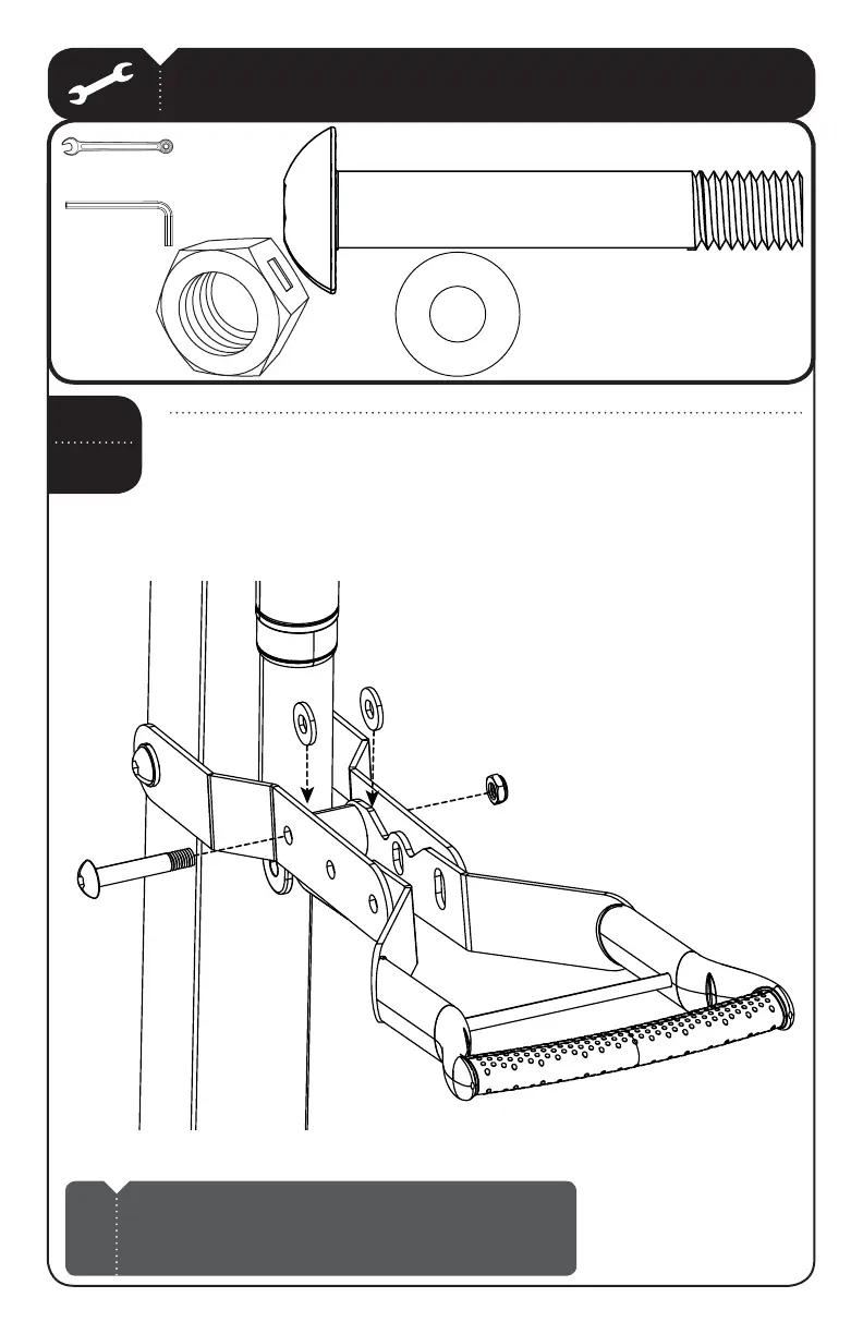
TOOLS AND HARDWARE REQUIRED FOR THIS PAGE
SEC
4.4
"QQMZDark Lithium Grease (AJZ)UPUIF1/2” x 3” Bolt (DFS)"UUBDIUIFHandle
(AKI)UPUIFHandle Brackets (CYA).BLFTVSFUIFSFJTB1/2” Plastic Washer
(AEG)POFBDITJEFCFUXFFOUIF)BOEMFBOEUIF#SBDLFUT
Note: Tighten the 1/2” Centerlock Nut (AAX) until it is fl ush
with the end of the Bolt. Leave a very slight amount of play
in the bolt so the handle can move properly.
!
DFSY
AEGY
AAXY
AKI
3/4”Y
3/8”Y
AAX
DFS
AEG
AEG
/PUUPTDBMF

Related product manuals