EasyManua.ls Logo

Lifetime 90240 - Page 32

Lifetime 90240
73 pages
Print Icon
To Next Page IconTo Next Page
To Next Page IconTo Next Page
To Previous Page IconTo Previous Page
To Previous Page IconTo Previous Page
Loading...
38
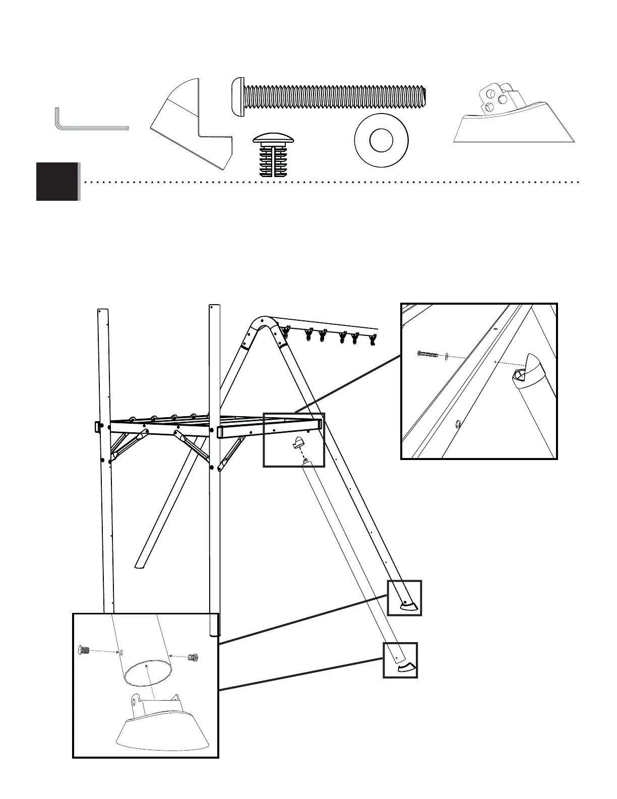
TOOLS AND HARDWARE REQUIRED
X SECTION 5 (CONTINUED)
5.6
Slide the Ladder Cap (CAC) onto the Angled Ladder Leg (CAZ) as pictured, then connect the Angled Ladder Leg to the
Ladder-side Deck Support (CBC) with the hardware indicated. Attach the Foot Cap (BFD) to the Angled Ladder Leg and
secure it with the hardware indicated.
3/16 in/po (≈5 mm)
(2)
CAC (x1)
BFD (x2)
ARO (x4)
ARU (x1)
ARL (x1)
ARO
ARO
BFD
CAZ
CAZ
CAC
ARU
ARL

Related product manuals