EasyManua.ls Logo

Lifetime 90797 - Page 36

Lifetime 90797
92 pages
Print Icon
To Next Page IconTo Next Page
To Next Page IconTo Next Page
To Previous Page IconTo Previous Page
To Previous Page IconTo Previous Page
Loading...
36
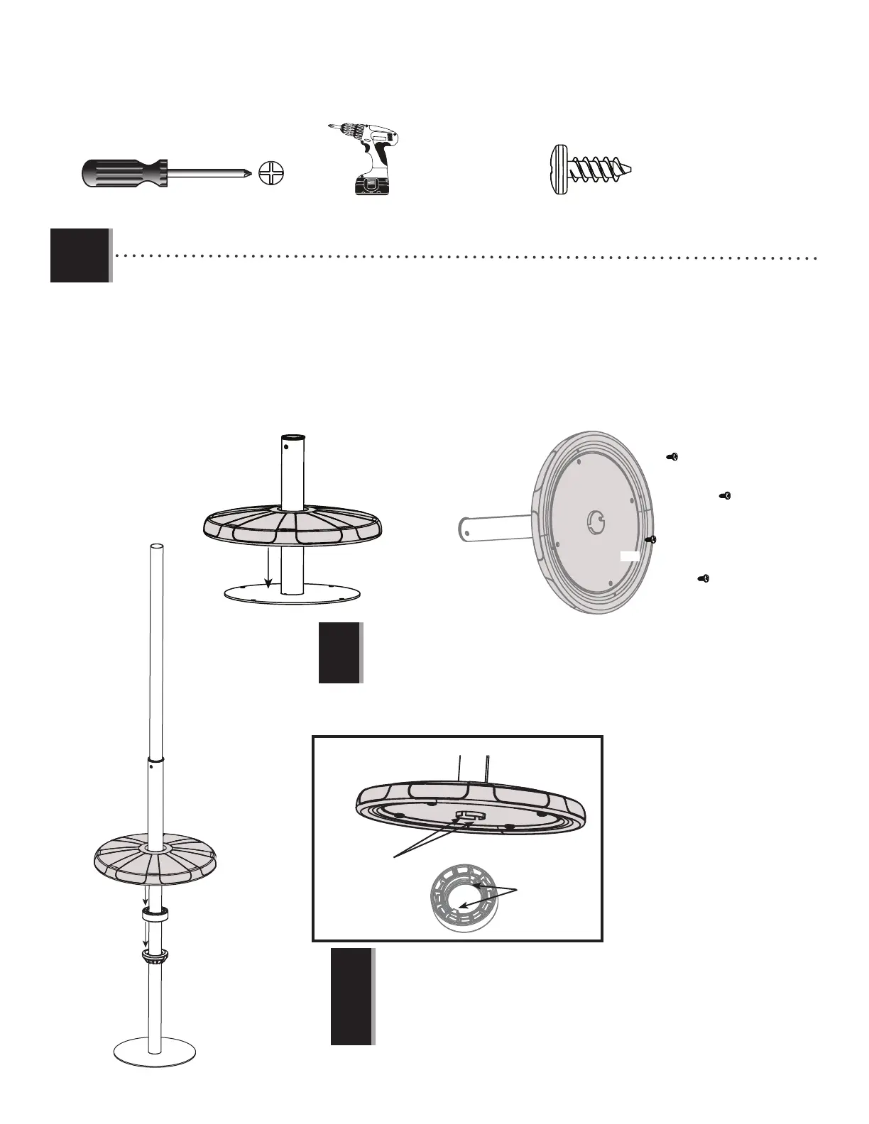
TOOLS AND HARDWARE REQUIRED / OUTILS ET QUINCAILLERIE REQUIS / INSTRUMENTAL Y HERRAJE REQUERIDOS
X SECTION 3 (CONTINUED) / SECTION 3 (SUITE) / SECCIÓN 3 (CONTINUACIÓN)
• Place the seat (FIO) onto the seat support assembly (FIT). Attach the seat onto the seat support assembly with the
hardware indicated. Place the seat support assembly onto the pole and ground plate assembly (FIS) until it rests on
the nylon bearing (FIW).
• Placez la butée (FIO) dans l’assemblage du support de butée (FIT). Attachez la butée dans l’assemblage du support
de butée à l’aide de la quincaillerie indiquée. Placez l’assemblage du support de butée sur le poteau et
l’assemblage de plaques de mise à la terre (FIS) jusqu’à ce qu’il repose sur le coussinyl (FIW).
• Coloque el asiento (FIO) en el montaje del soporte del asiento (FIT). Fije el asiento en el montaje del soporte del
asiento con el herraje indicados. Coloque el montaje del soporte del asiento en el poste y montaje de la placa de
suelo (FIS) hasta que descanse sobre el soporte de nylon (FIW).
3.1
3.4
FIT
FIW
FIO
Notch
Encoche
Muesca
Tab
Languette
Lengueta
!
Make sure the notch in the seat support assembly lines up with the tabs in the
nylon bearing.
Assurez-vous que la fente dans l’assemblage du support de butée s’aligne avec
les volets du coussinyl.
Asegúrese de que la hendidura en el montaje del soporte del asiento esté alineada
con las pestañas en el soporte de nylon.
(1)
ADZ (x4)
(1)
!
If using the optional drill and bit, do not over tighten the hardware!
Si vous utilisez la perceuse et la mèche facultatives, ne serrez pas trop la
quincaillerie!
¡Si usa la alternativa de taladro y broca, no apriete demasiado el herraje!
ADZ
ADZ
ADZ
ADZ
#3

Related product manuals