EasyManua.ls Logo

Lifetime 90913 - Page 28

Lifetime 90913
132 pages
Print Icon
To Next Page IconTo Next Page
To Next Page IconTo Next Page
To Previous Page IconTo Previous Page
To Previous Page IconTo Previous Page
Loading...
28
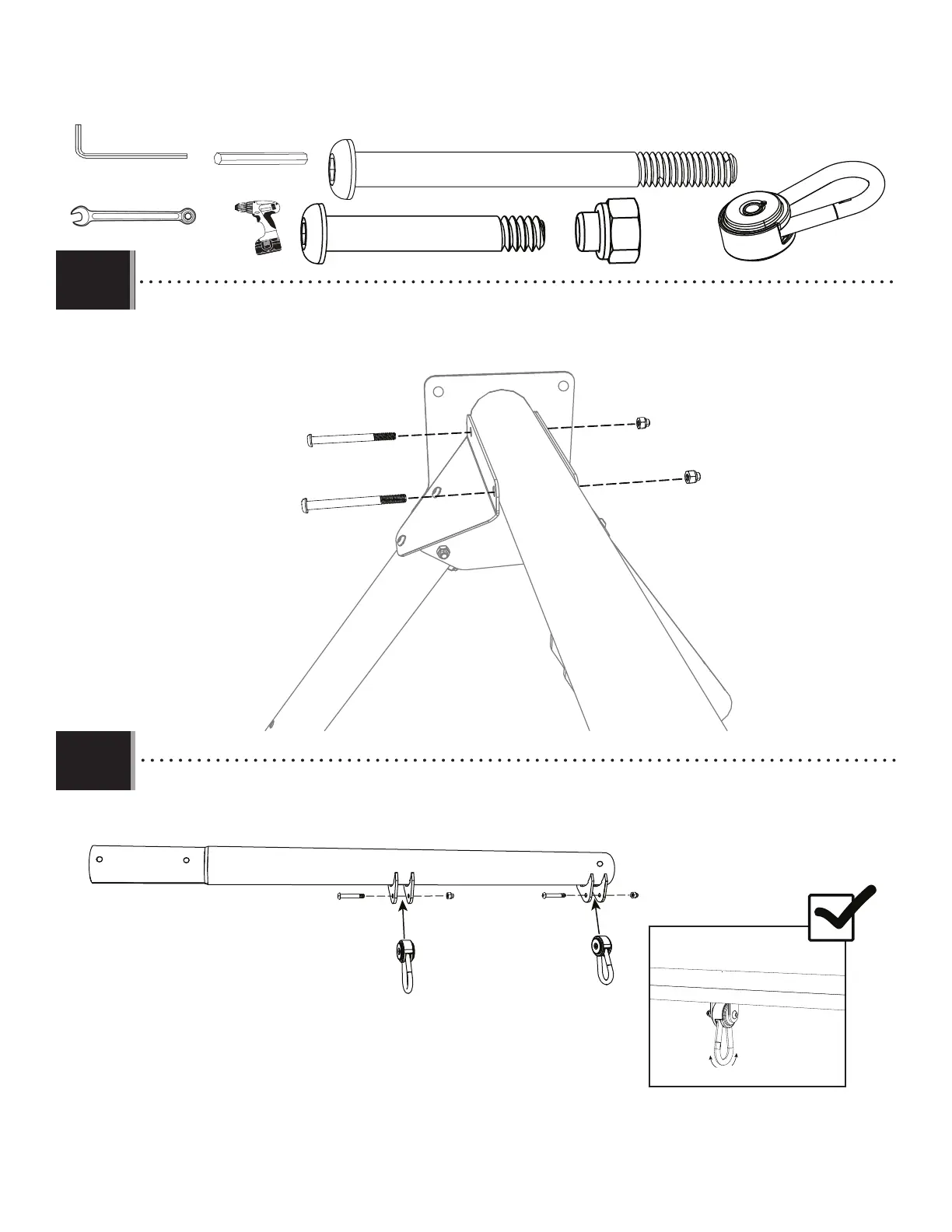
TOOLS AND HARDWARE REQUIRED / OUTILS ET QUINCAILLERIE REQUIS / INSTRUMENTAL Y HERRAJE REQUERIDOS
X SECTION 1 (CONTINUED) / SECTION 1 (SUITE) / SECCIÓN 1 (CONTINUACIÓN)
1.11
• Secure the Left-Angled Bracket (FBY) and the Right Angled Bracket (FBX) to the Swing Bar with the hardware indicated.
• Fixez le support à angle gauche (FBY) et le support à angle droit (FBX) à la barre de balançoires avec la quincaillerie indiquée.
• Fije el soporte angular izquierdo (FBY) y el soporte angular derecho (FBX) a la barra del columpio con el herraje indicado.
DZP
AAN
DZP
AAN
DZP (x2)
3/16 in/po (≈5 mm)
(1)
AAN (x4)
1/2 in/po (≈13 mm)
(1)
(1)
(1)
1.12
• Attach the Pendulums (DZQ) to the Trapeze Swing Bar (CRR) using the hardware indicated.
• Attachez les pendules (DZQ) à la barre du trapèze (CRR) à l’aide des quincaillerie indiqués.
• Sujete los péndulos (DZQ) al caño horizontal para el trapecio (CRR) usando los elementos indicadas.
CRR
DZQ
DZQ
DZR
DZR
AAN
AAN
DZR (x2)
DZQ (x2)

Table of Contents

Related product manuals