EasyManua.ls Logo

Lightning Audio Bolt B2.150.2 - Page 24

Lightning Audio Bolt B2.150.2
52 pages
Print Icon
To Next Page IconTo Next Page
To Next Page IconTo Next Page
To Previous Page IconTo Previous Page
To Previous Page IconTo Previous Page
Loading...
24
Español
Características de Diseéo
Instalación
JUICE
BOOST
JUICE
BOOST
INPUTOUTPUT
PROTECT
POWER
LLFLR
RRFRR
GAIN GAIN
MIN MAX MIN MAX
X-OVER
LF.RF LR.RR
X-OVER
40 400 40 400
50Hz
0dB 12dB
50Hz
0dB 12dB
FILTER
FLAT
HIGH LOW
FILTER
FLAT
HIGH LOW
HI INPUT HI INPUT
L
+-
R
+-
L
+-
R
+-
30A 30A
FUSE
12V REM GND
+
RR
+-
LR
+-
RF
+-
LF
+-
BRIDGED
+
-
BRIDGED
+
-
JUICE
BOOST
JUICE
BOOST
INPUTOUTPUT
PROTECT
POWER
LLFLR
RRFRR
GAIN GAIN
MIN MAX MIN MAX
X-OVER
LF.RF LR.RR
X-OVER
40 400 40 400
50Hz
0dB 12dB
50Hz
0dB 12dB
FILTER
FLAT
HIGH LOW
FILTER
FLAT
HIGH LOW
HI INPUT HI INPUT
L
+-
R
+-
L
+-
R
+-
25A 25A
FUSE
12V REM GND
+
RR
+-
LR
+-
RF
+-
LF
+-
BRIDGED
+
-
BRIDGED
+
-
B2.300.4 B2.400.4
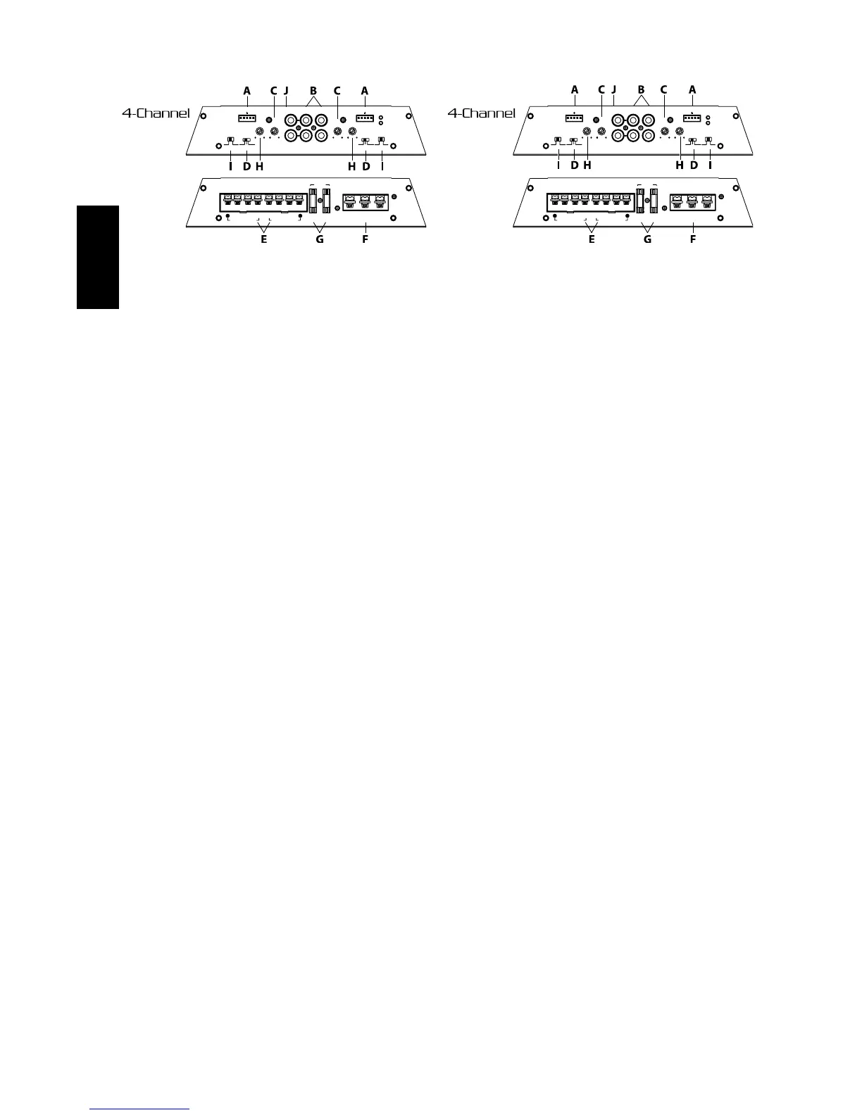
A. Entradas de alto nivel (de los altavoces): Las entradas de alto nivel usan un conector
desmontable terminado con 20 conductores AWG. Estas entradas deberán usarse si la fuente sólo
tiene entradas de cable (de alto nivel) del altavoz y ninguna entrada RCA.
B.
Enchufes de entrada RCA Nivel de línea de las pre-salidas de radio: El enchufe RCA, estándar
de la industria, proporciona una conexión fácil para la entrada del nivel de la señal. Estos enchufes
están enchapados en oro para resistir la degradación de la señal que es causada por la corrosión.
C.
Control de ganancia: El control de ganancia de entrada viene precalibrado para ajustarse a la
entrada de la mayoría de las fuentes. Puede ajustarse para distintos niveles de salida de una
variedad de fuentes.
D.
Interruptor de filtro X-over: Alto para paso alto Tweeter medio.
Apagado para todos los pasos Rango completo.
Bajo para paso bajo - Subs.
E.
Conexiones del altavoz: Siga la polaridad correcta y no conecte ninguno de los cables del altavoz
a tierra. No conecte ninguno de los cables del altavoz juntos.
F.
Terminales del conector de potencia: Conecta la potencia, el cable a tierra y el remoto.
G.
Fusible de potencia: Si este fusible salta, determine la causa o vea a un Distribuidor Autorizado.
Nunca reemplazca el fusible con uno de mayor valor que el original.
H.
Control de frecuencia X-over ajustable: 40-400 Hz (40-130 Hz en amplificador mono)
I.
Interruptor de Juice Boost: Aplica 12 dB de Bass Boost de 50 Hz. Ajustable en amplificadores
mono B2.350.1.
J.
Entradas de paso: Las entradas de paso proporcionan una fuente conveniente para conectar un
amplificador adicional sin tener que usar un conjunto extra de cables RCA desde el frente del
vehículo hasta la parte de atrás donde se encuentra el amplificador.
K.
Juice Remoto: Conexión para control de Juice Remoto (B2.350.1 solamente).
CONSIDERACIONES SOBRE LA INSTALACIÓN
La siguiente es una lista de las herramientas necesarias para la instalación:
Voltímetro / Ohmetro
Pelacables
Tenaza engarzadora de cables
Cortador de cables
Destornillador Phillips No. 2
Llave para bornes de batería
Taladro manual con distintas brocas
Tubo termoretráctil de 1/8 pulgadas de
diámetro
Variedad de conectores
Largo adecuadoCable rojo de potencia
Largo adecuadoCable de encendido
remoto
Largo adecuadoCable negro para
conexión a tierra

Table of Contents

Related product manuals