EasyManua.ls Logo

Lightning Audio Bolt B2.150.2 - (Solamente B2.350.1); Come Usare Le Frequenze DI Incrocio Passive

Lightning Audio Bolt B2.150.2
52 pages
Print Icon
To Next Page IconTo Next Page
To Next Page IconTo Next Page
To Previous Page IconTo Previous Page
To Previous Page IconTo Previous Page
Loading...
48
Italiano
COME USARE LE FREQUENZE
DI INCROCIO PASSIVE
Una frequenza di incrocio passiva è un
circuito che utilizza condensatori e/o bobine
ed è piazzata sui cavi degli altoparlanti tra
lamplificatore e laltoparlante. La frequenza
di incrocio delega allaltoparlante una
gamma specifica di frequenze per ottenere
prestazioni ottimali dello stadio pilota. Una
rete di frequenza di incrocio potrà eseguire
una di tre funzioni: Passa-alto
(condensatori), Passa-basso (induttori o
bobine) e Passa-banda (una combinzione
tra condensatore e bobina).
Le reti di frequenza di incrocio passiva usate
più communemente sono i sistemi da
6dB/ottava. Esse sono facili da costruire e
richiedono un componente per filtro.
Sistemando questo filtro in serie con il
circuito, si potrà ridurre la tensione
allaltoparlante di 6dB/ottava al di sopra o al
di sotto del punto di incrocio, a secondo del
tipo di filtroo passa-alto o passa-basso. I
sistemi più complessi, quali il 12dB/ottava
oppure il 18dB/ottava, possono causare
problemi dimpedenza se non sono stati
progettati professionalmente.
Le frequenze di incrocio passive dipendono
direttamente dallimpedenza
dellaltoparlante e dal valore dei suoi
componenti per quanto riguarda la
precisione. Quando i componenti delle
frequenze di incrocio passive vengono usati
in sistemi ad altoparlanti multipli, si dovrà
prendere in considerazione sia leffetto
dellincrocio sullimpedenza totale che
limpedenza dellaltoparlante quando si
determinano i carichi dellamplificatore.
ATTENZIONE: Gli amplificatori della Lightning Audio non sono raccommandabili per i
carichi dimpedenza al di sotto di 2 stereo e carichi da 4 in
parallelo (mono).
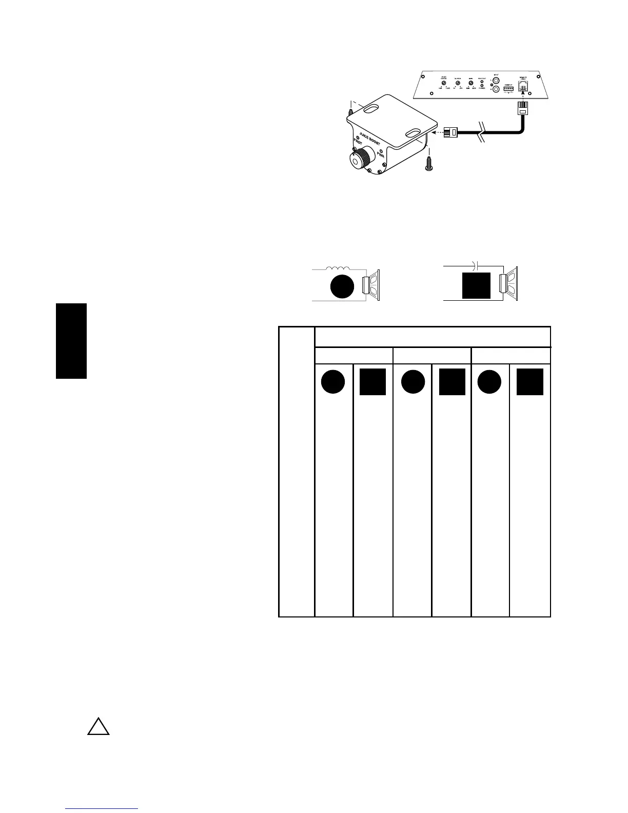
Installazione
80 4.1mH 1000µF 8.2mH 500µF 16mH 250µF
100 3.1mH 800µF 6.2mH 400µF 12mH 200µF
130 2.4mH 600µF 4.7mH 300µF 10mH 150µF
200 1.6mH 400µF 3.3mH 200µF 6.8mH 100µF
260 1.2mH 300µF 2.4mH 150µF 4.7mH 75µF
400 .8mH 200µF 1.6mH 100µF 3.3mH 50µF
600 .5mH 136µF 1.0mH 68µF 2.0mH 33µF
800 .41mH 100µF .82mH 50µF 1.6mH 26µF
1000 .31mH 78µF .62mH 39µF 1.2mH 20µF
1200 .25mH 66µF .51mH 33µF 1.0mH 16µF
1800 .16mH 44µF .33mH 22µF .68mH 10µF
4000 .08mH 20µF .16mH 10µF .33mH 5µF
6000 51mH 14µF .10mH 6.8µF .20mH 3.3µF
9000 34mH 9.5µF 68mH 4.7µF .15mH 2.2µF
12000 25mH 6.6µF 51mH 3.3µF 100mH 1.6µF
Freq.
Hertz
Impedenza dellaltoparlante
2 OHMS
8 OHMS
4 OHMS
L L
L
C C
C
6dB/ottava passa-basso
6dB/ottava passa-alto
L
C
L = Passa-basso (induttore)
C = Passa-alto (condensatore)
Per ulteriori ragguagli, consultate il vostro rivenditore
autorizzato Lightning Audio.
!
TELECOMANDO DI CORRENTE
(Solamente B2.350.1)
Montage et installation
1. Trouvez un bon emplacement, sous le tableau
de bord ou près de la console centrale, offrant
un accès facile à lappareil de télécommande.
2. Usando le viti fornite, installate il telecomando.
3. Fate scorrere il cavo per il telecomando e
collegatelo sia al telecomando che
allamplificatore.

Table of Contents

Related product manuals