EasyManua.ls Logo

Lincoln FlowMaster 85480 - Page 6

Lincoln FlowMaster 85480
40 pages
Print Icon
To Next Page IconTo Next Page
To Next Page IconTo Next Page
To Previous Page IconTo Previous Page
To Previous Page IconTo Previous Page
Loading...
Page Number - 6
Form 403626
FlowMaster™ Rotary Driven Hydraulic Pump
1
2
8
3
4
5
6
7
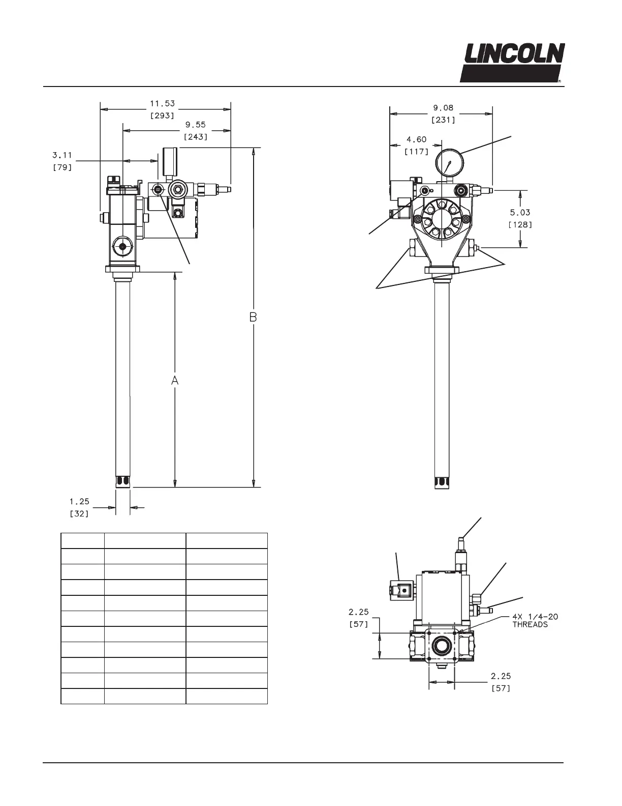
MODEL DIM “A” in (mm) DIM “B” in (mm)
85480 27.50 (699) 38.56 (980)
85481 19.00 (483) 30.06 (764)
85482 34.00 (864) 44.94 (1142)
85483 13.69 (348) 24.75(629)
85247 27.50 (699) 38.56 (980)
85586 34.18 (868) 45.12 (1146)
85610 34.00 (864) 45.06 (1145)
85670 27.5 (699) 38.56 (980)
85675 19.00 (483) 30.06 (764)
274055 19.00 (483) 30.06 (764)
1. 1/4 NPTF Pump Outlets
2 SAE 4 Inlet Port
3. SAE 6 Tank Port
4. 1/4 NPTR Ori ce tting
for Vent Valve Port
5. Solenoid Valve
6. Pressure Reducing
Valve
7. Flow Control Valve
8. Pressure Gauge.
Illustration 5
To order call 1-800-548-1191 or visit www.partdeal.com - info@partdeal.com

Other manuals for Lincoln FlowMaster 85480

Related product manuals