EasyManua.ls Logo

Lincoln FlowMaster 85482 - Page 13

Lincoln FlowMaster 85482
40 pages
Print Icon
To Next Page IconTo Next Page
To Next Page IconTo Next Page
To Previous Page IconTo Previous Page
To Previous Page IconTo Previous Page
Loading...
FlowMaster
TM
Pumpe mit
Hydraulik-Umlaufantrieb
Seite - 13
Formular 403626
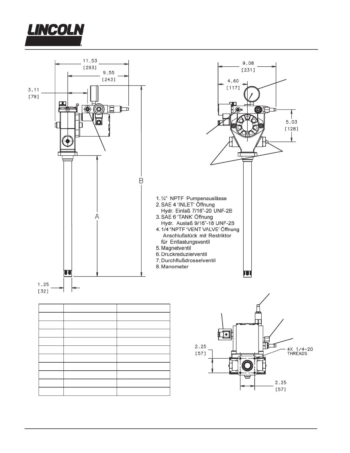
1
2
8
3
4
5
6
7
Modell Maß “A” Zoll (mm) Maß “B” Zoll (mm)
85480 27.50 (699) 38.56 (980)
85481 19.00 (483) 30.06 (764)
85482 34.00 (864) 44.94 (1142)
85483 13.69 (348) 24.75(629)
85247 27.50 (699) 38.56 (980)
85586 34.18 (868) 45.12 (1146)
85610 34.00 (864) 45.06 (1145)
85670 27.50 (699) 38.56 (980)
85675 19.00 (483) 60.06 (764)
274005© 19.00 (483) 60.06 (764)
Abbildung 5
To order call 1-800-548-1191 or visit www.partdeal.com - info@partdeal.com

Other manuals for Lincoln FlowMaster 85482

Related product manuals