EasyManua.ls Logo

Linde 115 Series - Page 41

Linde 115 Series
358 pages
Print Icon
To Next Page IconTo Next Page
To Next Page IconTo Next Page
To Previous Page IconTo Previous Page
To Previous Page IconTo Previous Page
Loading...
RP01 / Chapter 1
115 804 2401.09.03
Page 9
Service Training
09.03
Section 2
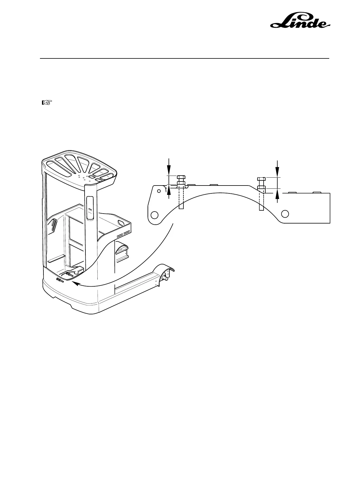
2.4 SETTING THE STEERING STOP BOLTS
Should the steering stop bolts need to be adjusted, then the correct setting is shown below.
NOTE: On trucks manufactured before to serial number G1X115M00216, 120mm long screws
were fitted. These must be replaced with new 80 mm screws prior to setting.
27
18

Related product manuals