EasyManua.ls Logo

Litex CWF18BNK3 - Installation of Fan

Litex CWF18BNK3
11 pages
Print Icon
To Next Page IconTo Next Page
To Next Page IconTo Next Page
To Previous Page IconTo Previous Page
To Previous Page IconTo Previous Page
Loading...
page 4
4. Installation of Wall Bracket. (cont.)
1/4"
(6.5mm)
mounting
hole
pilot
holes
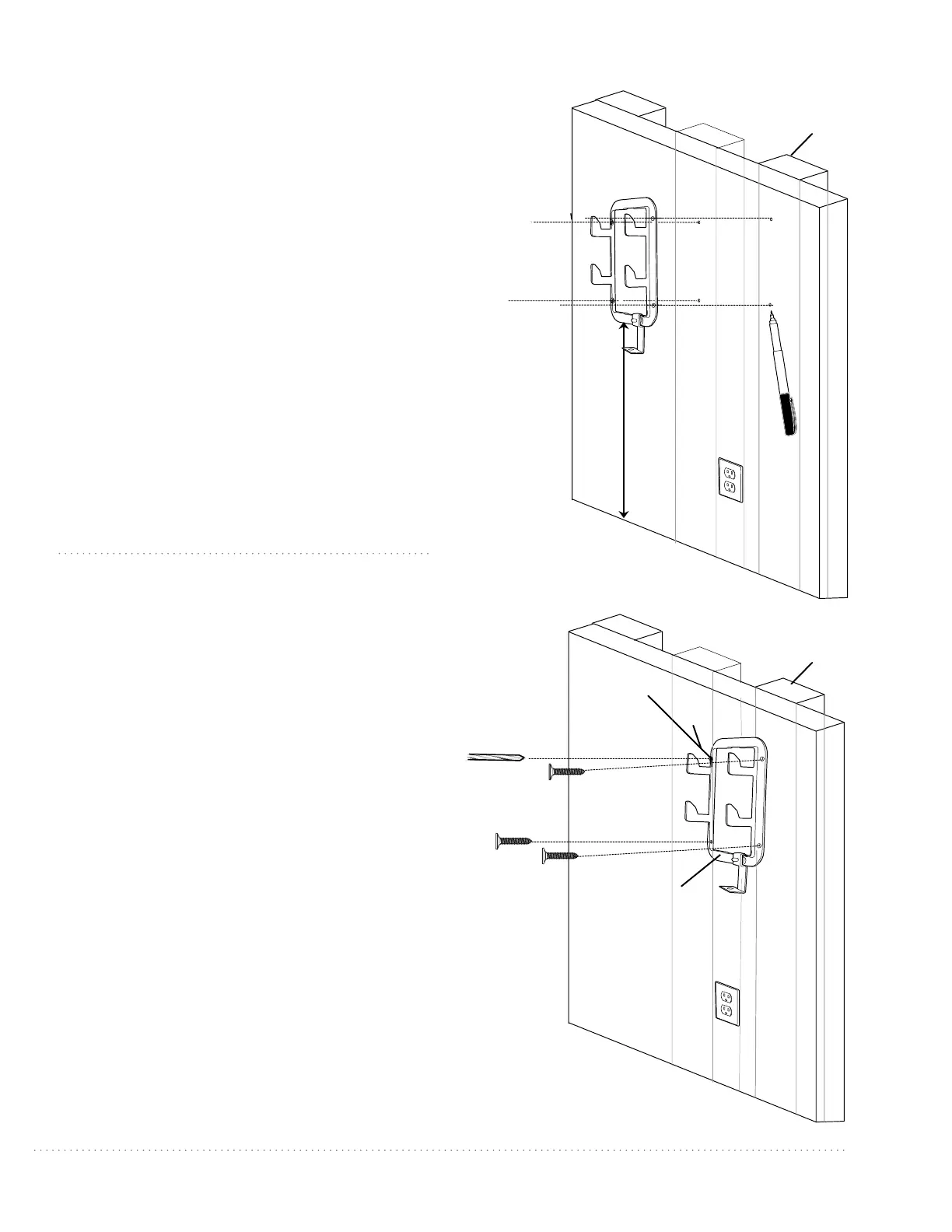
7 feet
(2.13m)
Determine the approximate position of where
you want the fan to be located on the wall.
[Remember that the fan must be mounted at
least 7 feet (2.13m) from the floor.] Then, locate
the stud in the wall.
WARNING: To reduce the risk of fire, electrical
shock or personal injury, use all 4 mounting
holes (2 at the top and 2 at the bottom) in wall
mounting bracket when installing wall
mounting bracket. Position wall mountng
bracket on wood stud or wood post and mark
the location of the 4 hole using a pencil or a
marker.
Drill 4 pilot holes using drill and drill bit over
holes marked into wood stud or wood post.
Position wall bracket over pilot holes and install
wood screw (provided in one of hardware packs)
into each hole.
WARNING: It is very important that you use the
proper hardware when installing the wall
mounting bracket as this will support the fan
assembly.
ALTERNATE CONCRETE WALL INSTALLATION:
Use all 4 mounting 1/4" (6.5mm) holes when
installing wall bracket on a concrete wall. The 3/16"
(5mm) concrete wall anchors necessary for this
type of installation are not provided and must be
purchased separately. Make sure that concrete
wall anchors can support a total of 80 lbs.
wood
screw
stud
stud
wall
mounting
bracket
wall
mounting
bracket
drill bit

Related product manuals