EasyManua.ls Logo

Litex CWF18BNK3 - Installation of Fan. Pgs

Litex CWF18BNK3
11 pages
Print Icon
To Next Page IconTo Next Page
To Next Page IconTo Next Page
To Previous Page IconTo Previous Page
To Previous Page IconTo Previous Page
Loading...
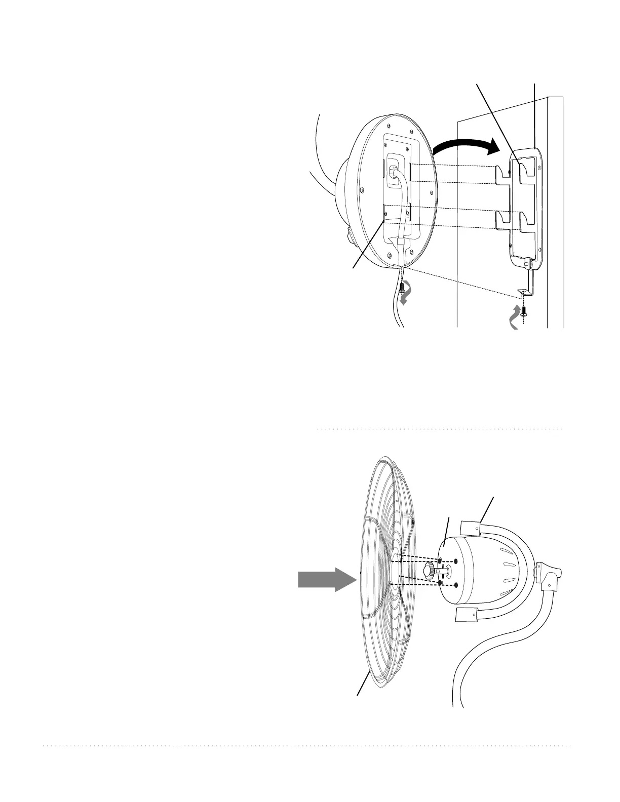
5. Installation of Fan.
Remove set screw at bottom of fan assembly.
With the wall mounting bracket secured to the
wall and able to support the fan assembly, you
are now ready to hang your fan.
Grab the fan assembly firmly with two hands.
Align the 4 slots in the middle of the back of
the fan assembly with the 4 hooks on the wall
mounting bracket and then pull down firmly
on fan assemby.
WARNING: Failure to make sure that all 4 hooks
on the wall mounting bracket have engaged
completely with the 4 slots in the fan assembly
and ensure that the fan assembly is stable may
result in serious injury or death.
Tip: Seek the help of another person to hold
the stepladder in place and to help lift the fan
up to you once you are set on the ladder.
Insert set screw at bottom of wall mounting
bracket--be sure to securely tighten set screw.
slot
hook
set
screw
fan
assembly
wall
mounting
bracket
page 5
back cage
fan
assembly
Align the 4 holes in the front of the motor on
fan assembly with the 4 holes in the center of
the back cage.
set
screw
motor

Related product manuals