EasyManua.ls Logo

Lofa CANplus 620 - Wiring and Installation; J1939 Wiring Topology

Lofa CANplus 620
32 pages
Print Icon
To Next Page IconTo Next Page
To Next Page IconTo Next Page
To Previous Page IconTo Previous Page
To Previous Page IconTo Previous Page
Loading...
463-0620-01 Rev A. June-201523
620 Operation and Troubleshooting Guide
plus
CAN
®
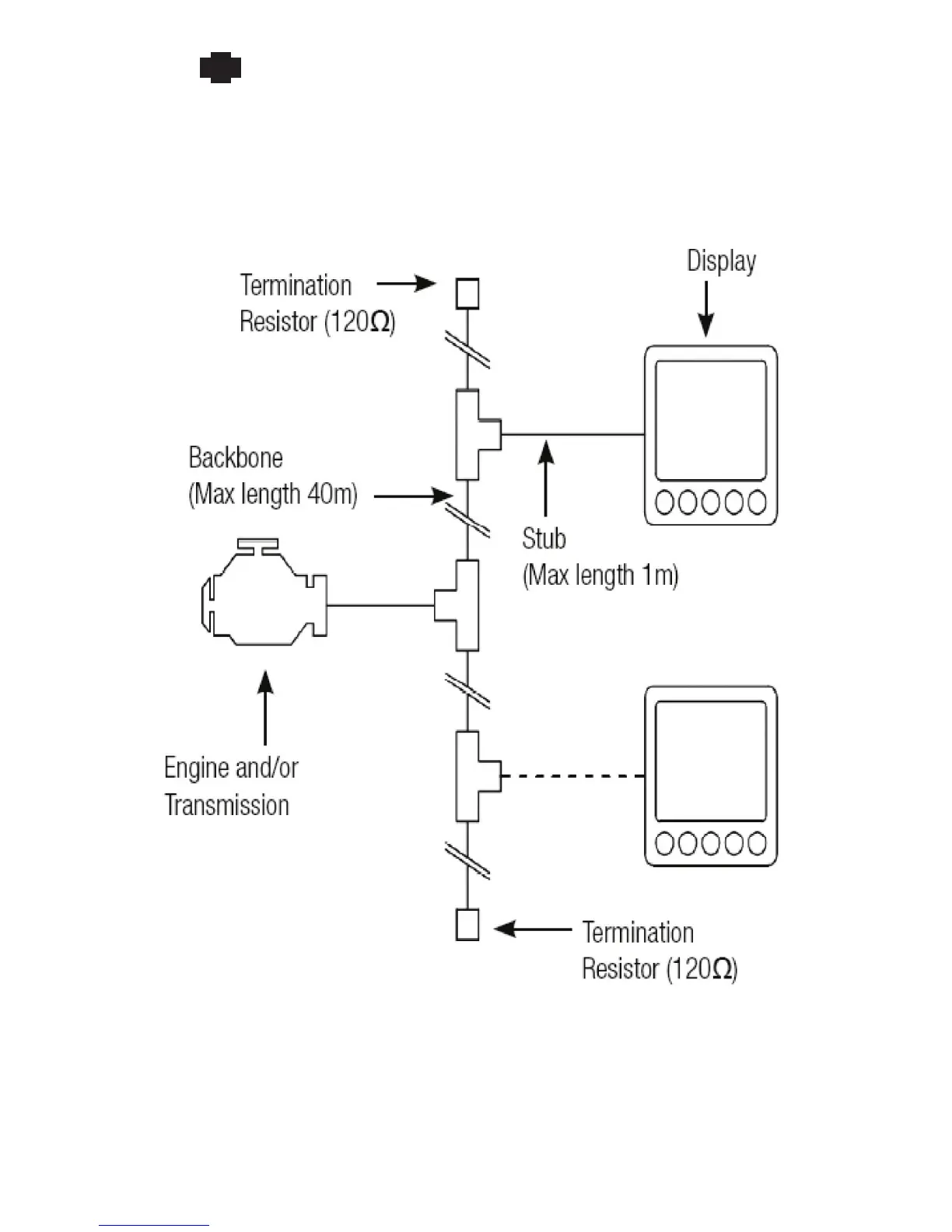
General J1939 Wiring Topology
Most electronically governed engine installations include a harness with built in J1939 backbone. Use
twisted shielded pair with a drain wire for CANbus wiring terminated with 120Ω resistors at each end.
The maximum length for the bus is 40 m (131 feet) and stubs should not exceed 1 meter (39 inches) in
length.

Related product manuals